工程资料管理流程
- 格式:pptx
- 大小:71.24 KB
- 文档页数:11
工程资料管理流程程序一、资料管理流程的制定资料管理流程的制定是指根据项目的具体需求和组织的实际情况,制定科学、合理的资料管理流程。
制定资料管理流程的具体步骤如下:1.明确资料管理流程的目标和任务;2.收集并评估项目的资料管理需求;3.制定资料管理流程的具体步骤和操作方法;4.组织相关人员对资料管理流程进行培训和宣传;5.不断优化和改进资料管理流程。
二、资料收集与整理资料收集与整理是指在项目实施过程中,及时收集、整理和归档项目相关的资料。
具体步骤如下:1.制定资料收集和整理的标准和方法;2.明确责任人和时间节点,确保资料的及时收集和整理;3.对收集到的资料进行分类和编号,确定存档位置。
三、资料归档与保管资料归档与保管是指对已经整理好的项目资料进行归档和妥善保管。
具体步骤如下:1.制定资料归档和保管的规范和标准;2.将整理好的资料按照规定的标准进行归档;3.建立安全可靠的资料保管措施,保证资料的完整性和机密性;4.制定资料借阅和归还的流程,确保资料的合理利用;5.定期对存档资料进行检查和整理,确保存档的及时性和准确性。
四、资料检索与利用资料检索与利用是指在项目执行过程中,及时检索和利用已经归档的资料。
具体步骤如下:1.制定资料检索和利用的规范和标准;2.建立便捷的资料检索系统,确保检索的准确性和及时性;3.制定资料利用的权限和流程,确保资料的合理利用;4.对资料的利用情况进行监督和评估,及时发现问题并进行改进。
五、资料存档与销毁资料存档与销毁是指对项目结束后的资料进行存档和销毁处理。
具体步骤如下:1.确定资料存档的期限和方式;2.对已经存档资料进行备份和加密处理,确保资料的安全性;3.制定资料销毁的标准和方法,确保销毁的彻底性和安全性;4.对存档的资料进行周期性检查和整理,确保存档的完整性和及时性。
总之,典型的工程资料管理流程包括资料管理流程的制定、资料收集与整理、资料归档与保管、资料检索与利用以及资料存档与销毁。
建设工程交工资料管理方案一、前言建设工程交工阶段是整个工程周期中的重要阶段,也是一个资料管理的重要环节。
在建设工程交工阶段,大量的资料需要进行整理、归档和管理,这些资料包括施工图纸、技术资料、质量检测报告、工程验收资料、施工合同、材料采购合同等。
良好的资料管理方案是保障建设工程质量和安全的重要保障。
在这一阶段,建设单位、施工单位、监理单位和设计单位都需要共同合作,进行资料管理工作。
为了更好地规范和管理建设工程交工资料,本文将提出一个建设工程交工资料管理方案。
二、资料管理流程资料管理流程是资料管理工作的重要环节,合理、高效的流程可以提高资料管理工作的效率。
建设工程交工资料管理流程一般包括以下几个环节:1. 资料整理阶段:在建设工程交工前,需要对整个工程的资料进行整理、归档,确保所有资料的完整性和准确性。
这一阶段需要建立资料整理小组,明确资料整理的标准和要求,制定资料整理计划,对所有相关资料进行清点、整理和编目,建立资料档案。
2. 资料审核阶段:在整理资料的过程中,需要对资料进行审核,确保资料的准确性和规范性。
这一阶段需要建立审核小组,对资料进行逐一审核,对不符合规定的资料及时处理,确保资料的质量和完整性。
3. 资料归档阶段:在资料整理和审核完毕后,需要对资料进行归档,建立资料档案。
这一阶段需要建立资料归档小组,明确资料归档的标准和要求,对资料进行分类、编目和整理,建立数字档案和纸质档案。
4. 资料管理和保管阶段:在资料归档完毕后,需要对资料进行管理和保管。
这一阶段需要建立专门的资料管理和保管部门,对资料进行管理和保管,制定资料的借阅和使用规定,确保资料的安全性和完整性。
5. 资料交接和验收阶段:在建设工程交工后,需要对工程资料进行交接和验收。
这一阶段需要建立交接和验收小组,明确资料交接和验收的标准和要求,对资料进行逐一验收,确保资料的完整性和质量。
三、资料管理原则资料管理原则是资料管理工作的基本原则,遵循这些原则可以提高资料管理工作的效率和质量。
工程资料管理流程一、概述工程资料管理流程是指对工程项目中产生的各类资料进行有效的组织、管理和利用的过程。
良好的工程资料管理流程可以确保项目的顺利进行,提高工程质量和效率,保证项目的可持续发展。
二、流程步骤1. 资料采集在项目启动阶段,需要采集与工程项目相关的各类资料,包括设计文件、合同文件、技术规范、施工方案等。
资料采集应该由专人负责,确保资料的完整性和准确性。
2. 资料分类采集到的资料需要按照一定的分类标准进行分类,例如按照工程阶段、资料类型、责任主体等进行分类。
分类的目的是为了方便后续的管理和利用。
3. 资料归档对分类后的资料进行归档,建立统一的档案管理系统。
每份资料都应该有惟一的编号,并记录在档案系统中。
档案系统可以采用电子化管理或者纸质档案管理,根据实际情况选择适合的方式。
4. 资料检索建立便捷的资料检索系统,使得需要某份资料时可以快速找到。
资料检索系统可以根据资料的编号、关键词、项目名称等进行检索。
同时,还可以建立索引和目录,方便用户查找资料。
5. 资料借阅对于需要借阅资料的人员,应该建立借阅流程。
借阅人员需要填写借阅申请单,并经过相关责任人的审批后方可借阅。
借阅的资料需要做好登记和记录,借阅期限到期后需要及时归还。
6. 资料更新随着工程项目的进行,可能会产生新的资料或者对原有资料进行修改。
对于新增的资料,需要按照同样的流程进行采集、分类、归档和检索。
对于修改的资料,需要进行版本控制,确保使用的是最新的版本。
7. 资料销毁对于一些过期或者无效的资料,需要进行及时的销毁。
销毁的资料应该经过相关责任人的审批,并按照规定的程序进行销毁,确保信息的安全性。
三、流程控制1. 责任分工在工程资料管理流程中,需要明确各个环节的责任人和责任范围。
每一个环节的责任人应该具备相关的专业知识和技能,并严格按照流程要求进行操作。
2. 流程监控建立监控机制,对整个工程资料管理流程进行监控和评估。
监控的方式可以包括定期检查、抽样检查、自查自评等。
工程技术部门资料与文件管理规定带流程一、总则1.为规范工程技术部门的资料与文件管理工作,提高工作效率和质量,特制定本管理规定。
2.本管理规定适用于工程技术部门的所有资料和文件的管理工作,包括纸质文件和电子文件。
3.所有人员都应严格遵守本规定,对于违反规定的行为,将依据公司相关规定进行处理。
二、资料与文件分类1.资料分类(1)技术资料:包括设计文件、施工方案、工艺文件等。
(2)项目资料:包括合同文件、并购文件、招投标文件等。
(3)运维资料:包括设备运行记录、维护保养记录、事故处理报告等。
2.文件分类(1)内部文件:仅在工程技术部门内部传阅和使用的文件。
(2)外部文件:需要与其他部门或外部合作单位共享的文件。
三、资料与文件的存储和归档1.纸质文件存储(1)纸质文件应统一编号,并按照资料分类进行归档。
(2)所有纸质文件应存放在专门的文件柜或文件箱中,严禁私自带离工作区域。
(3)纸质文件存档后,应制作档案目录,方便查阅和管理。
2.电子文件存储(1)所有电子文件应存储在专门的文件服务器中,按照资料分类进行归类。
(2)每个电子文件都需设置密码,仅限于授权人员可访问。
(3)定期进行电子文件备份,确保文件安全不丢失。
3.资料和文件的归档(1)根据文件保管期限制定的归档规定,对纸质文件进行归档。
(2)归档后的文件应标注清楚归档时间、保管期限和归档位置。
(3)对于电子文件,也应根据保管期限进行归档,将不再需要的文件进行删除或归档存储。
四、资料与文件的查阅和借阅1.内部查阅(1)内部人员可凭工作需要,在工作时间内查阅本部门的资料和文件。
(2)查阅后应及时归还,并保证资料和文件的完好无损。
(3)对于涉密资料和文件,必须严格控制查阅权限,做好查阅记录。
2.外部借阅(1)外部人员需提出书面申请,说明借阅目的和期限。
(2)经批准后,方可借阅,但不得将资料和文件带离公司办公区域。
(3)借阅期限一般不超过一个月,逾期需重新申请。
工程资料管理流程一、资料管理计划编制阶段:1.确定资料管理目标和要求:根据工程项目的具体情况和要求,确定资料管理的目标和要求,包括资料管理的范围、要求、流程和绩效指标。
2.编制资料管理计划:根据资料管理目标和要求,编制资料管理计划,包括工程项目的资料组织、存储、传递、维护和销毁等方面的内容。
3.制定资料管理制度:制定资料管理的各项制度和规定,包括资料的命名规范、编号规范、存储规范和访问权限等。
二、资料管理实施阶段:1.资料收集与备案:根据资料管理计划,收集工程项目相关的资料,并按照规定的流程进行备案,包括确定资料的归属单位、存储位置和访问权限等。
2.资料组织和存储:对收集到的资料按照一定的组织方式进行分类和整理,设置合理的档案目录,建立电子档案库,并按照规定的存储方式进行存储和备份,确保资料的安全性和完整性。
3.资料传递和利用:根据资料的需要和使用权限,按照规定的流程进行资料的传递和利用,确保资料能够被需要的人员及时获取,并能够用于工程项目的决策和管理。
4.资料维护和更新:定期对存储的资料进行维护和更新,包括对资料进行修缮、整理、清理和更新,确保资料的可读性和有效性。
5.资料销毁和档案封存:对于不再需要的资料,按照规定的流程进行销毁,并做好销毁记录,对于需要封存的资料,进行封存并制定相应的封存规定和管理措施。
三、资料管理评估和改进阶段:1.资料管理绩效评估:根据资料管理目标和要求,对资料管理的绩效进行评估,包括资料的完整性、准确性、及时性和安全性等方面的评估,并制定改进措施。
2.资料管理改进措施:根据资料管理绩效评估的结果,确定改进措施,包括改进资料管理的制度和规定、改进资料管理的流程和方法等,以提高资料管理的效果和效率。
3.资料管理培训和宣传:针对资料管理的重要性和方法,进行培训和宣传,提高相关人员对资料管理的认识和理解,增强资料管理的意识和自觉性。
通过以上的工程资料管理流程,能够有效地提高工程项目的资料管理效率和效果,确保工程项目能够按时、按质、按量完成,并能够为工程项目的决策和管理提供可靠的依据。
程从进场到竣工资料报验的一般程序1、施工组织设计(方案)报审2、图纸会审记录3、技术(安全)交底4、开工报告5、管理人员名单6、各类材料报验7、设计变更8、现场签证9、隐蔽报验10、检验批报验11、分项工程报验12、分部工程报验13、单位工程报验14、竣工报告其中6-8穿插在整个工程的施工过程中资料整理及上报顺序:(一)进场伊始工程技术文件报审表表附施工组织设计分包单位资质报审表表附企业资质项目管理人员名单附资格证书复印件与甲方办理进场手续、签定安全协议内部资料整理施工队伍人员名单附身份证复印件及特殊工种上岗证复印件对施工队进行现场及书面的安全、技术交底并存档.技术资料将经设计签认的图纸存档作为施工的依据。
(随时存档图纸的变化)工程合同及施工队的合同招投标文件中标通知书。
按需要与施工队签定协议作为对合同的补充并存档要求甲方提供书面的控制线交底、和安装的技术交底并存档.(二)材料进场工程物资进场报验表附材料构配件进场检验记录、产品合格证、检测报告等内部资料材料进场的票据、进场时间、数量、经手人记录存档材料的产品合格证、检测报告等及时的追索并要求证明文件的有效(如出具的时间、时效、有否单位盖章)工程安装报验工程样板报验如有要求可自制表格署明位置、报验内容、时间等分项/分部工程施工报验表按要求附隐蔽工程检查记录、检验批质量验收记录表等交接检查记录与上下道工序相关单位进行试验、检测三性检测、拉拔试验、探伤、胶的相容性试验等。
工程施工流程及资料管理是确保工程顺利进行和质量达标的重要环节。
本文将详细介绍工程施工流程及资料管理的内容和注意事项。
一、工程施工流程1. 合同签订后,确定施工队伍和公司的现场管理人员,向甲方索要详尽的施工图纸,并仔细勘察了解施工现场状况。
2. 书面向甲方提出我方进场前应具备的条件及要求,包括总进度计划、最终版施工蓝图及电子版图、确定图纸会审时间。
3. 根据合同约定的工期,公司现场管理人员和施工人员一起进一步确定施工计划和施工进度。
4. 熟悉图纸内容,现场管理人员与施工方共同结合会审记录及材料优化方案,了解图纸变更内容并重新核定成本。
5. 公司和施工方签订劳务承包合同,进一步明确双方的权利和义务。
6. 收到进场通知后,核实施工作业面、临设场地及加工场地并及时与甲方沟通,确定最终进场时间。
7. 与总包签订分包协议及安全文明施工协议。
8. 确定综合施工方案并报送甲方。
9. 公司内部综合交底,包括合同关键项、其他单位人员背景及注意事项。
10. 施工过程中,按照施工计划和施工方案进行施工,确保工程质量和进度。
11. 施工完成后,组织验收,确保工程符合设计和规范要求。
12. 工程竣工后,进行资料整理和归档,备份相关资料。
二、资料管理1. 工程资料整理与报审的流程包括:基本流程、建设项目投资决策流程、建设项目设计阶段工作流程、建设项目准备阶段工作流程、项目管理基本流程、招投标基本流程、合同签订流程、施工准备流程、项目风险管理与信息管理流程、工程项目监理工作基本流程等。
2. 工程资料的整理要求:资料应真实、完整、准确、清晰,分类有序,便于查阅。
3. 资料报送的时机:在相应的阶段完成后,及时向甲方、监理和相关部门报送相关资料,确保工程顺利进行。
4. 资料的保管:对重要的工程资料进行归档保管,防止资料丢失或损坏。
5. 资料的更新:随着工程的进展,及时更新和完善资料,确保资料的时效性和准确性。
总之,工程施工流程及资料管理是确保工程顺利进行和质量达标的重要环节。
第1篇一、前言工程资料管理是工程项目的重要组成部分,它直接关系到工程项目的质量、进度和成本。
为了确保工程资料的真实性、完整性和安全性,提高工程管理水平,特制定本工程资料管理方案。
二、工程资料管理的目标1. 确保工程资料的真实性、完整性和准确性,为工程项目的决策、施工、验收和运维提供可靠依据。
2. 提高工程资料的管理效率,缩短工程资料处理周期,降低工程成本。
3. 建立健全工程资料管理制度,规范工程资料收集、整理、归档和利用流程。
4. 保障工程资料的安全,防止资料丢失、损坏和泄露。
三、工程资料管理的原则1. 全面性原则:工程资料管理应覆盖工程项目全生命周期,包括前期、设计、施工、验收和运维等阶段。
2. 系统性原则:工程资料管理应形成一套完整的体系,包括制度、流程、方法和工具等。
3. 保密性原则:对涉及国家秘密、商业秘密和个人隐私的工程资料,应采取严格的保密措施。
4. 可持续性原则:工程资料管理应遵循可持续发展的理念,注重资源的合理利用。
四、工程资料管理的组织架构1. 工程资料管理领导小组:负责工程资料管理的整体规划、组织协调和监督检查。
2. 工程资料管理部门:负责工程资料的具体管理工作,包括收集、整理、归档和利用等。
3. 工程资料管理人员:负责工程资料的具体操作,包括收集、整理、归档和利用等。
五、工程资料管理的内容1. 工程资料分类:根据工程项目的特点,将工程资料分为以下类别:(1)前期资料:可行性研究报告、设计文件、招投标文件等。
(2)设计资料:设计图纸、设计变更、施工图等。
(3)施工资料:施工组织设计、施工方案、施工记录、质量检验报告等。
(4)验收资料:竣工验收报告、竣工图纸、工程质量评估报告等。
(5)运维资料:运维记录、设备清单、维修保养记录等。
2. 工程资料收集:按照工程资料分类,收集相关资料,确保资料的真实性、完整性和准确性。
3. 工程资料整理:对收集到的工程资料进行分类、归档,确保资料的有序性和可查找性。
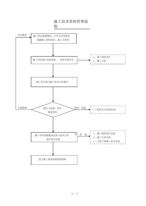
施工技术资料管理流程施工物资资料管理流程检验批质量验收流程分项工程质量验收流程图子分部工程质量验收流程图子分部工程验收文件:1、施工管理资料2、施工技术资料3、施工测量记录4、施工物资资料5、施工记录6、施工试验记录7、分项工程质量验收记录《分部(子分部)工程质量验收记录表》《分项/分部工程施工报验表》形成同一子分项工程的全部分项工程分部工程质量验收流程图同一分部工程的子分部工程施工完成并验收通过第2个)同一分部工程的子分部工同一分部工程的全部子分部工程完施工单位自检形成合格、报监理分部工程验收文件:1、施工管理资料 2、施工技术资料 3、施工测量记录 4、施工物资资料 5、施工记录6、施工试验记录 7、子分部工程质量验收记录下一个分部工程质量验收流程工程验收资料管理流程图同一单位(子单位)工程的全部分部工程施工完成《单位(子单位)工程质量控制资料核查记录》《单位(子单位)工程安全和功能检验资料核查及主要功能抽查记录》《单位(子单位)工程观感质量检查记录》《单位工程竣工预验收报验表》工程档案预验收合格形成《建设工程竣工档案预验收意见》(城建档案馆)1、《工程质量检查报告》(勘察单位)2、《工程质量检查报告》(设计单位)3、《工程质量评估报告》(监理单位)4、《工程竣工报告》5、《工程竣工验收报告》6、《单位(子单位)工程质量竣工验收记录》《竣工移交交证书》(监理单位)。
工程资料管理流程程序一、工程资料管理流程:1.资料收集阶段:在项目启动阶段,项目经理会建立一个项目资料收集的目录,并逐一列出需要收集的资料清单。
然后,项目团队成员以及相关部门负责人将会根据清单,逐一收集所有相关的文件。
2.资料归档阶段:当项目资料收集完成后,项目团队将对这些文件进行归档。
首先,根据文件的性质和用途,对文件进行分类。
然后,项目团队会为每个文件分配一个唯一的编号,并将其存储在指定的文件夹中。
3.资料存储阶段:归档完毕后,项目团队要确保文件的存储安全和易用性。
可以建立一个专门的文件存储库,并制定一套标准的文件命名方式和存储规则。
这样可以确保文件的易查找性和定位性,以便在需要的时候能够快速找到相关文件。
4.资料传递阶段:在工程项目进展的过程中,不同的成员和部门之间需要进行文件的传递和共享。
为了确保文件的准确传递和及时传递,可以使用电子邮件、文件共享软件以及会议等方式,将文件传递给相关人员。
5.资料备份阶段:为了防止文件的丢失或损坏,需要对文件进行定期备份。
可以建立定期备份的计划,并使用外部存储设备或云存储服务进行备份。
同时,还要对备份文件进行管理,确保备份的完整性和可用性。
6.资料销毁阶段:在工程项目结束后,对于废弃的或不再需要的文件,需要进行及时的销毁。
可以制定一套文件销毁的规定,并确保按照规定进行销毁。
同时,还要确保销毁的文件不会对项目和组织带来任何损失。
二、工程资料管理程序:1.建立资料管理制度:在项目启动阶段,项目经理要制定一套完整的工程资料管理制度,明确资料的收集、归档、存储、传递、备份和销毁等各个环节的要求和规范。
2.制定资料管理流程:根据项目的实际情况,制定一套完整的工程资料管理流程,包括资料收集、归档、存储、传递、备份和销毁等各个环节的具体步骤和操作流程。
3.实施资料管理:项目团队成员要按照资料管理制度和流程,严格执行资料管理的各项要求和规定。
需要清楚每个环节的具体责任人,并确保各个环节的协调和配合,确保文件的及时和正确处理。
(完整版)工程资料管理流程、程序工程内业资料管理流程1、总则1.1为了使恒旭置地在建工程资料管理规范化、标准化,实施此流程制度。
工程资料是工程的重要组成部分,工程资料的形成过程是个逻辑性、综合性强的工作,它不同于实体工程的感官化,但工程资料的含金量却比实体工程量更重,因为不管在工程的哪个阶段,它都将是反应一个工程质量安全的重要依据,特别是在工程竣工后,工程资料更是整个工程竣工验收的重要节点。
2、适用范围置地公司在建工程各项目公司(部)资料管理工作。
3、各责任主体职责3.1资料管理人员及岗位职责3.1.1资料管理组织机构为有序的进行资料管理,真实反映工程实体情况,项目部设置专职部门进行资料管理,并设专职负责人员执行操作。
资料管理部门为资料室,设内业资料管理人员。
3.2资料负责人员职责3.2.1项目经理岗位职责(资料方面)3.2.1.1项目经理是工程资料管理的主要责任人,对工程资料的全过程进行监督管理;3.2.1.2定期组织相关人员进行资料管理的学习,提高整体资料管理水平。
3.2.1.3指导各个相关部门负责人对资料的管理工作,保证资料与工程进度司步。
3.2.1.4定期对工程资料进行检查,召开资料检查分析会议,及时分析及处理检查过程中发现的问题。
3.2.2技术负责人岗位职责(资料方面)3.2.2.1协助项目经理搞好资料管理工作,是资料的工作的重要责任人。
3.2.2.2检查资料填写是否正确,规范。
3.2.2.3收集所有相关资料,及时与各个部门进行沟通,掌握工程的第一手资料。
3.2.2.4各种洽商、施工方案、审批文件及时进行办理。
3.2.3工长岗位职责(资料方面)3.2.3.1协助资料员收集工程资料,及时将工程中发生的资料递交资料员。
3.2.3.2建立施工日志,准确记录各种原始施工数据并整理成册,妥善保管。
3.2.3.3保证工程资料的及时性,做到每道工序报验前相关资料准备齐全。
3.2.4资料室岗位职责3.2.4.1资料员是整个资料工程的核心责任人,是在项目经理指导下开展工作,负责施工资料的管理工作。
工程部资料管理制度流程第一章总则第一条为规范工程部资料管理工作,保证施工过程资料的有效管理,提高资料利用效率,减少工作量,现制定本制度。
第二条本制度适用于公司工程部门内的所有资料管理工作,包括施工图纸、设计文件、合同文书、施工记录等各类资料。
第三条工程部资料管理应坚持保密原则,遵循合法合规、安全可靠、高效便捷的原则,确保资料管理工作的顺畅进行。
第四条工程部资料管理由资料管理员及相关人员共同负责,确保资料的准确归档、及时更新、完整存档。
第二章资料管理流程第五条工程部资料的管理应按照以下流程进行:一、资料归档1. 施工图纸、设计文件等各类资料应按照项目进行归档,建立项目文件夹,明确项目名称、项目编号、日期等信息。
2. 将归档好的资料进行编号、档案号等标识,方便查找和管理。
二、资料更新1. 工程部资料应定期进行更新,包括项目进展、工程设计变更、施工记录等。
2. 更新后的资料应及时替换原始资料,确保资料的准确性和实时性。
三、资料存档1. 完成工程后,工程部应对所有资料进行存档,建立档案袋或存储在电脑数据库中。
2. 存档的资料应做好备份,并保证资料的完整性和安全性。
四、资料借阅1. 工程部人员可以根据需要向资料管理员申请借阅资料,需填写借阅申请表,经资料管理员同意后方可借阅。
2. 借阅资料应保证资料的完整性和安全性,借阅后应及时归还。
第六条工程部资料管理流程需严格执行,确保每个环节都能顺畅进行,做到规范管理、方便查阅、确保安全。
第三章资料管理责任第七条工程部各相关人员应按照相应职责履行资料管理工作,具体责任如下:一、资料管理员1. 负责管理和维护工程部资料,包括归档、更新、存档、借阅等工作。
2. 制定并实施资料管理制度,监督资料管理流程的执行情况。
二、项目负责人1. 负责项目资料的整理和归档工作,确保项目资料的完整性和准确性。
2. 协助资料管理员进行资料的更新和存档工作。
三、工程部人员1. 根据工作需要,积极参与资料管理工作,认真执行资料管理流程。
建筑工程施工资料管理规程第一章总则第一条为规范建筑工程施工过程中的资料管理工作,提高工程质量和施工效率,确保工程顺利进行,特制定本规程。
第二条本规程适用于所有建筑工程的施工过程中资料管理工作,包括施工图纸、施工设计、施工方案、验收资料、竣工资料等。
第三条本规程的制定、修改和解释由工程项目部负责,具体执行由施工单位和监理单位共同负责。
第四条施工单位应当根据本规程的要求,建立和完善资料管理制度,指导施工过程中的资料管理工作。
第五条监理单位应当加强对施工单位资料管理工作的监督和检查,发现问题及时提出整改意见。
第二章资料管理原则第六条施工单位和监理单位应当遵循“规范性、及时性、完整性、真实性、保密性”的原则,做好施工过程中的资料管理工作。
第七条资料应当按照规定的格式进行整理和归档,确保资料的准确性和完整性。
第八条施工单位和监理单位应当及时更新施工资料,保证施工过程中的资料应用是最新的。
第九条施工单位和监理单位应当保护好工程施工过程中的所有资料,确保资料的保密性,防止泄露。
第十条施工单位和监理单位应当根据实际需要,合理利用和管理施工资料,提高工程施工效率。
第十一条施工单位和监理单位应当建立健全的资料管理制度,确保施工过程中的资料管理工作有序进行。
第三章资料管理工作流程第十二条施工单位在施工前应当对相关的资料进行全面梳理和整理,确保施工开始前的资料准备工作完善。
第十三条施工单位在施工过程中应当及时记录工程进度、质量控制、安全管理等相关资料,并按要求进行归档。
第十四条施工单位在施工结束后应当对竣工资料进行全面核查和整理,形成完整的竣工资料档案。
第十五条监理单位应当对施工单位的资料管理工作进行监督和检查,发现问题及时提出整改意见。
第四章相关要求第十六条施工单位应当建立健全的资料管理档案室,定期进行资料整理和归档工作。
第十七条监理单位应当建立健全的监督机制,加强对施工单位资料管理工作的监督和检查。
第十八条施工单位和监理单位应当建立信息共享机制,及时互通施工过程中的相关资料。
工程信息管理工作程序工程信息管理工作程序一、前期准备阶段1.明确项目目标和需求,确定项目的规模、时间进度和预算,并与相关部门进行协商和沟通。
2.收集项目相关的资料和信息,包括项目设计图纸、施工方案、合同文件等,并进行归档备案。
3.建立工程信息管理系统,包括项目资料的收集、整理和存档,以及信息的查询和管理。
二、项目实施阶段1.根据项目进度和工程方案,制定工程信息管理的具体操作流程和工作计划,并进行相关人员的培训和指导。
2.对项目的进展情况进行监控和跟踪,及时收集和汇总项目的实际情况和进展,在项目变更或延期时及时更新相关信息。
3.对工程施工质量进行监督和检查,及时记录和反馈质量问题,并进行整改和追踪。
4.定期召开项目会议,与项目各方沟通和协调工作,解决项目中的问题和难题,确保项目按时按质完成。
三、项目结束阶段1.进行项目的总结和评估,收集和整理项目实施过程中的经验和教训,提出改进措施和建议,并进行文件的归档和保存。
2.编写项目的成果报告,并向相关部门进行汇报和交接。
3.对项目的收尾工作进行管理和跟进,包括工程的验收和结算,合同的结算等,并进行相关记录和存档。
四、工程信息管理的具体工作内容和要求1.完成项目信息管理系统的建设和维护,包括建立项目数据库、编制项目标准和规范、制定操作指南等。
2.负责项目资料的收集、整理和归档工作,包括项目设计图纸、施工计划、合同文档等,并进行编号和存档。
3.跟踪和汇总项目实施的相关信息,包括工程进度、质量、安全等,并及时更新和反馈相关部门。
4.协调项目各方的工作,解决工程中的问题和难题,确保项目的顺利进行。
5.定期召开项目会议,进行项目的跟进和协调工作,及时沟通和解决问题。
6.编写项目的报告和汇报材料,向有关部门进行项目的报告和交接。
7.负责项目的收尾工作,包括工程验收和结算等,以及项目的总结和评估。
五、工程信息管理的注意事项1.信息的准确性和及时性是工程信息管理的首要要求,所以需要做好信息的质量控制和数据的更新。
北京建筑工程资料管理规程一、规程目的本规程旨在规范北京市建筑工程资料的管理工作,确保资料的完整、准确、安全和高效管理。
二、适用范围本规程适用于北京市所有建筑工程项目的资料管理工作。
三、管理责任1. 项目经理负责组织实施资料管理工作,并对工程资料的完整性和准确性负责。
2. 资料管理员负责具体的资料管理工作,包括资料的收集、整理、存储、检索等。
3. 各参建单位的项目负责人要积极配合资料管理工作的实施,并负责本单位的资料管理工作。
四、资料管理流程1. 资料的收集:在工程施工过程中,各参建单位需按照约定的格式和标准,及时收集相关资料。
2. 资料的整理:收集到的资料需按照分类进行整理,确保资料的归档有序。
3. 资料的存储:资料管理员需建立详细的资料目录和档案,确保资料的存储安全。
4. 资料的检索:资料管理员要根据需要,及时提供需要检索的资料,并确保资料的准确性。
5. 资料的借阅:对于需要借阅的资料,需进行登记和备案,并确保借阅资料的返还和安全。
五、资料管理制度1. 资料管理制度应明确工程各阶段的资料要求和管理执行标准。
2. 资料管理制度应规定资料的分类标准和分类代码,方便资料的整理和检索。
3. 资料管理制度应规定项目废料的处置流程,以及涉密资料的保密措施。
六、资料管理的技术支持1. 资料管理系统的建立和维护。
2. 电子档案的建立和管理。
3. 其他辅助工具的应用。
七、资料管理的监督与考核1. 监督机构应定期对资料管理工作进行检查,发现问题及时予以整改。
2. 资料管理工作应作为项目考核的内容之一,绩效考核结果与资料管理工作的质量和效率挂钩。
八、违规处理对于违反本规程的资料管理行为,将采取相应的纪律处分措施,严重情况将依法追究责任。
九、附则本规程自发布之日起执行,如有需要修改的,经相关部门批准后进行修订。
工程资料管理流程一、项目启动阶段:1.制定资料管理计划:确定资料管理的目标、原则、核心要素和流程,明确资料管理的责任部门和人员,以及相关的管理制度和工具。
2.建立资料管理档案:建立项目资料管理的档案,包括项目文件、工程图纸、技术协议、合同等相关资料。
3.制定资料管理规定:制定和发布资料管理的规定,明确各部门的职责和要求,确保资料的完整、准确和安全性。
4.建立资料管理系统:建立一个统一的资料管理系统,包括数据库、云存储等,以方便资料的存储、查找和共享。
5.制定资料管理流程:根据项目的需要,制定与资料管理相关的工作流程和流转要求,明确资料的进出、存储、归档等过程。
二、执行阶段:1.资料收集和整理:根据项目需求,组织相关人员进行资料的收集和整理,包括文件、图纸、报表等。
2.资料审核和核实:对收集到的资料进行审核和核实,确保其准确、完整和符合要求。
3.资料存储和备份:将审核通过的资料存储到统一的系统中,并定期进行备份,以防意外丢失。
4.资料归档和管理:对已存储的资料进行归档和管理,按照一定的规则和分类进行管理,确保资料的易查找和易读取。
5.资料共享和传递:将需要共享的资料通过系统进行共享,确保项目组内的各个成员可以方便地获取和使用相关资料。
三、项目结束阶段:1.完善资料档案:对整个项目的资料进行整理和归档,确保资料的完整性和可用性。
2.提交项目报告:根据项目要求,编写项目报告,并将相关的资料提交给项目管理部门和相关部门。
3.整理和清除资料:对项目相关的无用和无效资料进行清理和整理,为后续的项目和流程提供空间。
4.汇总和总结经验:根据项目的经验和教训,进行总结和汇总,为以后的项目提供参考和借鉴。
以上是一个标准的工程资料管理流程,通过规范和管理项目中的各种资料,可以提高项目的效率和质量,并确保项目的顺利进行和顺利结束。
在实际应用中,可以根据项目的具体要求进行调整和优化。
工程资料报审管理流程一、工程技术文件报审流程二、工程物资进场报审流程(Ⅱ、Ⅲ类物资)三、工程报审流程四、土建施工资料、试验管理流程(基础工程)30天内)3天)天内)30天内)))① 预检记录C5-1-2(责任人:施工员;完成时间:基础底板砼浇灌前)②质量评定(责任人:施工员;完成时间:基础底板砼浇灌前)③分项报验C7-1(责任人:质检员;完成时间:基础底板砼浇灌前)⑴商砼 ①合格证(责任人:试验员;完成时间:基础底板砼浇灌45天内)②碱含量计算书及碱含量检测报告(责任人:试验员;完成时间:基础底板砼浇灌前)⑵自拌砼 同垫层①开盘鉴定(≥C40或特种砼)(责任人:试验员、搅拌站等;完成时间:砼开盘时)②砼抗压试验报告(见证)C6-3-5(责任人:试验员;完成时间:基础底板砼浇灌30天内) ③砼抗渗试验报告C6-3-6(责任人:试验员;完成时间:基础底板砼浇灌90天内)) ④同条件试块C6-3-5(按工程实际需要留置) (责任人:试验员;完成时间:与施工同步) ⑤其它同垫层①合格证(责任人:资料员;完成时间:物资进场时)②进场物资验收记录C3-2(责任人:资料员;完成时间:施工前)③隐检记录C5-1-1(责任人:施工员;完成时间:施工缝处理前)同基础底板同基础底板同基础底板同基础底板(责任人:施工员;完成时间:顶板钢筋前)同基础底 (责任人:施工员;完成时间:顶板放线前)同基础底 (责任人:施工员;完成时间:顶板施工缝处理前)………隐检记录C5-1-1(责任人:施工员;完成时间:回填土前)①取点平面图(责任人:技术副经理;完成时间:回填土前)②土工击实试验报告C6-3-3(责任人:试验员;完成时间:回填土前) ③回填土干密度试验报告C6-3-2(责任人:试验员;完成时间:与施工同步)①见证汇总②砼强度统计、评定记录C6-3-11 ③分项评定汇总④基础工程验收记录C7-2-2 ⑤竣工图说明:一、①项目大事记C1-3②进度计划分析C1-3 与施工同步 ③施工日志C1-4二、若分段,按流水段处理。