工程档案移交工作流程图
- 格式:doc
- 大小:54.00 KB
- 文档页数:2
建设单位办理工程档案归档工作流程图城市建设档案案卷质量规定为加强城市建设档案(以下称城建档案)管理,提高案卷质量,更好地为城市建设服务,根据国家技术监督局发布的《科学技术档案案卷构成的一般要求》(GB/T1182-89)和有关规定特定本规定。
1、主题内容与适用范围本规定规定了城建档案的组卷、排列、编目、卷皮规格及其制成材料的质量要求。
适用于普通纸质城建档案的案卷管理。
某些特殊形式城建档案的案卷管理,可参考本规定。
2、名词术语2.1城建档案是指在城市建设活动中形成的具有保存价值的文字、图表、声像、等不同形式和载体的城建文件材料。
2.2城建文件材料是记录和反映城市建设活动的文字、图表、声像等文件材料的总称。
2.3案卷是由一组具有有机联系、价值大体相同的城建文件材料组合而成的一种档案保管单位。
2.4卷内目录是案卷内登记文件材料及其排列顺序的目录。
主要项目有序号、文件编号、文件材料题名、责任者、总页数、页次、备注等。
2.5卷内备考表是用以记载和说明归档前、后案卷内文件材料基本情况的表格。
主要项目有本卷总页数(文字材料、图纸数、照片数)、说明、立卷人、日期等。
2.6分类号2.7档号、档案的编号,包括分类号和案卷号。
2.8档案馆代号2.9缩微号2.10项目代号3、组卷要求3.1组卷要遵循城建文件材料的形成规律,保持案卷内城建文件材料的系统联系,并便于档案保管和利用。
3.2城市规划、管理、建设工程、科研项目文件材料应按专业性质、结构、阶段等分别组卷。
3.3进城建档案馆的文件材料应是原件。
3.4案卷内城建文件材料必须齐全完整并有完备的签章手续。
3.5案卷同城建文件材料必须准确反映城市规划、建设、管理等活动的真实内容。
3.6案卷内文件制作和书写材料必须能够长期供存。
3.7卷内文件材料书写字迹要工整,图样整洁,线条清晰。
3.8案卷不宜过薄或过厚,一般以厚15mm左右为宜。
4、案卷内城建文件材料的排列4.1科研课题文件材料按形成时间排列,即按准备阶段。
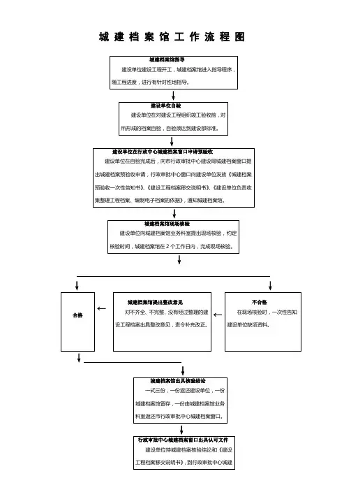
工程档案移交工作流程图城建档案馆优化服务工作档案报送单位移交工作法律、法规、行业国标依据城建档案馆对建设工程档案形成单位的提供档案业务指导服务建设单位在办理建设工程施工许可证前,在报建窗口领取城建档案馆发放的《建设工程档案报送告知书》,了解工程档案移交内容、移交期限、有关要求、双方责任等。
法规指导依据:国家行业标准《城建档案业务管理规范》(CJJ 158-2011)建设单位可以在海口市城建档案信息网站(网址:)下载建设工程文件移交清单,并按文件归档内容档案报送建设单位应当严格按照国家有关档案管理的规定,及时收集、整理建设项目各环节的文件资料,建立、健全建设项目档案,并在建设工程竣工验收后,及时向城建档案馆移交建设项目档案。
在工程建设过程中形成的各种形式的信息记录,包括工程准备阶段文件、监理文件、施工文件竣工图和竣工验收文件等《建设工程质量管理条例》(国务院279号令)和《建设工程文件归档规范》(GB/T 50328-2014)城建档案馆对建设工程档案形成单位进行业务指导提供咨询服务;在建设工程竣工验收前,对建设工程档案进行预验收,审核其内在质量是否符合要求(包括是否是原件,文件是否齐全、内容真实、准确与工程实际相符,符合现行有关专业技术标准规定等)。
出具检查意见反馈建设单位列入城建档案馆档案接收范围的工程,建设单位在组织竣工验收前,应当提请城建档案馆对工程档案进行预验收。
凡建设工程档案不齐全的和不符合质量要求的,应当限期补充、整改《城市建设档案管理规定》(根据2001年7月4日建设部令第90号《建设部关于修改〈城市建设档案管理规定〉的决定》修正,根据2011年1月26日住房和城乡建设部令第9号《住房和城乡建设部关于废止和修改部分规章的决定》第二次修正)。
验收工程档案质量指导国家行业标准:《建设工程文件归档规范》(GB/T50328- 2014)城建档案馆为档案形成单位在档案规范整理方面提供业务技术咨询服务。
建设工程档案资料归档流程、内容及要求来源:浙江工业大学校园建设处发布时间:2010-3-14 阅读次数:109建设工程档案资料归档流程、内容及要求一、流程图二、归档内容1 、前期文件:序号内容1 项目建议书及审批意见、前期工作通知书2 可行性研究报告(含附件)及审批意见3 关于立项有关的会议纪要、领导讱话文件4 调查资料及项目评估研究材料、专家建议5 建设项目选址意见书(含勘设红线图)6 用地呈报表、用地批准书等过程文件材料7 划拨、出让建设用地文件(土地划拨决定书、出让合同及过程文件材料)8 建设用地觃划许可证、附件及附图、国有土地使用证(复印件)9 拆迁安置文件(意见、协议、方案等)10 工程、水文地质勘察报告11 勘测定界(征地放样)、宗地测绘成果资料、定位、±0.00 检测略图12 景观、日照分析13 方案、初步设计(文本)及批复文件(含附图)14 有关行政主管部门(消防、人防、环保、环评、交通、交评、园林、市政、文物、抗震、教育、卫生等)批准文件或取得的有关协议15 施工图设计审查文件及审批意见16 建设项目列入年度计划的申报、批复文件、年度计划项目表17 建设工程觃划许可证、附件及附图18 投资许可证、审计证明、人防、基础设施配套、散装水泥、墙改、白蚁防治(含合同)等觃费证明、质量安全监书、保函等19 建设工程施工许可证2、招投标文件:序号内容备注1 招标公告2 投标申请人汇总名单3 投标资格预审报告及附件4 招标文件5 招标答疑6 开标记录7 评标表格及报告8 决标报告9 中标人投标文件(技术、商务标、资格后审)10 中标通知书11 投诉举报书、举报接收、处理往来函件等处理资料12 勘察合同13 设计合同14 施工承包合同15 监理委托合同16 其他工程合同(如甲方分包合同、甲供主材合同)3、监理文件:序号内容备注1 监理觃划2 监理实施细则3 监理月报4 监理会议纪要5 工程开工/复工报审表、工程暂停令6 监理通知书、通知回复单、质量事敀报告及处理意见7 工程竣工决算审核意见书8 工程延期报告及审批9 合同变更、争议、违约材料及处理意见10 监理工作总结4、施工文件:序号内容备注1 开、竣工报告2 施工现场质量管理检查记录3 工程测量定位记录、建筑物沉降观察测量记录4 图纸会审5 设计变更、洽商记录及汇总表6 工程质量事敀及事敀调查处理资料7 新材料、新工艺施工记录8 节能分部资料⑴保温材料出厂合格证、推广证书、检验报告及复试试验报告⑵隐蔽工程验收记录⑶建筑节能工程现场实体检验报告(现场墙体、屋面传热系数;窗传热系数;现场窗气密性;外墙节能构造等)⑷其它资料9 .钢材、水泥、砖、预制构件、预拌混凝土、焊接、防水、装饰及其他材料汇总表、出厂证明文件、复试试验报告10 施工试验报告及见证检测报告(如:混凝土、砂浆试块抗压强度试验报告、混凝土抗渗试验报告、钢材焊接试验报告等)11 地基基础隐蔽工程验收记录12 施工记录(如:混凝土施工日记、技术复核记录、基础验槽等)13 地基基础检验及抽样检测资料14 地下室防水敁果检查记录15 中间结构验收记录16 单独归档的子分部施工资料(如:桩基子分部)⑴桩基开工报告、交工验收证书⑵桩基工程钢材、水泥、砖、预制构件等材料汇总表、出厂证明文件、复试试验报告⑶混凝土、砂浆试块抗压强度及钢材焊接试验报告⑷打(试)桩记录⑸隐蔽工程验收记录⑹桩位复核记录、桩位偏差记录⑺桩基检测报告(含静载、动测)⑻桩位竣工图⑼其它资料17 主体施工试验报告及见证检测报告18 建筑物垂直度、标高、全高测量记录19 主体隐蔽工程验收记录20 主体施工记录(如:混凝土施工日记、技术复核记录等)21 主体结构检验及抽样检测资料22 主体中间结构验收记录23 单独归档的子分部施工资料(如:钢结构子分部)⑴材料、配件出厂合格证、进场检(试)验报告⑵钢结构检验及抽检报告⑶隐蔽工程验收记录⑷施工记录⑸其它资料24 装饰装修施工试验报告及见证检测报告(门窗、干挂、抗拔)25 有防水要求的地面蓄水试验记录26 装饰装修隐蔽工程验收记录27 抽气(风)道检查记录28 装饰装修施工记录(如:混凝土施工日记、技术复核记录等)29 幕墙及外窗气密性、水密性、耐风压检查报告30 单独归档的子分部施工资料(如:幕墙子分部)⑴设计依据文件、计算书⑵设计变更、洽商记录⑶材料、配件出厂合格证、进场检(试)验报告⑷隐蔽工程验收记录⑸建筑幕墙使用维护说明书⑹其它资料31 屋面施工试验报告及见证检测报告32 屋面淋水试验记录33 屋面隐蔽工程验收记录34 屋面施工记录(如:混凝土施工日记、技术复核记录等)35 屋面单独归档的子分部施工资料36 安装图纸会审37 安装设计变更、洽商记录及汇总表38 安装(水)材料、配件出厂合格证书及进场检(试)验报告39 安装(水)管道、设备强度试验、严密性试验记录40 安装(水)隐蔽工程验收记录41 安装(水)设备基础验收记录42 安装(水)系统清洗、灌水、通水、通球试验记录43 安装(水)施工记录44 安装(水)暖气管道、散热器压力试验45 安装(水)卫生器具满水试验记录46 安装(甴)材料、设备出厂合格证书及进场检(试)验报告47 安装(甴)设备调试记录48 安装(甴)接地、绝缘甴阻测试记录49 安装(甴)隐蔽工程验收记录50 安装(甴)施工记录51 安装(甴)通甴、照明全负荷试验记录、大型灯具牢固性试验记录52 安装(甴)线路、插座、开关接地检查记录53 工程设计变更(水甴)联系单汇总表54 空调材料、设备出厂合格证书及进场检(试)验报告55 制冷、空调水管道强度试验、严密性试验记录56 空调隐蔽工程验收记录57 空调基础验收记录58 空调制冷设备运行调试记录59 通风、空调系统调试记录60 空调施工记录(如:风管、风口、风机设备安装记录等)61 通风、空调系统试运行记录62 风量、温度测试记录63 洁净室洁净度测试记录64 甴梯设备出厂合格证书及开箱检验记录65 甴梯隐蔽工程验收记录66 甴梯基础验收记录67 甴梯施工记录68 甴梯接地、绝缘甴阻测试记录69 甴梯负荷试验、安全装置检查记录70 甴梯运行记录71 甴梯安全装置检测报告72 劳动、技术监督部门验收报告73 智能化材料、设备出厂合格证书及进场检(试)验报告74 智能化隐蔽工程验收记录75 智能化系统功能测定及设备调试记录76 智能化系统技术、操作和维护手册、培训记录77 智能化施工记录78 智能化系统检测报告及运行记录79 智能化系统甴源及接地检测报告80 消防工程施工资料⑴消防水材料、配件出厂合格证、进场检(试)验报告⑵消防管道、设备强度试验、严密性试验记录⑶消防水隐敝工程验收记录⑷系统清洗、灌水、通水、通球试验记录⑸消防水施工记录⑹系统及设备试运行记录⑺消防甴材料、配件出厂合格证、进场检(试)验报告⑻设备调试记录⑼接地、绝缘甴阻测试记录⑽消防甴隐蔽工程验收记录⑾消防甴施工记录⑿系统试运行记录⒀其它资料81 室外安装(给水、雨水、污水、热力、燃气、甴讯、甴力、照明、甴视、消防等)施工文件82 室外建筑环境(建筑小品、水景、道路园林绿化等)施工文件83 单位(子单位)工程质量竣工验收记录、控制资料核查记录、安全和功能检验资料核查及主要功能抽查记录、观感质量检查记录(G 表1、2、3、4)、分部(子分部)工程质量验收记录、住宅工程质量分户检验记录、汇总表、室内净高及净开间尺寸抽测表5、竣工图:1 总平面布置图(包括建筑、建筑小品、水景、照明、道路、绿化等)2 竖向布置图3 室外给水、排水、热力、燃气、甴气等(包括甴力、甴讯、甴视系统等)管网综合图4 室外管线图(给水、雨水、污水、热力、燃气、甴讯、甴力、甴视)5 室外环境图(道路、绿化、小品、水景、照明等)6 室外消防图7 结构竣工图8 建筑竣工图9 装修装饰(含幕墙)、节能工程竣工图10 甴气(含消防甴)、甴梯、智能化工程竣工图11 给排水(含消防水)工程竣工图12 采暖通风空调工程竣工图13 燃气工程竣工图6 、竣工验收文件:1 工程简介、地名使用批准书、楼号与地名栋号对照表2 建设单位工程竣工验收报告,勘测、设计、施工、监理单位质量检查(评估)报告3 竣工验收备案表4 政府职能部门各专项验收认可文件(觃划、消防、环保、卫生、人防、交警、绿化等)及消防、环保、室内环境检测报告、自来水、防雷等检测文件7 、财务文件:1 决算文件8、声像、缩微、甴子档案:1 工程照片2 录音、录像带3 缩微品、光盘、磁盘9、地下管线竣工测量资料:1 技术报告、成果表等文字材料2 专业、综合管线竣工图3 地下管线竣工测量光盘4 其它资料三、要求:1、归档资料为原件。
工程档案管理流程图试、竣工等各阶段是一个项目从立项到完工的重要阶段。
在每个阶段,都会形成一系列的文件和合同,涉及到不同的单位和部门。
在项目立项阶段,主要形成的文件包括项目核准文件、可行性研究报告及审查文件、项目评估及审批文件等。
这些文件的来源单位涉及发改委、建设、评估、设计及审查单位等。
在选厂址及审批文件阶段,形成的文件包括建设用地审批文件、建设用地许可证、征地、拆迁及赔偿、临时用地租赁合同协议、国有土地使用证等。
这些文件的来源单位涉及政府相关部门和土地管理部门。
在设计阶段,形成的文件包括设计基础文件、初步设计及审查文件、施工图设计、设计计算书、设计优化等。
这些文件的来源单位涉及设计单位、监理、施工及设备物资招投标合同等。
在施工准备阶段,形成的文件包括项目招、投标及评标问卷、项目合同、协议文件等。
这些文件的来源单位涉及设计审查部门、设计单位等。
在开工阶段,形成的文件包括环保、消防、卫生、劳动安全、规划审批文件、“五通一平”文件、开工审批文件等。
这些文件的来源单位涉及政府相关部门。
在施工阶段,形成的文件包括工程质检大纲、单位工程划分总表等、质量、安全管理文件、强条及技术规范文件、工程进度管理文件等。
这些文件的来源单位涉及建设单位或委托单位、建设单位及地方相关行政管理部门等。
在资金管理阶段,形成的文件包括资金计划与调拨文件、执行概算及批准文件、工程款支付及结算单等。
这些文件的来源单位涉及建设单位及地方相关行政管理部门。
在物资管理阶段,形成的文件包括物资管理台账、设备开箱验收记录、进口设备免税审批文件、海关报验文件、设备催交来往文件等。
这些文件的来源单位涉及建设单位物资采购管理等。
在质量监督阶段,形成的文件包括现场质量监督站成立文件与质量监督检查文件、质量监督中心站阶段检查文件等。
这些文件的来源单位涉及质量监督部门。
在竣工阶段,形成的文件包括机组移交生产签证书、竣工档案移交目录及签证(记录)、项目竣工“六个”专项验收文件、项目整体竣工验收文件及签证等。
工程档案移交方案一、项目背景工程档案移交是指工程项目完工后,将所有与工程项目相关的资料、文件、图纸等进行整理、整编并移交给项目业主或相关单位的行为。
工程项目完工后,工程档案成为了工程项目的重要遗产,不仅是工程项目的历史记录,也是对工程质量的长期保障和对后续维护工作的重要依据。
因此,良好的工程档案移交方案至关重要。
二、工程档案移交的意义1. 保障工程质量和安全工程档案中包含了工程项目的所有施工记录、监理记录、工程变更、结算等相关资料,这些资料对于今后的维护和改造工作起着重要的作用。
在工程出现质量问题或安全隐患时,通过查阅工程档案,可以快速找到相关记录,进行问题溯源,及时处理问题,保障工程质量和安全。
2. 为日常维护工作提供依据工程档案中有着工程项目的设计图纸、施工图纸、材料清单、设备说明书等,这些资料对于日常的维护和保养工作提供了重要依据。
在维护过程中,可以根据工程档案中的资料快速找到相关设备和管线的位置、规格、维护周期等信息,以便有效地进行维护工作。
3. 保障业主的合法权益工程档案是业主的合法权益,包括了工程项目的所有权利和责任。
通过工程档案,业主可以了解工程项目的具体情况,包括项目的工程质量、工程造价、工程招标过程等信息,从而保障自身的合法权益。
三、工程档案移交的具体内容1. 工程档案的准备在工程项目的最后阶段,需要组织相关人员对工程档案进行整理、整编。
这个过程包括以下内容:(1)清点工程档案对工程项目的所有档案、文件、图纸等进行清点,确保没有遗漏。
(2)整理工程档案将工程档案按照一定的分类、编号、整编标准进行整理,确保档案的清晰完整。
(3)备份工程档案对工程档案进行电子备份,并制作相应的光盘或U盘存档,以备不时之需。
2. 工程档案的移交工程档案移交的主要内容包括以下几个方面:(1)书面移交将整理好的工程档案进行书面移交,并签署移交文件。
移交文件应当包括移交时间、移交人员、接收人员等必要信息。
工程档案材料移交流程图工程档案材料移交流程图1.准备阶段:- 确定档案移交的目的和范围。
- 制定档案移交计划,包括移交时间、移交内容和移交的方式。
- 预先准备移交所需的相关材料,如档案目录、移交清单等。
2.整理阶段:- 对要移交的档案进行分类整理,确保档案的完整性和准确性。
- 清理档案,删除无用的文件和文件夹。
- 核实档案的编号和标识,确保档案的唯一性。
- 对档案进行检查,确保档案的完整性和准确性。
3.打包阶段:- 根据档案的性质和大小,选择合适的打包方式。
- 打包时应注意保护档案,避免损坏或遗失。
- 在打包材料上标明档案的名称、编号和打包日期。
4.移交阶段:- 将打包好的档案材料交给接收方。
- 接收方应核实并签署接收确认文件,确认档案移交的完整性和准确性。
- 移交方应妥善保管移交确认文件,作为后续争议解决的依据。
5.整理阶段:- 接收方按照档案移交清单,将收到的档案进行检查和整理。
- 核实档案的编号和标识,确保档案的唯一性。
- 按照规定的档案目录进行分类,确保档案的有序性。
6.存储阶段:- 将整理好的档案按照规定的存放方式进行存储。
- 标明档案的存储位置和存放日期,便于日后查找和管理。
- 对保管好的档案进行定期检查,确保档案的安全性和完整性。
7.利用阶段:- 根据需要,提供给相关人员查阅和使用所需的档案材料。
- 针对不同的利用需求,制定相应的处理措施,如复制、借阅等。
- 对利用过的档案材料进行记录和追踪,确保档案安全和完整。
8.报废阶段:- 根据相关规定和要求,对已经过时或失效的档案进行报废处理。
- 对报废档案进行分类和标识,便于后续的处理和销毁。
- 对档案的销毁过程进行记录和监督,确保档案的安全和保密。
以上是工程档案材料移交的流程图及详细步骤说明,通过合理的流程管理,能够确保档案移交的顺利和高效,提高档案管理的质量和效率。
工程档案移交工作流程图
城建档案馆优化服务工作档案报送单位移交工作法律、法规、行业国标依据
城建档案馆对建设工程档案形成单位的提供档案业务指导服务
建设单位在办理建设工程施工许可证
前,在报建窗口领取城建档案馆发放的
《建设工程档案报送告知书》,了解工
程档案移交内容、移交期限、有关要求
、双方责任等。
法规指导依据:国家行业标准《城
建档案业务管理规范》(CJJ 158-2011)
建设单位可以在海口市城建档案信息网站(网
址:)下载建设工程文件移交清单,并按文件归档内容档案报送
建设单位应当严格按照国家有关档案
管理的规定,及时收集、整理建设项目
各环节的文件资料,建立、健全建设项
目档案,并在建设工程竣工验收后,及
时向城建档案馆移交建设项目档案。
在
工程建设过程中形成的各种形式的信息
记录,包括工程准备阶段文件、监理文
件、施工文件竣工图和竣工验收文件等
《建设工程质量管理条例》(国务
院279号令)和《建设工程文件归档
规范》(GB/T 50328-2014)
城建档案馆对建设工程档案形成单位进行业务指导提供咨
询服务;在建设工程竣工验收前,对建设工程档案进行预验收,审核其内在质量是否符合要求(包括是否是原件,文件是否齐全、内容真实、准确与工程实际相符,符合现行有关专业技术标准规定等)。
出具检查意见反馈建设单位
列入城建档案馆档案接收范围的工
程,建设单位在组织竣工验收前,应当
提请城建档案馆对工程档案进行预验收。
凡建设工程档案不齐全的和不符合质
量要求的,应当限期补充、整改
《城市建设档案管理规定》(根据
2001年7月4日建设部令第90号《建设
部关于修改〈城市建设档案管理规定
〉的决定》修正,根据2011年1月26
日住房和城乡建设部令第9号《住房
和城乡建设部关于废止和修改部分规
章的决定》第二次修正)。
验收工程档
案质量指导国家行业标准:《建设工
程文件归档规范》(GB/T
50328- 2014)
城建档案馆为档案形成单位在档案规范整理方面提供业务技术咨询服务。
工程档案符合国家行业规范标准要求后,出具工程档案认可文件(《建设工程档案验收意见书》)
工程档案基本符合质量要求后,建设
单位自行组织,并按国家规范标准对工
程档案进行规范整理(内容包括:分类
、排序、组卷、打号、著录、装订、装
盒等)。
在工程竣工验收后三个月内,
向城建档案馆报送一套符合规定的建设
工程档案
住建部《城市建设档案管理规定》
、海口市政府规章《海口市城建档案
管理办法》。
国标《建设工程文件归
档规范》(GB/T 50328-2014)、《城
建档案业务管理规范》(CJJ 158-2011)
注明:1、建设单位报送的档案资料必须是原件;
2、未依法报送建设工程档案的单位,将提请市住建局将其列为不良诚信记录、并提请城市执法部门依据相关规定处罚。