大型数据中心双总线系统设计方案
- 格式:docx
- 大小:66.33 KB
- 文档页数:7
双总线系统方案
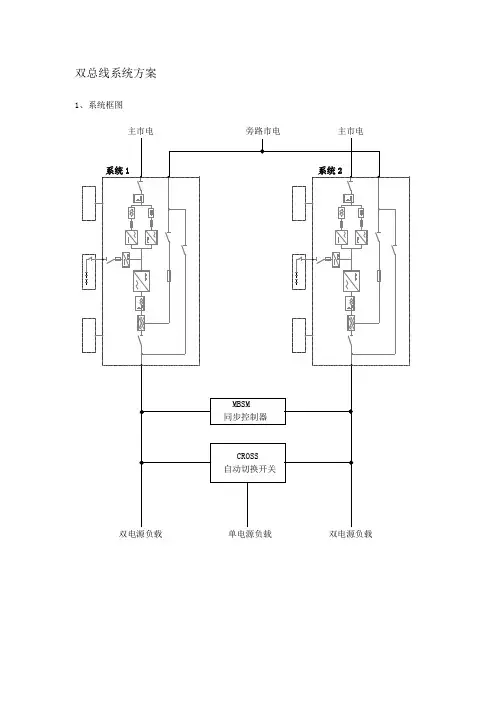
1、系统框图
主市电旁路市电主市电
双电源负载单电源负载双电源负载
2、系统说明
2.1系统1或系统2中的UPS可以为单机运行,也可以为多机冗余并联运行(此种方式中,冗余并联运行的UPS数量最多为3台)。
但必须保证两个系统的旁路电源为1路市电。
2.2系统运行原理
2.2.1系统正常运行时
负载同步控制器MBSM检测两个系统的输出电源指标,将检测结果反馈到UPS 控制板,有控制板调整UPS的输出,保证两个系统输出的电源同步。
系统输出电源跟踪旁路市电电源。
2.2.2系统故障运行时
当系统1或系统2的主市电断电时,该系统有蓄电池放电为负载供电,此时该系统输出电源与另一系统的输出电源同步,并保持与旁路电源同步;当蓄电池放电到截至电压时,此系统的负载会无间断地切换到另一系统正常运行。
当系统1和系统2的主市电同时断电时,系统有蓄电池共同放电为负载供电,系统输出电源与旁路市电同步运行。
当两个系统的主市电和旁路市电同时断电时,系统有蓄电池共同放电为负载供电,MBSM会自动将一个系统设为主,另一个系统的输出跟踪主系统的输出电源同步运行。
2.3对于双电源负载,系统正常时,每个系统带各自的负载,当系统1故障时,负载会无间断地切换到系统2运行,反之,同理。
对于单电源负载,可以预先设置有哪个系统为常用供电通道,当常用供电通道故障时,系统会由自动切换开关CROSS无间断地将负载切换到备用电源通道上运行。
数据中心布线系统方案1、设计原则(一)高可靠性原则所有的主干和水平均采用双路走线,备有冗余,并增加了铜缆做备份,可以实现在任何基础设施有计划的停机时维持正常运作的高容错性的数据中心。
数据中心的服务器、网络设备和存储设备等都连接在一起,互相依存,任何一条通道或端口的故障均可能造成整个系统的运行不正常甚至中断,因此数据中心布线系统需要极高的可靠性。
除了采用的设备冗余、物理备份以外,布线系统本身也最好采用质量优、可靠性高的产品。
(二)高密度原则为了提高整个数据中心的利用率,所有的布线产品必须遵循占用空间小,布线密度大的原则。
建议使用高密度的配线架和MPO/MTP光纤预连接技术,大大节省了机柜、管道的空间,也提高了数据中心的布线密度和安装维护的效率。
(三)高安全性原则由于数据中心布线密集,设备摆放集中,为了机房内设备和人员的安全性,建议采用LSZH的线缆。
2系统设计需求数据中心机房布线系统由LAN网布线系统和SAN网布线系统两部分组成,在该机房系统工程中,对机房工程内的各种布线进行了统一规划设计,考虑了布线桥架路由与机房内其他各种管路/桥架,以确保机房各系统实施的合理有序。
网络综合布线采用主配线区(MDA)--水平配线区(HDA)--设备配线区(EDA)的标准,采用星形布线方式,双路由结构,在机房内每列内终端机柜前端设置网络列头柜。
本系统通过对XX数据中心设备平面布局、网络拓扑结构、主干路由、招标图纸的参考等分析,同时结合该数据中心的管理服务和性能要求,确定了具体适用的产品和完善的系统设计。
3数据中心系统解决方案数据中心机房可以是一个建筑物或建筑物的一个部分,主要用于设置计算机房及其支持空间。
数据中心机房内放置核心的数据处理设备,是企业的核心。
数据中心机房的建立是为了全面、集中、主动并有效地管理和优化IT 基础架构,实现信息系统高水平的可管理性、可用性、可靠性和可扩展性,保障业务的稳定运行和服务的及时提供。
IDC双线路网络方案由于中国电信和中国联通分别运营南方21省及北方10省互联圈骨干圖,运营商之间的网络访冋瓶颈导致在南方和北方的圈站互访速度非常缓慢,地处中国电信的"省广电圈站一直深受此困扰省广电圖站以视频新闻为主要宣传特色,绝对,、名师八全国选秀类节目会让圖站访问童突起,每谨此时中国北方陶絡用户访问,省广电圖站就会遭受严重的圖络瓶颈制约.如果长此下去圖站的事业传播与发展必会受到影响,在这种情况下,采用IDCM 路技术同时接人中国电信和中国联通已经成为解决问题的必要手段,本文作者利用::省广电城将即将投入使用的之际,利用''省广电的IDC■机房机会提出了IDC■収线路的解决方案.本文对inc■収线路关键技术进行了概述,然后着重弁绍了根据防火墙接口地址制定策略路由、实现戏线路的方法.新落成的八省广电城于20冷年1。
月投入使用,其中心<■机房建设子项目主要是为了满足各类服务器、交换机、路由器等设备的放買、内部人员使用朗络等需求.该项目分为机房装修、机房电源建设、综舍布线、送风和空调系统的建设、应用服务器建设等几个部分.我是"省广播电视总台信息系统部主任,平时主要负责"省广电系统的网络规划、设计以及运维工作.在该广电城建设的项目中,我负责,省广电城建设项目中的心<■机房建设子项目的规划和设计.L问題的分析和提出収线路技术就是通过特殊的技术手段把不同的朗络接入商(ISP)服务接入到一个服务器集群或某一台服务器上面,使服务器所提供的圖絡服务访间用户能尽可能以本地所属ISP 连接来进行访问,从而解决或者减轻跨ISP用户访问圈站的缓慢延近(南北圈络甌颈)问题.老广电系统简单做法是采用収线路双圖卡实现方式:在同一服务器上面配置双圖卡,分别连接两个圈络服务提供商,在这两块圈卡上设買一个联通IP和一个电信IP,在服务器上配首路由表实现访问联通和电信的用户咎自走不同的通道.在圈站上设買联通IP地址链接和电信IP地址链接,联通用户和电信用户分别点击各自的IP访问服务器.此方式缺点:服务器接入的是収圖卡,需要由专业技术人员在服务器上设置路由表,在服务器数重很多是增加了维护重和维护的谁度,而且所有数据包都要在服务上路由判断后再发往联通或电信的明卡.若访间童较大时,占用服务器的资源很大,导致朗站性能降低.所以,此方式只能用于规模较小的网站.现在;;省广电网站服务器有几十台之多,以上方案已经不合适了.结合自身特点,考虑接人双线路后,首先解决南北运营商圖络瓶颈,提高圖站访问速度,使联通的用户通过联通圈络访间,省广电圈服务器,电信的用户通过电信圖络访间,省厂电圖服务器.其次,能实现内部上朗用户分流.由此产生的具阵需求如下:(1)每台服务器对外只提供唯一的域名,单域名双线路。
数据中心布线设计本文档旨在详细介绍数据中心布线设计的相关内容,以供参考使用。
1·引言1·1·文档目的本文档旨在提供数据中心布线设计的指导原则和规范要求,确保数据中心布线的高效性、可靠性和安全性。
1·2·文档范围本文档适用于所有涉及数据中心布线设计的项目,包括新建和升级的数据中心。
2·数据中心布线设计概述2·1·数据中心布线的定义数据中心布线是指在数据中心环境中,为了有效管理和传输数据,按照一定的规范和流程,进行各种电缆和设备的布置和连接。
2·2·数据中心布线设计的目标数据中心布线设计的目标是为了实现以下几个方面的要求:●提供高带宽和低延迟的数据传输。
●确保数据中心的可靠性和可用性。
●区分不同的信号类型,如数据、电源、通信等。
●管理和维护布线,方便故障排除和维修。
●符合相关的规范和标准。
3·数据中心布线设计流程3·1·需求分析在数据中心布线设计之前,需要进行需求分析,明确数据中心的功能和业务需求,包括服务器数量、网络设备数量、电源需求等。
3·2·空间规划根据需求分析的结果,进行数据中心的空间规划,包括机柜布置、走道设计、电源线和网络线的布置等。
3·3·电源布线设计根据数据中心的电源需求,设计电源布线方案,包括主干线路和分支线路的规划、不同电源类型的隔离和保护等。
3·4·网络布线设计根据数据中心的网络需求,设计网络布线方案,包括主干网络和分支网络的规划、网络设备的连接方式和位置选择等。
3·5·机柜布线设计根据数据中心的机柜布置规划,设计机柜布线方案,包括不同类型设备的连接和布线方式、不同信号类型的隔离等。
3·6·故障排除与预防在数据中心布线设计中,需要考虑故障排除和预防的措施,包括备份电源、冗余网络布线、标准化设备连接等。
1.需求概述为保证数据中心机房内所有设备24 小时不间断优质供电,数据中心机房供电系统采用两路在线式UPS供电(每路均为1+1并联冗余配置,提高供电系统的冗错性和可靠性),UPS 采用中文操作界面,根据系统设备用电功率,设计为4台100KVA,实现独立的双总线供电方案,提高供电的可靠性、容错性,满足GB50174-2008《电子信息系统机房设计规范》A 级机房电源设计标准。
2.台达UPS电源解决方案配置台达GES-NT100K 双变换纯在线式工频级UPS 4台,组成两套“1+1”并联冗余的双总线供电方案,为数据中心机房负载设备提供24小时不间断的完全独立的双回路的优质、纯净电源供电。
台达GES-NT100K UPS 2路“1+1”并联冗余的双总线供电方案具有高可靠性、可用性及安全性,并机系统采用先进的独特分布式逻辑控制方式,直接并机,并机无须外加并联卡或并机控制柜,且并机通信信号线采用环形回路设计,大大地提高了并机系统的可靠性;NT100K UPS支持在线并机扩展系统,即无须关闭原UPS供电系统,在线将预将并入正常工作的UPS系统中,整并机扩容平滑、安全。
并机采用共用电池组方案,可以节省大量的安装空间,提高电池的利用效率,减少地安装地板承重需求。
当其中一台UPS故障退出并联系统后,仍能保证满载后备时间满足原配置(而传统UPS并机无共用电池组功能时,当其中一台UPS故障时,它所配置的电池组也相应地退出了并机系统,此时导致后备时间缩短一半)。
通过共用电池功能,还可以减少电池污染的排放和节省安装空间等资源。
共用电池功能主要优势如下:节省购买电池的资金投资系统冗余量占系统总容量的百分之几,就能节省电池总投资的百分之几。
在电池价格飞涨的今天,能够节省的这笔费用是相当可观的。
同时,电池数量减少了,相应的搬运、安装等投资也会跟着减少。
节省安装空间投资大批量的电池所占用的安装空间也是很大的,减少了电池数量,也就成比例地减少了安装空间方面的投资。
莱钢数据中心双总线并机冗余供电系统设计与实现文章介绍了双总线并机冗余供电方式在莱钢数据中心电源系统建设中的设计及实现,分析了冗余、容错机制对提高电源系统可靠性的重要作用。
标签:双总线冗余;冗余;容错;ATS引言莱钢数据中心机房位于莱钢新建信息能源管控中心二楼,面积约1300平方米,是莱钢计算机信息网络系统和通信网络系统的核心机房。
主要承担着莱钢生产和管理指挥系统的各类数据、语音及图像等信息的收集、存储和处理等工作。
为确保机房内各类设备稳定、可靠的运行,要求电源系统必须提供365*24小时的不间断供电作为支撑。
片刻的停电故障,都会给莱钢的生产和管理造成巨大的损失。
根据这种情况,按照《电子信息机房设计规范》(即GB50172-2008)规定要求,本机房应按数据中心A级机房设计,供电要求根据ANSI-TIA-942-2005数据中心标准定为TIER4等级。
因此,本设计应采用双总线并机冗余的供电系统设计方案。
1 系统设计根据A级机房供电系统的设计要求,系统采用双总线供电系统架构,UPS 采用双总线并机冗余的运行方式,通过UPS间的冗余来完成系统的容错功能,避免单点故障。
系统按功能划分为市电输入系统、UPS系统和UPS输出系统三部分。
市电输入系统包括:市电输入配电屏、柴油发电机、ATS双电源转换开关、低压配电开关等;UPS系统包括:UPS输入配电柜、UPS设备、UPS输出配电柜;UPS 输出系统包括:列头配电柜、PDU、STS静态转换开关等。
1.1 市电输入系统从高压配电室引来两路出自不同变压器的低压380V交流电源作为主、备用电源,经ATS转换后输出分成两路电源,再分别同柴油发电机的两路输出电源经ATS2、ATS3转换后,输出到两台UPS输入配电屏上,形成双总线链路。
当两路市电同时失电时,备用柴油发电机启动单独给UPS系统供电。
柴油发电机必须具备识别市电状态自动启停的功能。
柴油发电机应长期工作于待机状态,当两路市电同时停电时,ATS2和ATS3自动置于0位,柴油发电机控制电路检测到ATS2和ATS3控制器的的电位发生变化时,控制电路向柴油发电机发出启动信号。
ups双总线方案UPS(不间断电源)是一种通过存储电能以在电源中断时提供供电的装置。
近年来,随着科技的不断发展和人们对电能稳定性的要求越来越高,双总线方案成为了一种备受关注的UPS技术。
一、UPS技术背景在传统的UPS设计中,只有一条输入线和一条输出线。
当输入电源断开时,内部的电池组开始供电,以保持电源的连续性。
然而,这种方案在某些情况下存在风险。
例如,当UPS本身出现故障时,断电时间会变得很长,从而导致设备停机。
此外,如果UPS电源不足以支持整个负载,也会造成供电中断。
二、双总线方案的原理双总线方案通过增加一条备份总线来解决传统UPS方案的问题。
这样,当主电源线路出现故障时,备份总线会立即接管。
这种方案在很大程度上提高了UPS的可靠性和可用性。
三、双总线方案的优势1. 提高了可靠性:由于双总线方案能够实时监测主电源线路的稳定性,一旦检测到异常,备份总线会立即切换,以保证设备持续供电。
这在关键的应用场景中至关重要,如数据中心、医院手术室等。
2. 减少了停机时间:当主电源线路中断时,双总线方案能够快速切换到备份总线,几乎没有任何停机时间。
这为企业节约了大量资金和时间。
3. 增加了容量:双总线方案将主电源与备份总线并联,有效地增加了UPS系统的总容量。
即使主电源线路无法支持整个负载,备份总线也可以发挥作用。
四、双总线方案的应用1. 数据中心:数据中心对电力的可靠性和稳定性要求非常高。
采用双总线方案可以确保数据中心在任何紧急情况下都能持续运行,避免数据丢失和服务中断。
2. 医院:在医院的手术室中,安全和可靠的电力供应尤为重要。
通过双总线方案,手术室可以保持不间断供电,确保手术过程的连续性,同时保护患者的安全。
3. 工业制造:在工业生产过程中,停电可能导致生产中断和设备损坏。
双总线方案可以保证电力持续供应,确保生产的稳定进行。
五、双总线方案的展望随着科技的不断进步,双总线方案将继续得到完善和推广。
新型材料的应用和新技术的研发将进一步提高UPS系统的性能和可靠性,实现更长的持续供电时间和更短的切换时间。
数据中心配线设计数据中心配线设计文档1、引言本文档描述了数据中心配线设计,旨在确保数据中心网络的正常运行和高可靠性。
该设计包括物理配线结构、配线路径规划、配线系统设备选择等方面的内容。
2、设计目标2.1、高可靠性:配线系统应具备冗余设计,以减少故障对数据中心网络的影响。
2.2、灵活性:配线系统应支持快速变更和升级,以满足业务需求的变化。
2.3、可维护性:配线系统应易于维护和管理,以减少维护成本和故障排除时间。
3、物理配线结构3.1、主干配线架:选择高品质、高带宽的配线架作为主干配线结构,以提供充足的容量和稳定的连接。
3.2、水平配线架:根据服务器布局和网络拓扑图,合理规划水平配线架的位置和数量。
3.3、垂直配线架:合理选取和规划垂直配线架,以满足数据中心不同楼层或机柜间的连接需求。
4、配线路径规划4.1、路径选择:根据数据中心的实际布局,选择最优的配线路径,避免冗余和混乱的布线。
4.2、隔离环境:在配线路径规划中考虑隔离安全和环境因素,避免信号干扰和物理损坏。
4.3、标识标记:对配线路径进行合理的标识和标记,以方便管理和维护。
5、配线系统设备选择5.1、光纤电缆:选择符合数据中心需求的高质量光纤电缆,以提供高速、稳定的传输性能。
5.2、网线:选择符合标准的网线,以支持高速以太网通信。
5.3、连接器和插座:选择可靠的连接器和插座,以确保连接的稳定性和可靠性。
6、附件本文档涉及以下附件:- 数据中心配线图- 物理配线布局图- 配线系统设备清单7、法律名词及注释7.1、数据保护法:指用于保护个人数据和隐私的法律法规,如欧洲通用数据保护条例(GDPR)等。
7.2、服务级别协议(SLA):指服务供应商与客户之间达成的协议,约定了服务的标准、质量和可用性等方面。
8、结束。
目前国内的idc提供商分别提出了“双ip双线路”、“单ip双线路”、“cdn多线路”和“bgp单ip双线路”等双线路实现方法,下面来对以上提出的双线路实现方式进行具体说明:一、双ip双线路实现方式双ip双线路实现方式是指在一台服务器上安装两块网卡,分别接入电信网线与网通网线并设置一个网通ip与一个电信ip,这样一台服务器上就有了两个ip地址,需要在服务器上添加网通或电信的路由表来实现网通用户与电信用户分别从不同的线路访问。
双ip双线路具有常用的两种使用方式:1. icp用户在网站设置两个ip地址不同的链接,网通用户点击网通ip访问服务器,电信用户点击电信ip访问。
2.使用bind9(dns服务器软件)对不同的ip地址请求返回不同的服务器ip的功能来实现网通用户请求域名时返回网通的ip,电信用户请求域名时返回电信的ip,这个方式就是一些idc提出的智能dns的方案。
双ip双线路在一定程度上提高了网通与电信用户访问网站的速度,但缺点是由于服务器接入的是双网卡必须在服务器上进行路由表设置,这给普通用户增加了维护难度,并且所有的数据包都需要在服务器上进行路由判断然后再发往不同的网卡,当访问量较大时服务器资源占用很大。
此方案是最简单的双线解决方案,一般限于规模较小的idc提供商使用。
二、单ip双线路普通的单ip双线路是指在服务器上设置一个ip,此ip是网通ip或是电信ip,通过路由设备设置数据包是通过是电信网络或是网通网络发出来实现的双线技术。
此方案也可以提高网通用户与电信用户的访问速度,解决了双ip双线需要在服务器上设置路由的问题,但由于ip地址采用的是网通或电信的ip,访问用户在发送请求数据包时不会自动判别最好的路由。
所以这种解决方案只能说是半双线的技术方案、是一种过渡形式的解决方案。
此方案一般为单线idc服务商往双线idc服务商转型期所采用的临时方案。
三、 cdn方式实现双线路cdn(c delivery network)互联网内容分发网络,就是多服务器分网托管加智能域名dns,即服务器是cdn服务商提供,放在不同网络节点上,通过缓冲程序自动抓取用户源服务器的数据,然后缓存在不同网段节点的服务器上。
数据中心布线设计在当今数字化的时代,数据中心成为了企业和组织运营的核心枢纽。
数据中心内的大量服务器、存储设备、网络设备等需要高效、可靠的连接,这就使得布线设计成为了至关重要的环节。
一个良好的数据中心布线设计不仅能够确保数据的快速传输和系统的稳定运行,还能为未来的扩展和升级提供便利。
数据中心布线设计的首要目标是满足高性能和高可靠性的要求。
这意味着选择合适的线缆类型和规格至关重要。
常见的线缆类型包括双绞线、光纤等。
双绞线适用于较短距离的传输,成本相对较低,而光纤则在长距离传输和高带宽需求的场景中表现出色。
在确定线缆类型后,还需要根据预计的流量和带宽需求选择合适的规格。
例如,对于高速以太网应用,可能需要使用六类或七类双绞线,或者多模光纤甚至单模光纤。
布线的拓扑结构也是设计中的关键因素。
常见的拓扑结构有星型、总线型和环型等。
星型拓扑结构是目前数据中心中最常用的,因为它易于管理和扩展,每个设备都通过独立的链路连接到核心交换机。
这种结构能够有效地减少单点故障的影响,提高系统的可靠性。
总线型拓扑结构则相对简单,但存在单点故障可能导致整个网络瘫痪的风险。
环型拓扑结构在一些特定的应用中可能会使用,但相对较少。
线缆的敷设方式同样需要精心规划。
数据中心内的线缆可以通过架空地板、桥架或者线槽进行敷设。
架空地板敷设方式便于后期的维护和线缆的增减,但可能会影响空调系统的气流组织。
桥架敷设则较为整洁美观,且对气流的影响较小,但安装和维护相对复杂。
线槽敷设通常用于线缆较少的区域,成本较低。
在实际设计中,往往会根据数据中心的布局和需求,综合采用多种敷设方式。
在数据中心布线设计中,还需要考虑线缆的标识和管理。
清晰准确的线缆标识能够帮助运维人员快速定位和解决问题。
标识应包括线缆的起点、终点、用途等信息。
同时,建立完善的线缆管理系统,记录线缆的位置、连接情况等,对于数据中心的长期运营和维护非常重要。
散热也是布线设计中不可忽视的问题。
大量线缆的聚集会产生热量,如果散热不畅,可能会影响线缆的性能甚至导致故障。
数据中心机房布线方案1. 概述当前, 我们正处在一个信息爆炸的时代, 数据的存储量已经不仅仅是用 KB、MB 、 GB 甚至 TB 来计算 , 在不远的将来 , 人们所谈论的将是PB(1petabyte=1,000terabytes甚至 EB(1exabyte=1,000petabytes。
在企业的 IT 基础架构中,数据中心是数据及业务应用的总控中心。
数据中心汇聚了最昂贵的服务器和存储及网络设备, 担负着数据存储、访问的艰巨任务。
数据中心的建设要面向企业业务的发展, 并为企业提供全面的业务支撑。
这种支撑涵盖了客户、企业业务、企业数据和决策支持等层面。
随着数据中心高密度刀片式服务器及存储设备数量的增多, 数据中心面临着网络性能、散热、空间、能耗等一系列严峻的挑战。
根据全球最大的独立技术研究公司 Gartner Research 发布的研究资料显示,由于缺乏灵活、高性能的综合布线规划, 在 2002年之前建立的数据中心中, 半数需要在 2008年前升级或者淘汰。
因此, 建设一个完整的、符合现在及将来要求的高标准的新一代的数据中心需要达到以下几点要求:• 高可靠性——基于标准的开放系统, 预先经过测试 , 确保系统 7*24小时稳定可靠。
• 高性能——满足目前的网络传输需求, 支持至少 1G 或 10G 甚至更高速率传输• 高密度——节省空间,方便设备散热设备散热。
• 可维护性——美观大方 , 适应频繁的需求变化,方便 MAC 维护。
• 可扩展性——充分考虑未来业务增长,支持未来扩容需求。
本次设计将从先进性、可靠性、实用性的原则出发, 以满足目前用户的应用需求为基础, 充分考虑到今后技术的发展趋势及可能出现的需求。
为用户提供具有长远效益的全面解决方案。
2. 设计标准TIA-942数据中心机房通信设施标准建筑与建筑群综合布线系统工程设计规范 GB /T 50311-2007;建筑与建筑群综合布线系统工程验收规范 GB /T 50312-2007;国际综合布线标准 ISO /IEC 11801北美建筑通讯线路间距标准 TIA /EIA 569;北美商用建筑通讯基础结构管理规范 TIA /EIA 606;非屏蔽双绞线布线测试标准 TIA /EIA TSB67;北美商用建筑通讯接地要求 TIA /EIA 607;欧洲综合布线系统标准 BN50173;其它国家和行业标准规范;3. TIA-942数据中心机房通信设施标准2005年 4月美国通信工业委员会 TIA 发布了数据中心机房通信设施标准, 该标准正对数据中心的设计、安装提供了规范和建议,内容包括:建筑结构、空间布局、安全、节能,接地、机械及防火保护。
数据中心综合布线项目设计方案一、项目概述数据中心是一个集中存储和处理大量数据的地方,它需要稳定的综合布线系统来确保数据传输的高效和可靠性。
本设计方案旨在提供一种适用于数据中心的综合布线方案,以满足数据传输的需求。
二、设计目标1.提供高带宽和低延迟的数据传输能力。
2.保证数据中心的可靠性和稳定性。
3.降低布线成本和维护成本。
4.考虑数据中心未来扩展的需求。
三、设计方案详述1.布线架构设计1.1选择高质量的光纤和铜缆进行数据传输,以提供低损耗和低噪声的信号传输。
1.2采用模块化结构的布线系统,可以灵活地进行增减和维护。
1.3考虑数据中心的复杂性和规模,采用分层设计,将数据中心划分为主干区、水平分配区和末端连接区。
1.4为主干区和水平分配区提供双回路的设计,以增加容错能力和冗余性。
2.网络设备选择2.1选择高性能的交换机和路由器来处理数据传输,以确保高带宽和低延迟的数据传输。
2.2选择可扩展的设备,以满足数据中心未来扩展的需求。
2.3 优先选择支持POE(Power over Ethernet)技术的设备,以减少电源线的布置,简化电力管理。
3.机房布局设计3.1为了保证散热和引入冷却空气的效果,机房的布局应符合冷热通道隔离的原则。
3.2控制机房的湿度和温度,以保证设备的正常工作和延长设备的寿命。
3.3设计合理的机架布置,保证设备的易维护性和空间利用率。
4.安全措施设计4.1使用防火和防水的材料来建设机房,以确保数据中心的安全。
4.2采用监控系统和门禁系统,控制机房的进入和监控机房的工作状态。
4.3建立有效的数据备份和恢复系统,以应对突发事件和数据丢失的风险。
5.管理系统设计5.1配备有效的布线管理系统,以减少人工维护和故障排除的时间。
5.2采用远程监控和管理系统,可以随时远程管理数据中心的状态和运行情况。
5.3提供完善的标识和标记系统,以便快速识别和排除故障。
6.成本控制6.1选用合适的布线材料和设备,以降低项目成本。
核心数据机房UPS电源系统解决方案武汉源迅科技发展有限公司2011双UPS电源双总线解决方案1概述双UPS电源组成双总线供电系统,即采用2台UPS电源各自独立给重要负载(如服务器、核心交换机等)提供电源,而对于这些负载均具有至少2路电源输入,通过这些负载的实现冗余供电双电源总线。
如图1示。
2建议解决方案及预算2.1解决方案2.1.1UPS电源●根据用户需求,目前采用4台6KV A 逆变器供电,未来需增加一倍的用电需求,为此估算需配置2台60或80KV A UPS;●每套UPS配置2小时后备延时,双机冗余下后备达4小时。
●采用2台UPS电源,提供双路各自独立的UPS电源,由安装在机柜内双电源设备(服务器、交换机等)实现冗余互备。
对于机房单电源设备采用STS 自动转换开关,实现双电源冗余供电。
为此为保证UPS 供电系统的系统的运行安全和可靠性,考虑在电力系统大量选用并得到用户良好评价,UPS 推荐选用APC by Schneider Galaxy 系列UPS ;综合用户要求,推荐选用 Galaxy 5000 60KV A UPS ,采用2台独立供电,构成黄石供电县调自动化机房双总线供电方式。
APC/MGE GALAXY 系列UPS 性能简介GALAXY 5000 20KVA -- 200KVAa) 单机UPS 的组成 单机UPS 的基本组成如下:图: Galaxy 5000系列UPS 的单机框图Q 5N电 池主 电 源 输 入旁 路 电 源 输 入Q F 1Q 4SQ 3B PQ 1U P S1).整流-充电器(Rectifier - Charger ):由可控硅三相全控整流桥功率电路和相应的控制电路组成。
它将电源1( Mains 1)输入的交流电变换成直流电,供给电池组充电及逆变器的输入。
2).逆变器(Inverter):由IGBT(Insulated Gate Bipolar Transistor,绝缘栅型双极晶体管)逆变功率电路和相应的控制电路组成。
介绍UPS(不间断电源)是一种用于保障电力供应连续性的设备。
在一些关键应用场景,如数据中心、医疗设备等,UPS的可靠性非常重要。
UPS双总线方案就是一种增强UPS可靠性的解决方案,通过同时采用两条独立的输入总线,确保UPS在一条总线出现故障时仍能正常工作。
本文将详细介绍UPS双总线方案的原理、设计和应用。
原理UPS双总线方案采用两条独立的输入总线,每条总线都连接到独立的电源系统。
这两条总线同时供电UPS设备,实现冗余备份。
当其中一条总线发生故障时,UPS 会自动切换到另一条正常的总线上,维持电力供应的连续性。
UPS双总线方案的关键在于两条总线的设计和切换机制。
为了实现高可靠性和快速切换,一般采用以下几个关键技术:1. 双输入转换器UPS设备需要与两条输入总线连接,因此需要一个双输入转换器来将两条输入总线的直流电源转换为UPS需要的交流电源。
双输入转换器通常包括输入滤波、整流器、逆变器等功能,并具备自动切换功能。
2. 总线切换逻辑为了实现UPS对两条总线的切换,需要设计相应的总线切换逻辑。
该逻辑通常由硬件电路和控制器组成。
当检测到一条总线故障时,切换逻辑会自动将UPS从故障总线切换到正常总线上,并确保切换过程平稳,不产生电力中断。
3. 故障检测和报警UPS双总线方案需要实时监测两条输入总线的状态。
当其中一条总线出现故障时,UPS需要能够及时检测并报警。
故障检测和报警功能可以通过传感器和报警装置实现,可以向运维人员发送报警信息,提醒他们处理故障。
设计UPS双总线方案的设计需要考虑多方面因素,包括系统拓扑、硬件设计和控制策略等。
1. 系统拓扑UPS双总线方案可以采用多种系统拓扑,常见的有并行系统和冗余系统。
并行系统中,两条输入总线同时供电UPS设备,可以达到高可靠性。
而在冗余系统中,一条总线处于备份状态,只有当主要总线故障时才会切换到备份总线。
2. 硬件设计硬件设计是UPS双总线方案的关键。
双输入转换器需要具备两个输入端和一个输出端,输出端连接到UPS设备。
大型数据中心双总线系统设计方案
大型数据中心双总线系统设计方案
摘要:为保证数据中心机房内所有设备24 小时不间断优质供电,数据中心机房供电系统亦采用两路在线式UPS供电(每路均为1+1并联冗余配置,提高供电系统的冗错性和可靠性),UPS采用中文操作界面,本文章拟定大型数据中心用户,设备用电功率设计为400kVA,实现独立的双总线供电方案,提高供电的可靠性、容错性,满足GB50174-2008《电子信息系统机房设计规范》A级机房电源设计标准。
标签:大型数据中心总线
1 概述
为保证数据中心机房内所有设备24 小时不间断优质供电,数据中心机房供电系统亦采用两路在线式UPS 供电(每路均为1+1并联冗余配置,提高供电系统的冗错性和可靠性),UPS采用中文操作界面,本文章拟定大型数据中心用户,设备用电功率设计为400kVA,实现独立的双总线供电方案,提高供电的可靠性、容错性,满足GB50174-2008《电子信息系统机房设计规范》A级机房电源设计标准。
2 台达UPS电源解决方案
配置台达GES-NT400K 双变换纯在线式工频级UPS 4台,组成两套“1+1”并联冗余的双总线供电方案,为数据中心机房负载设备提供24小时不间断的完全独立的双回路的优质、纯净电源供电。
GES-NT400K UPS 2路“1+1”并联冗余的双总线
供电方案具有高可靠性、可用性及安全性,并机系统采
用先进的独特分布式逻辑控制方式,直接并机,并机无须外加并联卡或并机控制柜,且并机通信信号线采用环形回路设计,大大地提高了并机系统的可靠性;NT400K UPS支持在线并机扩展系统,即无须关闭原UPS供电系统,在线将预将并入正常工作的UPS系统中,整并机扩容平滑、安全。
并机采用共用电池组方案,可以节省大量的安装空间,提高电池的利用效率,减少地安装地板承重需求。
当其中一台UPS故障退出并联系统后,仍能保证满载后备时间满足原配置(而传统UPS并机无共用电池组功能时,当其中一台UPS故障时,它所配置的电池组也相应地退出了并机系统,此时导致后备时间缩短一半)。
通过共用电池功能,还可以减少电池污染的排放和节省安装空间等资源。
2.1 共用电池功能主要优势
⑴节省购买电池的资金投资
系统冗余量占系统总容量的百分之几,就能节省电池总投资的百分之几。
在电池价格飞涨的今天,能够节省的这笔费用是相当可观的。
同时,电池数量减少了,相应的搬运、安装等投资也会跟着减少。
⑵节省安装空间投资
大批量的电池所占用的安装空间也是很大的,减少了电池数量,也就成比例地减少了安装空间方面的投
资。
同时也就减少了房租、装修费、空调配置等方面的投资。
⑶节省承重方面的投资
电池组是很重的,为了解决楼层承重问题,一般会扩大电池的放置面积或者制做承重支架。
如果减少了电池数量,这方面的投资就会相应地省去。
⑷节省运营成本投资
电池数量少了,系统本身以及房间空调所消耗的电能也就少了,需要投入的维护成本也少了,同时还会更加环保。
⑸ 系统扩容比较方便
对于共享电池组的UPS系统,日后扩容时可以不增加电池,如果现有电池组的后备时间还够用,直接增加UPS主机就行了。
扩容会变得非常简单、方便、节省资金。
GES-NT400K UPS具有内置同步控制电路(LBS),系统采用双总线供电方案时,无须再购买同步控制器/或同步控制柜,可节省大量的系统投资成本。
2.2 台达NT系列UPS内置同步控制器(LBS)的功能及优点
⑴ 集成在主控制板中,无须增加外置同步控制柜/模块,减少外部电路,技术更先进,大大提高了系统的可靠度;
⑵ 安装调试简单、方便,无须复杂的接线;
⑶ 可以实现2路“3+1”并联冗余的双总线方案,扩容简便、适用性强;
⑷ 同步控制线采用1+1冗余通讯线,即使断掉其中1根对双总线系统无任何影响,高可靠性;
⑸ 提高了UPS系统的性价比,内置同步控制器功能,可为用户节省大量的系统扩容资金。
供电系统方案和配置
GES-NT1400K UPS 2路“1+1”并联冗余双总线供电解决方案系统配置如图1所示。
UPS电源设备配置见表1。
图1 台达NT400K完全独立的双总线供电系统框架示意图
表1 UPS电源设备配置
序号设备名称规格型号品牌单位数量备注
1 UPS主机GES-NT400K 台达台 4
2路1+1并机,组成完全独立的双总线供电方案
2 蓄电池
DCF126-2/120
中达节384 单机后备30min
3
电池开关
柜
1600A 中达套 2 并机共用电池组方案
4 电池架174只/套中达套 2
5 SNMP卡内置式SNMP卡中达套 4 远程及网络监控
并机共用电池组电池开关柜原理图见图2。
QF2设计为电池联络开关,实现并机系统共用电池供电方案与独立电池供电方案灵活选择。
图2 并机共用电池
组电池开关柜原理图
4 可靠性比较
系统是由N个子系统并联构成的一个冗余系统(并联方式),系统中有任何一个子系统失效,均不会影响系统的功能,只有在任何大于冗余的数X子系统同时失效时,系统才宕机,此系统称为N+X冗余系统。
如果每个子系统的可靠性为R(t),那么当由多个子系统并联组成的冗余系统N+X时,用(N+X)表示。
UPS方案可靠性由公式(1)计算。
UPS方案可靠性列于表2。
式中表示并联冗余系统中X+1个子系统故障(系统不可用时)的组合数。
表2 UPS方案可靠性比较
供电方
案
方案说明可靠性可靠性比较(与单机相比较)
N
单机供电0.99
N+1
1+1并机供电0.9999 (1-0.99)/(1-0.9999)=100倍
2N
单机双总线供电0.9999 (1-0.99)/(1-0.9999)=100倍
2(N+1) 1+1并机双总线供
电
0.9999999
9
(1-0.99)/(1-0.99999999)
=100000000倍
5 总结
台达NT400K两台并联的UPS组成的两条完全独立的供电总线,每条总线分别为两条直接与双电源负载连接的电路供电。
借助双总线设计方案,完全可以建立起根本无需将负载转换到旁路市电的UPS供电系统,排除了每一个可能存在的单路径故障点,如此配置的双总线系统的使可靠性、可用性达到最高级别。