采购合同协议书变更流程说明表精编
- 格式:docx
- 大小:257.45 KB
- 文档页数:3
合同变更流程合同变更流程协议书协议书编号:日期:甲方(变更方):地址:联系电话:法定代表人:乙方(受变更方):地址:联系电话:法定代表人:鉴于甲方与乙方于(合同签订日期)签订了《合同名称》,现甲方因故需对该合同进行变更,经双方友好协商一致,达成以下协议:一、变更内容1. 变更原因:甲方根据实际情况发现合同中存在不合理部分,为了保障双方的权益,甲方提出对以下条款进行变更:(具体描述需要变更的内容)2. 变更后内容:双方同意对合同中的以下条款进行变更:(具体描述变更后的具体内容)二、变更流程1. 变更申请:甲方应以书面形式向乙方提出变更申请,包括变更原因、变更的具体条款和变更后的内容。
2. 变更审核:乙方收到甲方的变更申请后,应在(变更申请提交之日起5个工作日内)进行变更申请的审核,并书面通知甲方变更申请是否通过。
3. 变更协商:若甲方的变更申请通过乙方的审核,则双方应在(变更申请通过之日起10个工作日内)展开变更协商,就变更后的具体内容以及其他相关事项进行协商。
4. 变更协议:双方经过友好协商达成一致后,应以书面形式起草变更协议,明确变更的具体内容以及效力、费用等相关事项。
双方代表应签署该协议,并在变更协议生效后按照协议的约定执行。
三、其他事项1. 合同效力:除本协议约定的变更外,原合同的其他条款和条件继续有效。
2. 争议解决:双方如就本协议产生争议,应友好协商解决;协商不成的,应提交至所在地法院进行诉讼解决。
3. 本协议的效力:本协议自甲方与乙方签署之日起生效。
甲方(盖章):乙方(盖章):代表人签字:代表人签字:日期:日期:。
本文部分内容来自网络整理,本司不为其真实性负责,如有异议或侵权请及时联系,本司将立即删除!== 本文为word格式,下载后可方便编辑和修改! ==采购合同变更流程篇一:如何进行采购合同的签订与变更《如何进行采购合同的签订与变更》课程描述:采购合同是规范采购流程的重要工具,严密而细致的签订与变更流程不仅能规避经营风险,减少经济纠纷,而且可以保证原料的采购质量和产品的及时供应。
那么,如何进行采购合同的签订与变更才能保证合同执行万无一失呢?本课程将结合实际案例,向您详细阐述采购合同签订与变更的相关流程及需要注意的问题。
解决方案:他山之石,可以攻玉!虽然不同行业在“采购合同的签订与变更”上都有自己的方法与技巧,但万变不离其宗!接下来我们从实战经验中给大家总结一些方法流程,以便大家参考。
采购合同的签订流程一般有七个:一、准备合同范本及供应商名录;二、确定合同内容;三、制定谈判策略;四、分析谈判结果;五、确定合同最终条款;六、审批并签字盖章;七、生效、归档。
采购合同的变更流程一般有四个:一、分析变更需求;二、确认变更内容;三、审批并签字盖章;四、生效、归档。
将这两部分导图串起来,就形成了“采购合同的签订与变更”完整的方法与流程!或许文字的话大家并不是很清楚,我们可以看下面的思维导图,能让你更加形象的理解和明白该如何进行采购合同的签订与变更。
相关课程:如何进行采购合同的签订与变更如何制定供应商管理制度如何制定采购定价策略如何进行招标采购如何制定采购质量控制流程想学习以上课程可以扫描下面的二维码,里面有详细内容及课程篇二:采购合同管理流程企业是大家的,报酬是顾客给的,工作是为自己而做!篇三:论政府采购合同的变更和解除论政府采购合同的变更和解除论政府采购合同的变更和解除【摘要】为了更好地适用政府采购法第50条规定,本文从政府采购合同的法律适用入手,阐述了政府采购合同的变更,解除条件和程序,并分析了政府采购法第50条的立法缺陷,提出了自己的建议.【关键词】采购合同;变更;解除;缺陷;完善。
编号:_______________本资料为word版本,可以直接编辑和打印,感谢您的下载采购合同变更流程甲方:___________________乙方:___________________日期:___________________篇一:如何进行采购合同的签订与变更《如何进行采购合同的签订与变更》课程描述:采购合同是规范采购流程的重要工具,严密而细致的签订与变更流程不仅能规避经营风险,减少经济纠纷,而且可以保证原料的采购质虽和产品的及时供应。
那么,如何进行采购合同的签订与变更才能保证合同执行万无一失呢?本课程将结合实际案例,向您详细阐述采购合同签订与变更的相关流程及需要注意的问题。
解决方案:他山之石,可以攻玉!虽然不同行业在“采购合同的签订与变更”上都有自己的方法与技巧,但万变不离其宗!接下来我们从实战经验中给大家总结一些方法流程,以便大家参考。
采购合同的签订流程一般有七个:一、准备合同范本及供应商名录;二、确定合同内容;三、制定谈判策略;四、分析谈判结果;五、确定合同最终条款;六、审批并签字盖章;七、生效、归档。
采购合同的变更流程一般有四个:一、分析变更需求;二、确认变更内容;三、审批并签字盖章;四、生效、归档。
将这两部分导图串起来,就形成了“采购合同的签订与变更”完整的方法与流程!或许文字的话大家并不是很清楚,我们可以看下面的思维导图,能让你更加形象的理解和明白该如何进行采购合同的签订与变更。
相关课程:如何进行采购合同的签订与变更如何制定供应商管理制度如何制定采购定价策略如何进行招标采购如何制定采购质H控制流程想学习以上课程可以扫描下面的二维码,里面有详细内容及课程篇二:采购合同流程采购合同签订滞后原因分析:企划部合同管理员对项目部合同签订滞后现象重视不够,没能严格要求督促,管理不到位。
采取措施:1.项目材料主管每半个月把采购计划表上传至OA!作平台,采购计划表标明材料进场时间,计划有变动及时通知物资供应部、企业管理策划部合同管理。
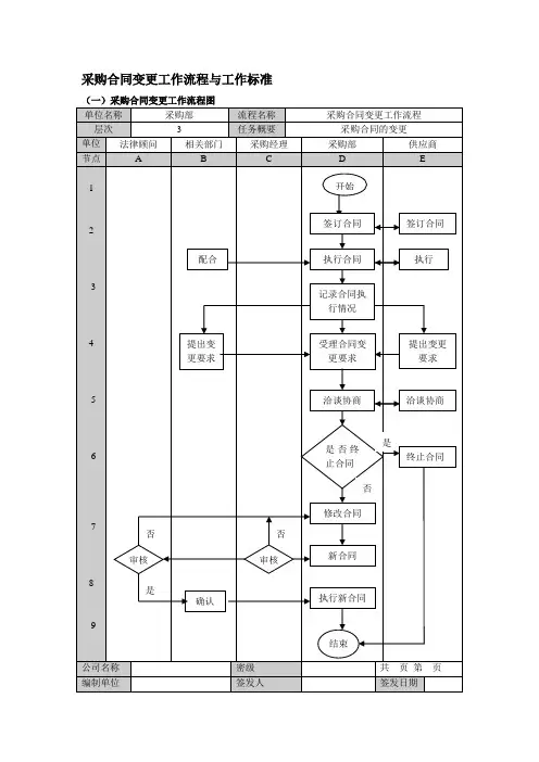
采购中的变更程序有哪些在企业的采购活动中,由于各种原因,变更的情况时有发生。
采购变更可能涉及采购的物品或服务的规格、数量、交付时间、价格等方面。
为了确保采购活动的顺利进行,并保障企业的利益,建立一套规范的采购变更程序至关重要。
下面我们就来详细了解一下采购中的变更程序。
一、提出变更申请当出现需要变更采购的情况时,首先应由相关部门或人员提出变更申请。
变更申请应明确说明变更的原因、内容和预期的影响。
例如,如果是因为产品设计的调整需要更改原材料的规格,那么在申请中就应详细阐述设计调整的具体情况以及新规格原材料的要求。
变更申请的提出者需要对变更的必要性和合理性进行充分的论证,并提供相关的支持文件,如设计变更通知、市场需求变化的分析报告等。
这有助于审批者更好地理解变更的背景和影响,从而做出准确的决策。
二、评估变更影响收到变更申请后,采购部门应组织相关人员对变更的影响进行评估。
评估的内容包括但不限于以下几个方面:1、对采购成本的影响:变更可能导致采购价格的上升或下降,需要评估新的价格是否在预算范围内。
2、对交付时间的影响:例如,更改产品规格可能需要供应商重新安排生产计划,从而影响交付时间。
3、对质量的影响:某些变更可能会对采购物品或服务的质量产生影响,需要评估是否能够满足企业的质量标准。
4、对供应商关系的影响:频繁的变更可能会影响与供应商的合作关系,需要考虑供应商对此的接受程度和可能的反应。
评估过程中,应充分征求相关部门的意见,如生产部门、质量控制部门、财务部门等,以确保评估的全面性和准确性。
三、审批变更申请根据评估结果,变更申请需要经过相应的审批流程。
审批的权限通常根据变更的性质和影响程度来确定。
一般来说,重大的变更可能需要高层管理人员甚至董事会的审批,而较小的变更则可以由采购部门的负责人或相关业务部门的主管审批。
审批者在审批变更申请时,应综合考虑变更的必要性、影响和风险,并权衡企业的利益。
如果审批不通过,应向申请人说明原因,并提出改进的建议。
采购流程变更通知尊敬的各位供应商:感谢您一直以来对我们公司的支持与合作。
为了提高采购流程的效率和透明度,我们决定对采购流程进行一些调整和变更。
特此通知如下:1. 变更背景随着公司业务的不断发展,原有的采购流程已经不能满足日益增长的采购需求。
为了更好地管理供应链,提高采购效率,我们决定对采购流程进行调整和优化。
2. 变更内容2.1 采购申请流程原有的采购申请流程将进行调整,具体变更如下:采购申请人需要填写新的采购申请表格,并在表格中详细描述所需物品的规格、数量、用途等信息。
采购申请表格需要经过部门负责人审批后方可提交给采购部门。
采购部门将根据申请表格中的信息进行评估,并与供应商进行沟通和谈判,最终确定供应商和价格。
审批通过后,采购部门将向申请人发放采购订单,并通知财务部门进行付款。
2.2 供应商管理流程为了更好地管理供应商,我们将对供应商管理流程进行调整,具体变更如下:所有供应商需要重新提交相关资质文件,并填写新的供应商信息登记表。
供应商信息将由采购部门进行审核和更新,并建立供应商档案。
供应商评估将根据一定的评分标准进行,评估结果将作为选择供应商的依据。
2.3 合同管理流程为了加强合同管理,我们将对合同管理流程进行调整,具体变更如下:所有合同必须经过法务部门审核并签署后方可生效。
合同签署后,相关部门需要及时归档并建立合同档案。
合同到期前一个月,相关部门需要提前与供应商进行续签或解除合同的谈判。
3. 变更时间以上变更将于本月底正式生效,请各位供应商务必按照新的流程进行操作。
如有任何疑问或需要进一步了解,请及时与我们联系。
4. 结语通过对采购流程的调整和变更,我们相信能够进一步提高采购效率和管理水平,为公司的发展提供更好的支持。
感谢各位供应商一直以来的支持与配合,希望我们能够携手共进,共创美好未来。
再次感谢您对我们公司的关注与支持!此致敬礼公司名称。
合同约定变更程序根据双方当事人的协商一致,为确保合同的有效履行并解决可能出现的争议,特制定本合同约定变更程序(下称“本程序”)。
一、变更的范围和条件1. 双方当事人应通过书面方式达成变更合同的一致意见,并在变更合同上签字确认。
2. 变更内容应明确具体,包括但不限于合同的条款、附件、价格、交付时间、付款方式等。
任何未经双方当事人明确约定的变更,均视为无效。
3. 变更合同必须符合法律法规及其他适用的规定,并不得违反公序良俗。
二、变更申请流程1. 变更合同的申请方(下称“申请方”)应提出书面申请,附上详细的变更内容,并于变更申请中提供合理的理由。
2. 收到变更申请后,另一方当事人(下称“接收方”)应在收到申请的三个工作日内书面回复是否接受变更,并附上理由。
3. 若接收方同意变更,双方当事人应在十个工作日内完成变更合同的起草、审核,并正式签署变更合同。
4. 若接收方不同意变更,则应及时书面告知申请方,并说明理由。
三、变更合同的效力1. 变更合同应经双方当事人按照本程序签署后生效,具有与原合同同等的法律效力。
2. 变更合同应作为原合同的附件,并与原合同一并存档、保留、备查。
四、争议解决1. 在执行变更合同过程中,如双方当事人发生争议,应及时通过友好协商解决。
2.若协商未能解决争议,应提交独立仲裁机构进行仲裁。
仲裁结果为终局裁决,对双方当事人均具有约束力。
五、适用法律和管辖本程序适用于中华人民共和国法律。
如发生争议,双方同意将争议提交有管辖权的人民法院解决。
六、其他事项1. 本程序是根据双方当事人的自愿原则制定,双方应遵守和履行本程序的约定。
2. 本程序可根据双方当事人的协商一致进行变更,变更后的内容需以书面形式确认。
3. 本程序自双方当事人签署之日起生效,有效期为原合同履行期限内,如双方继续合作,本程序将自动延续。
以上为《合同约定变更程序》的内容约定,请双方当事人在确保理解和同意上述内容后签署确认,以示共同遵守和履行。
工程采购合同变更甲方(供应商):[甲方全称]地址:[甲方地址]法定代表人:[甲方法定代表人]联系电话:[甲方电话]乙方(采购方):[乙方全称]地址:[乙方地址]法定代表人:[乙方法定代表人]联系电话:[乙方电话]鉴于甲乙双方于[原合同签订日期]签订了编号为[原合同编号]的《工程采购合同》(以下简称“原合同”),现基于[变更原因,例如:材料成本变动、设计变更、工期调整等],甲乙双方协商一致,决定对原合同进行如下变更:一、变更内容1. 原合同第[条款序号]条关于[具体内容]的约定,现修改为[变更后的内容]。
2. 增加以下条款:“[新增条款内容]。
”3. 删除原合同第[条款序号]条关于[具体内容]的约定。
4. 其他相关条款作相应调整以适应上述变更。
二、价格及付款方式调整根据上述变更,原合同总金额由[原合同金额]调整为[新合同金额]。
付款方式由原来的[原付款方式]调整为[新付款方式]。
具体支付时间点和条件如下:[详细描述新的支付时间点和条件]。
三、交货期调整原合同约定的交货期由[原交货日期]调整为[新交货日期]。
若因不可抗力因素影响交货期,双方应重新协商确定新的交货日期。
四、违约责任如一方违反本变更协议的任何条款,应当按照原合同中关于违约责任的规定承担相应的违约责任。
若因变更内容导致的损失,违约方还应当赔偿因此给对方造成的直接损失。
五、争议解决本变更协议如有任何争议,甲乙双方应首先通过友好协商解决;协商不成时,可提交至原合同约定的仲裁机构进行仲裁或向有管辖权的人民法院提起诉讼。
六、其他1. 本变更协议自双方授权代表签字盖章之日起生效。
2. 本变更协议一式两份,甲乙双方各执一份,具有同等法律效力。
3. 本变更协议未尽事宜,按照原合同的相关条款执行。
甲方(供应商)授权代表签字:________________盖章:________________日期:____年__月__日乙方(采购方)授权代表签字:________________盖章:________________日期:____年__月__日。
采购合同模板变更甲方:(采购方)地址:联系人:电话:传真:邮箱:乙方:(供应商)地址:联系人:电话:传真:邮箱:为明确双方的权利和义务,根据《中华人民共和国合同法》及相关法律法规的规定,甲乙双方在平等、自愿、公平的基础上,经友好协商,就甲方向乙方采购以下商品或提供以下服务达成一致并订立本合同。
第一条交易货物/服务内容及规格1. 交货期限:2. 价格:3. 付款方式:4. 产品/服务规格:第二条发货及验收1. 乙方发货前,应通知甲方检验员到场检验,甲方验货合格后方可发货;2. 甲方应在接到货物后的48小时内完成验收,如货物不符合合同规定,甲方有权拒绝接收,乙方应及时退回货物并承担相应责任;3. 货物验收合格后,甲方应支付合同金额的90%给乙方,剩余10%将在货物使用后支付。
第三条交易价格及结算方式1. 本次交易总金额为人民币_______元;2. 乙方应在收到发票后的7个工作日内开具相应的发票;3. 付款方式:分期付款,首付款比例为50%,验收合格后支付30%,剩余20%在最终完成验收后支付。
第四条交货地点货物交货地点为:_____________。
第五条违约责任1. 若甲方未按照合同规定及时支付款项,应按欠款金额的日息____%支付违约金;2. 若乙方未按照合同规定及时交付货物或提供服务,应按延误时间所涉及金额的____%支付违约金;3. 一方造成对方损失的,应承担相应的违约责任。
第六条保密条款1. 双方应对本合同所涉及的商业秘密予以保密,不得向第三方透露;2. 保密期限为_____年,从本合同签订之日起生效。
第七条争议解决本合同在履行过程中如发生争议,应友好协商解决;协商不成的,应提交____仲裁机构仲裁。
第八条其他约定1. 本合同一式两份,甲乙双方各持一份,自双方共同签字盖章后生效;2. 未尽事宜,由双方协商解决。
(以下无正文,为签订页)甲方(盖章):乙方(盖章):签字:签字:日期:日期:。
采购变更实用范本一、背景介绍在采购项目进行过程中,有时会面临一些需要进行变更的情况。
采购变更是指在采购项目执行过程中,因为一些原因需要对采购项目的各项内容进行调整或更改。
为了确保采购变更的合法性、透明性和规范性,特编制了本实用范本以供参考和使用。
二、采购变更的条件1. 双方协商一致:采购变更需要由采购方和供应商双方经过充分协商,并达成一致意见。
2. 采购合同约定:采购合同中需明确变更条款,以规定采购变更的具体要求和程序。
三、采购变更申请流程1. 采购变更申请方:由采购方提出采购变更申请,明确变更的原因、范围和影响。
2. 变更分析评估:由采购部门进行变更的分析评估,包括变更对项目目标、成本、进度等方面的影响评估,并提出相应建议。
3. 变更协商与达成一致:采购方与供应商共同进行变更协商,并达成一致意见,包括变更的内容、时间、费用等方面的明确约定。
4. 写作变更协议:采购方根据变更协商结果,编写采购变更协议文本,并由双方代表签署认可。
5. 变更执行与监督:变更协议签署后,采购方需负责变更协议的执行与监督,并对变更的实施效果进行评估。
四、采购变更申请书样本采购变更申请书申请日期:___________受委托人:___________项目经理:___________项目名称:___________ 合同编号:___________一、变更原因:(简要描述变更的原因,如需要新增产品功能、调整交付时间等)二、变更内容:(具体描述变更的内容,如产品规格、数量、交付要求等)三、变更影响:(说明变更对项目目标、成本、进度等方面的影响评估)四、变更建议:(提出变更协商前的建议,包括解决方案、时间计划、费用改变等)五、变更协商与一致意见:(描述采购方与供应商之间的协商过程,并明确达成的一致意见)六、变更协议签署:甲方(采购方):__________ 日期:__________乙方(供应商):__________ 日期:__________七、其他:(在需要的情况下,可以补充其他与本次采购变更相关的信息)以上为采购变更申请书,经双方协商一致后,正式执行。
工程材料采购范本变更与解除事项详解工程材料采购是工程项目中不可或缺的一环。
然而,在实际操作过程中,采购方和供应商之间难免会出现一些变更和解除的事项。
本文将详细介绍工程材料采购范本中的变更与解除事项,以帮助相关人士更好地理解和处理这些问题。
一、变更事项1. 变更事项的定义变更事项指的是采购方或供应商在签订了采购合同后,由于特定原因,需要对合同中某些条款或者内容进行修改、调整或者修订的情况。
变更事项往往会涉及到价格变动、交货时间延期、质量要求调整等方面的内容。
2. 变更事项的处理流程及要点(1)申请变更:任何一方在需要变更某项采购合同内容时,应向对方提出书面申请,并详细列明变更内容、原因、影响等。
(2)评估与审批:采购方在接到变更申请后,应及时对变更内容进行评估,并按照事先约定的流程进行审批。
(3)协商与沟通:双方应在变更事项中保持积极的沟通与协商,以达成共识并最终确定变更条款。
(4)签订变更协议:变更事项确定后,双方应及时签署变更协议,明确变更内容、生效时间等。
(5)履行与监督:变更协议签署后,双方应按照协议的要求履行义务,并对履行情况进行监督与验收。
二、解除事项1. 解除事项的定义解除事项指的是采购方或供应商在签订了采购合同后,由于特定原因,需要提前终止合同的情况。
解除事项往往会涉及到违约责任、赔偿金额、争议解决等方面的内容。
2. 解除事项的处理流程及要点(1)发起解除:采购方或供应商在确有解除合同的情况下,应向对方提出书面解除申请,并详细陈述解除原因和解除依据。
(2)沟通与协商:双方应积极开展沟通与协商,尽量达成和解,并最终确定解除条款。
(3)协商赔偿:解除合同时,双方应就解除事项进行协商,并确定解除方应支付的赔偿金额。
(4)签署解除协议:解除事项明确后,双方应签署解除协议,并确保协议的合法性与有效性。
(5)履行与结算:解除协议签署后,双方应按照协议的约定履行义务,并进行相关结算工作。
总结:工程材料采购的变更和解除事项是常见而重要的问题。
采购中的变更和解除程序在采购过程中,由于各种原因可能需要进行变更或解除合同。
本文将介绍采购中的变更和解除程序,并总结几点应该注意的问题。
一、变更程序1. 变更的定义和种类变更是指在已签订的合同基础上,由于一方或双方的需求变化,需要对原有的合同条款进行修改或增减。
变更可以分为合同价款变更、合同工期变更、合同范围变更等。
2. 变更程序的启动变更程序的启动通常需要由变更方提出变更申请,并提交变更申请书和相关的证明材料。
变更方应明确变更的原因、内容、影响范围以及应由双方承担的责任等。
3. 变更程序的审批变更申请提交后,采购部门或监管部门将对变更申请进行审批。
审批程序中通常包括审查变更的合法性、合理性和可行性,以及评估变更对采购项目的影响。
4. 变更协议的签订变更申请获得批准后,变更方与被变更方将签订变更协议。
变更协议应明确变更后的合同条款、价格、交付期限等内容,并由双方共同签字确认。
二、解除程序1. 解除的定义和情况解除是指合同双方根据一定的条件和程序,提前终止原有的合同关系。
解除合同常见的情况包括违约、不可抗力等。
2. 解除程序的启动如果一方认为对方存在违约行为或发生了不可抗力事件,可以通过书面通知对方启动解除程序。
通知中应详细说明解除的原因和相关证据,并要求对方在一定期限内解决问题。
3. 解除程序的审批解除通知发送后,受到通知的一方将对解除事由及相关证据进行审查。
如果认同解除的理由并确认对方存在违约行为或不可抗力事件,将同意解除合同。
4. 解除程序的实施解除合同的实施通常包括通知解除、清算和赔偿等步骤。
解除方应及时通知对方解除合同,并根据合同约定进行财务结算,并承担因解除产生的赔偿责任。
三、应注意的问题1. 变更和解除的合法性变更和解除合同应符合法律、法规和合同约定的规定。
双方在变更和解除合同时,应确保自己的行为合法合规,减少法律风险。
2. 变更和解除的风险评估在变更和解除合同前,双方应对变更或解除产生的风险进行评估。
采购合同变更样本甲方(买方):_____________________乙方(卖方):_____________________鉴于甲乙双方于____年____月____日签订了编号为____的采购合同(以下简称“原合同”),现因____(变更原因,如市场变化、原材料价格波动等),双方经协商一致,同意对原合同部分条款进行如下变更:一、合同条款变更1. 原合同第____条关于____(原条款内容)的约定,现变更为____(变更后的内容)。
2. 原合同第____条关于____(原条款内容)的约定,现变更为____(变更后的内容)。
3. 其他需要变更的条款:____(如有)。
二、合同金额调整由于上述条款的变更,原合同总金额由____(原金额)调整为____(调整后金额)。
三、交货期限调整原合同约定的交货期限由____(原期限)调整为____(调整后期限)。
四、违约责任1. 若甲方未能按照变更后的合同条款履行付款义务,应按原合同约定的违约责任条款承担相应责任。
2. 若乙方未能按照变更后的合同条款履行交货义务,应按原合同约定的违约责任条款承担相应责任。
五、其他1. 本变更协议作为原合同不可分割的一部分,与原合同具有同等法律效力。
2. 除本变更协议明确变更的条款外,原合同其他条款继续有效。
3. 本变更协议一式两份,甲乙双方各执一份,自双方签字盖章之日起生效。
甲方代表(签字):____________________乙方代表(签字):____________________日期:____年____月____日(本样本仅供参考,具体条款应根据实际情况和双方协商结果确定。
)。
工程集采合同变更流程怎么写一、提出变更请求当出现需要变更合同的情形时,首先由需求方或供应方根据项目实际情况,提出书面的合同变更请求。
该请求应详细说明变更的原因、内容及预期的影响,并初步评估可能产生的成本变化。
二、初步评估收到变更请求后,双方应各自进行初步的评估。
这一步骤包括对变更请求的合理性、必要性以及可能带来的影响进行审查。
同时,需估算变更可能导致的成本和时间调整,为后续谈判提供依据。
三、协商谈判基于初步评估的结果,双方进入协商谈判阶段。
在此阶段,双方应充分沟通,就变更的内容、范围、成本增减、工期调整等关键问题进行详细讨论,并力求达成一致意见。
四、制定变更方案一旦协商达成一致,双方应共同起草具体的合同变更方案。
该方案应详细列出所有变更条款,包括但不限于技术规格的修改、价格的调整、交货期的变化等,并对原合同中相应条款作出明确的修改或补充。
五、法律审核在正式签署变更协议前,建议由专业法律顾问对变更方案进行审核,确保其符合相关法律法规的要求,避免因违法而导致的合同无效或纠纷。
六、签署变更协议经过法律审核无误后,双方可正式签署合同变更协议。
变更协议作为原合同的补充,应当与原合同具有同等法律效力。
签署过程中,应保证协议内容的清晰、准确,避免歧义。
七、履行变更协议签署变更协议后,双方应严格按照协议约定执行变更内容。
任何一方未遵守变更协议的行为都可能构成违约,需承担相应的法律责任。
八、变更记录与归档为保证合同管理的连续性和完整性,所有变更事项都应有详细的记录,并将相关文件及时更新和归档保存。
这有助于未来查询和解决可能出现的任何争议。
范本采购变更协议本协议由以下各方于(日期)签署:甲方:(公司名称)地址:联系人:电话:乙方:(公司名称)地址:联系人:电话:鉴于:1. 甲方作为采购方,与乙方作为供应方就(产品名称或服务)项目达成了购买协议,合同编号为(合同编号);2. 双方认为在现有合同的基础上,有必要对某些条款进行变更,以满足双方的实际需求;基于上述情况,双方经协商一致,达成以下变更协议:一、变更条款1. (变更内容一)变更前:(原合同中相关条款)变更后:(变更后的条款)2. (变更内容二)变更前:(原合同中相关条款)变更后:(变更后的条款)二、变更的原因和目的(在此详细描述引起变更的原因和目的,包括但不限于市场需求变化、技术进步、法律法规要求变更等)三、变更过程和时间安排1. 变更协议的草案应由甲方拟定,并提交给乙方;2. 乙方对变更协议进行评估和审查,出具书面意见;3. 双方对变更协议的内容进行讨论和修改,达成一致意见;4. 变更协议应由双方授权代表签署,并在签署之日起生效;5. 变更协议的实施时间为(具体日期)。
四、其他约定1. 本变更协议是对原合同的补充,具有同等法律效力;2. 本变更协议经双方授权代表签字盖章后生效,在合同中列明的其他条款仍保持有效;3. 未经双方书面同意,任何一方不得擅自变更本协议的内容;4. 本变更协议的附件为不可分割的组成部分。
五、争议解决因本变更协议产生的争议,双方应通过友好协商解决。
若协商不成,任何一方可向有管辖权的法院提起诉讼。
六、协议生效和终止本变更协议经双方授权代表签字盖章后生效,并自变更实施时间起生效。
双方同意,根据本协议的具体约定,履行相关义务直至合同终止。
甲方(盖章):签字:日期:乙方(盖章):签字:日期:附件:(列明附件的名称或编号)。