吉大18秋学期《自动控制原理》在线作业一(满分)
- 格式:doc
- 大小:47.50 KB
- 文档页数:6
吉大18春学期《自动控制原理》在线作业一-0001试卷总分:100 得分:0一、单选题(共5 道试题,共20 分)1.题面见图片A.AB.BC.CD.D正确答案:B2.题面见图片A.AB.BC.CD.D正确答案:B3.题面见图片A.AB.BC.CD.D正确答案:C4.题面见图片A.AB.BC.CD.D正确答案:A5.题面见图片A.AB.BC.CD.D正确答案:C二、多选题(共5 道试题,共20 分)1.以下关于根轨迹的绘制原则,正确的是()。
A.由于根是实数或者共轭复数,所以根轨迹对称与s平面的实轴B.当K由零到无穷变化时,系统的闭环特征根也一定连续变化,所以根轨迹也必然是连续的C.实轴上根轨迹段右侧开环零、极点数之和为奇数D.如果根轨迹位于实轴上两个相邻的开环极点之间,则在这两个开环极点之间,至少存在一个分离点正确答案:ABCD2.自动控制系统是由下列哪两项组成()。
A.控制器B.被控对象C.输入D.输出正确答案:AB3.数学模型可以有多种形式,最常见的有3种()。
A.输入-输出描述B.状态变量描述C.方块图描述D.直接描述正确答案:ABC4.传递函数是指下列哪两项的比值关系()A.系统输出B.系统输入C.反馈D.偏差正确答案:AB5.控制系统的基本分类有()。
A.线性系统B.非线性系统C.连续控制系统D.离散控制系统正确答案:ABCD三、判断题(共15 道试题,共60 分)1.如果特征方程在复平面的虚轴上有根,则该系统稳定。
A.错误B.正确正确答案:A2.实轴上的根轨迹与复平面上开环零点,开环极点有关。
A.错误B.正确正确答案:A3.当ω为增益剪切频率ωc时,幅值特性L(ωc)= 0db。
A.错误B.正确正确答案:B4.系统极点的实部控制时间响应的暂态分量是发散还是收敛。
A.错误B.正确正确答案:B5.系统特征方程的根均为负实根,则系统稳定。
A.错误B.正确正确答案:B6.二阶系统的暂态振荡频率不随阻尼比的变化而发生变化。
吉林大学网络教育学院2019-2020学年第二学期期末考试《自动控制原理》大作业学生姓名专业层次年级学号学习中心成绩年月日作业要求:大作业要求学生手写完成,提供手写文档的清晰扫描图片,并将图片添加到word文档内,最终wod文档上传平台,不允许学生提交其他格式文件(如JPG,RAR等非word文档格式),如有雷同、抄袭成绩按不及格处理。
一综合题 (共3题,总分值30分 )1. 已知下列系统开环传递函数(参数K,T,T i>0;i=1,2,…,6):其系统开环幅相曲线分别如图(1)~(10)所示,试根据奈氏判据判定各系统的闭环稳定性,若系统闭环不稳定,确定其s右半平面的闭环极点数。
(10 分)2. 设单位反馈控制系统的开环传递函数要求:(1) 画出准确根轨迹(至少校验三点); (2) 确定系统的临界稳定开环增益K c; (3) 确定与系统临界阻尼比相应的开环增益K 。
(10 分) 解:(1) ①极点:()3503,1002,01=-=-==n p p p 零点:无 (m=0) ②则根轨迹的分支数为条。
③n-m-3条根轨迹渐近线。
④()312ππϕ=-+=mn k a k=0()ππϕ=-+=mn k a 12 k=1()3512πϕπ=-+=m n k a k=2 5011-=--=∑∑==mn zp ni mi ii a σ⑤分离点坐标:501100110++++=d d d ()舍或7921-=-=d d (2)根轨迹与虚轴的交点即为临界开环增益Kc 由图可得j s 7.70±= 代入特征方程:()()0102.0101.0=+++K s s s解得:Kc=150(3)系统临界阻尼比即ζ 0arcc ==ζβos 21-=s 此时代入方程可得 K=9.63. 试用等倾线法证明相轨迹中有两条过原点直线,其斜率分别为微分方程的两个特征根。
(10 分)二作图题 (共6题,总分值60分 )4. 已知单位反馈控制系统开环传递函数如下,试概略画出相应的闭环根轨迹图(要求算出起始角θpi):(10 分)答:5. 设二阶控制系统的单位阶跃响应曲线如图所示。
自动控制原理作业题第一章基本概念一、简答题1 简述自动控制的基本概念2 简述自动控制系统的基本组成3 简述控制系统的基本控制过程4 简述自动控制系统的基本分类5 试比较开环控制和闭环控制的特点6 简述自动控制系统的性能评价指标二、分析计算题1 液位自动控制系统如图所示。
试分析该系统工作原理,画出系统原理框图,指出被控对象、被控参量和控制量2 发动机电压调节系统如图所示,试分析其工作原理,画出系统原理框图,指出其特点。
3液面控制系统如图所示。
试分析该系统的工作原理,指出系统中的干扰量、被控制量及被控制对象,并画出系统的方框图。
4控制系统如图所示。
简述该系统的工作原理,说明该系统的给定值、被控制量和干扰量,并画出该系统的方块图。
图1-7发电机-电动机调速系统操纵电位计发电机伺服电机减速器负载Θr给定值Ur 前置放大器功放执行元件被控量Wm这是一个开环控制的例子+E-EΘrUr操纵电位计R1R2R3R4放大器直流发电机伺服电机Wd Wm发电机-电动机调速系统减速器负载5火炮随动控制系统如图所示。
简述该系统的工作原理,并画出该系统的原理框图。
第二章 线性控制系统的数学模型一、简答题1 简述建立控制系统数学模型的方法及其数学表示形式2 简述建立微分方程的步骤3 简述传递函数的基本概念及其特点4 给出组成控制系统典型基本环节二、分析计算题1 有源电网络如图所示,输入量为)(1t u ,输出量为)(2t u ,试确定该电网络的传递函数2 电枢控制式直流电动机原理图如图所示,输入量为)(1t e ,输出量为)(t o ,试确定其微分方程。
图中,电动机电枢输入电压;电动机输出转角;电枢绕组的电阻;电枢绕组的电感;流过电枢绕组的电流;电动机感应电势;电动机转矩;电动机及负载这和到电动机轴上的转动惯量;电动机及负载这和到电动机轴上的粘性摩擦系数。
3 某RC 电路网络原理图如图所示,电压()i u t 为输入量,()o u t 为输出量,试画出其方块图,并求其传递函数。
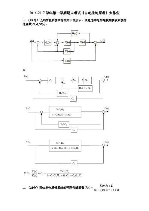
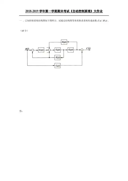
一 (25分)已知控制系统结构图如下图所示。
试通过结构图等效变换求系统传递函数C (s )/R (s )。
解:二 (25分)已知单位反馈系统的开环传递函数)12.0)(1()15.0()(2++++=s s s s s K s G试确定系统稳定时的K 值范围。
三 (25分)已知单位反馈系统的开环传递函数 )5)(11.0(50)(++=s s s s G 试求输入分别为 r (t )=2t 和 r (t )=2+2t+t 2 时,系统的稳态误差。
四 (25分)设单位反馈控制系统的开环传递函数)102.0)(101.0()(++=s s s K s G 要求:(1) 画出准确根轨迹(至少校验三点);(2) 确定系统的临界稳定开环增益K c;(3) 确定与系统临界阻尼比相应的开环增益K 。
解:(1)5000()(50)(100)K G s s s s =++ ① n =3,根轨迹有3条分支,且均趋于无穷远处;② 实轴上的根轨迹:[-50,0],(,1-∞-00];③ 渐进线:50100503a σ--==-,(21),33a k ππϕπ+==±; ④ 分离点:11150100d d d +=++求解得:121.3d =-,278.8d =-(舍去); 作出根轨迹如图所示:(2)临界开环增益c K 为根轨迹与虚轴交点对应的开环增益。
32()150********D s s s s K =+++令s j ω=,代入()0D s =,并令其实部、虚部分别为零,即2Re[()]15050000D j K ωω=-+=,3Im[()]50000D j ωωω=-+=解得:1,23500070.71,0ωω=±±=(舍去) 150c K =(3)系统处于临界阻尼比1ζ=,相应闭环根位于分离点处,即要求分离点d 对应的K 值。
将s =d =-21.3代入幅值条件:0.0110.0219.622K s s s =++=4-14 设系统开环传递函数如下,试画出b 从零变到无穷时的根轨迹图。
------------------------------------------------------------------------------------------------------------------------------ (单选题) 1: CH3CH=CHCH2CH=CHCF3 + Br2 (1 mol) 主要产物为:A: CH3CHBrCHBrCH2CH=CHCF3B: CH3CH=CHCH2CHBrCHBrCF3C: CH3CHBrCH=CHCH2CHBrCF3D: CH3CHBrCH=CHCHBrCH2CF3正确答案:(单选题) 2: 在下列哪种条件下能发生甲烷氯化反应?A: 甲烷与氯气在室温下混合B: 先将氯气用光照射再迅速与甲烷混合C: 甲烷用光照射,在黑暗中与氯气混合D: 甲烷与氯气均在黑暗中混合正确答案:(单选题) 3: 能使不饱和伯醇氧化成不饱和醛的氧化剂应是:① KMnO4/H+② CrO3/H+ ③ CrO3/吡啶④ 新鲜 MnO2A: ③④B: ①④C: ①③D: ②③正确答案:(单选题) 4: 下列四个试剂,不跟CH3CH2COCH2CH3反应的是:A: RMgXB: NaHSO3饱和水溶液C: PCl5D: LiAlH4正确答案:(单选题) 5: 下列哪个化合物可以起卤仿反应?A: CH3CH2CH2OHB: C6H5CH2CH2OHC: CH3COCH2CH2COCH3D: HCHO正确答案:(单选题) 6: 下列化合物能在氢氧化钠溶液中进行歧化反应的是()。
A: 乙醛B: 呋喃C: α-呋喃甲醛D: α-呋喃甲酸正确答案:(单选题) 7: 1-甲基-4-异丙基环己烷有几种异构体?A: 2种B: 3种C: 4种D: 5种正确答案:------------------------------------------------------------------------------------------------------------------------------ (单选题) 8: 氢化铝锂和硼氢化钠都是常用的氢化金属络合物,当用它们还原醛或酮时,分子中的四个氢原子都能进行反应,这类反应的特点是:A: 能产生氢正离子B: 能产生氢负离子C: 能产生氢自由基D: 铝或硼提供电子正确答案:(单选题) 9: 下列对于淀粉和纤维素的叙述中,正确的是A: 互为同分异构体B: 化学性质完全相同C: 碳、氢、氧元素的质量比完全相同D: 结构相同正确答案:(单选题) 10: 下述反应能用来制备伯醇的是:A: 甲醛与格氏试剂加成, 然后水解B: 乙醛与格氏试剂加成, 然后水解C: 丙酮与格氏试剂加成, 然后水解D: 苯甲腈与格氏试剂加成, 然后水解正确答案:(单选题) 11: 下列哪种糖不能产生变旋作用?A: 蔗糖B: 纤维二糖C: 乳糖D: 果糖正确答案:(单选题) 12: 将质量相同的下列羧酸完全酯化时,需用乙醇质量最多的是A: 蚁酸B: 乙酸C: 丙酸D: 草酸正确答案:(单选题) 13: 下列说法中,正确的是A: 酯类水解的产物一定是醇和羧酸B: 能发生水解反应且生成物中有醇的有机物一定是酯C: 油、脂肪均兼有酯和烯烃的一些化学性质D: 硝化甘油就其分子结构看属于酯类正确答案:(单选题) 14: 在实验室中,必须都用水浴加热的一组实验是A: 乙醇制乙烯,制酚醛树脂B: 银镜反应,由苯制硝基苯C: 制溴苯,制乙酸乙酯D: 卤代烃水解,酯的水解正确答案:------------------------------------------------------------------------------------------------------------------------------ (单选题) 15: 下列哪个化合物能生成稳定的格氏试剂?A: CH3CHClCH2OHB: CH3CH2CH2BrC: HC≡CCH2ClD: CH3CONHCH2CH2Cl正确答案:(单选题) 16: 羧酸的沸点比相对分子质量相近的烃,甚至比醇还高。
------------------------------------------------------------------------------------------------------------------------------ (判断题) 1: 在8253的方式控制字中,有一项计数锁存操作,其作用是暂停计数器的计数。
()A: 错误B: 正确正确答案:(判断题) 2: 若各中断源的优先级是一样的,则可用自动循环优先级来实现。
()A: 错误B: 正确正确答案:(判断题) 3: 8225A的“端口C置1/置0控制字”不能写入其控制寄存器中。
()A: 错误B: 正确正确答案:(判断题) 4: DMA控制器8237A现行字节数寄存器的值减到0时,终止计数。
()A: 错误B: 正确正确答案:(判断题) 5: 采用直接寻址输入/输出指令的最大端口地址为0FFH。
()A: 错误B: 正确正确答案:(多选题) 1: 下列属于8086的BIU组成部分的有( )A: 通用寄存器组B: 总线控制逻辑C: ALUD: 物理地址加法器正确答案:(多选题) 2: 8255A的B口设置为方式1输出,其引脚收到一个负脉冲说明( )。
A: CPU已将一个数据写到端口BB: 外设已将数据由端口B取走C: 请求CPU送下一个数据D: INTRB引脚上的中断请求已被CPU响应正确答案:(多选题) 3: 若需将数据段中的源串传送到附加段的目的串,可用的指令有( )A: MOVB: MOVSC: SCASD: LODS和STOS正确答案:(单选题) 1: 在下面各类总线中,( )是一种串行总线接口。
A: SCSIB: ISAC: USB------------------------------------------------------------------------------------------------------------------------------ D: EISA正确答案:(单选题) 2: 在PC/XT中,NMI中断的中断矢量在中断矢量表中的位置。
吉大18春学期《自动控制原理》在线作业一-0003试卷总分:100 得分:100一、单选题(共5 道试题,共20 分)1.题面见图片{图}A.DB.CC.BD.A答案:D2.题面见图片{图}A.DB.CC.BD.A答案:B3.题面见图片{图}A.DB.CC.BD.A答案:D4.题面见图片{图}A.DB.CC.BD.A答案:D5.题面见图片{图}A.AB.BC.CD.D答案:B二、多选题(共5 道试题,共20 分)6.对控制系统的基本要求是()。
A.稳B.快C.准D.慢答案:ABC7.控制系统按信号传递的形式分为哪两类()A.单变量系统B.多变量系统C.连续系统D.离散系统答案:CD8.在方块图的简化过程中,应该遵循两条准则()。
A.回路中传递函数的乘积发生改变B.回路中传递函数的乘积保持不变C.前向通道中传递函数的乘积发生改变D.前向通道中传递函数的乘积保持不变答案:BD9.下列属于典型输入信号的是()A.阶跃函数B.速度函数C.加速度函数D.脉冲函数答案:ABCD10.下列能作为系统暂态响应性能指标的是()。
A.最大超调量B.延迟时间C.峰值时间D.上升时间答案:ABCD三、判断题(共15 道试题,共60 分)11.阻尼比等于0时,系统处于临界阻尼情况。
答案:错误12.支路是连接两个节点的定向线段,支路的增益为传输。
答案:正确13.阻尼自然频率仅与系统自身有关,和外界无关。
答案:正确14.支路表示了一个信号对另一个信号的函数关系。
答案:正确15.对于给定系统,信号流程图是唯一的。
------------------------------------------------------------------------------------------------------------------------------ (单选题) 1: 题面见图片A: AB: BC: CD: D正确答案:(单选题) 2: 题面见图片A: AB: BC: CD: D正确答案:(单选题) 3: 题面见图片A: AB: BC: CD: D正确答案:(单选题) 4: 题面见图片A: AB: BC: CD: D正确答案:(单选题) 5: 题面见图片A: AB: BC: CD: D正确答案:(多选题) 1: 对控制系统的基本要求是()。
A: 稳B: 快C: 准D: 慢正确答案:(多选题) 2: 以下有关传递函数的说明,正确的是()。
A: 传递函数的概念仅用于线性定常系统B: 系统的传递函数是一种数学模型C: 传递函数是系统本身的一种属性D: 它表示联系输出变量与输入变量的常微分方程的一种运算方法正确答案:(多选题) 3: 传递函数是指下列哪两项的比值关系()------------------------------------------------------------------------------------------------------------------------------ A: 系统输出B: 系统输入C: 反馈D: 偏差正确答案:(多选题) 4: 在方块图的简化过程中,应该遵循两条准则()。
A: 前向通道中传递函数的乘积保持不变B: 前向通道中传递函数的乘积发生改变C: 回路中传递函数的乘积保持不变D: 回路中传递函数的乘积发生改变正确答案:(多选题) 5: 控制系统的性能由以下两部分组成()。
A: 静态性能B: 动态性能C: 常态性能D: 非常态性能正确答案:(判断题) 1: 如果劳斯表出现全零行,那么系统必定不稳定。
------------------------------------------------------------------------------------------------------------------------------ (单选题) 1: 某国有公司出纳甲意图非法占有本人保管的公共财物,但不使用自己手中的钥匙和所知道的密码,而是使用铁棍将自己保管的保险柜打开并取走现金3万元。
之后,甲伪造作案现场,声称失窃。
关于本案,下列哪一选项是正确的?()A: 甲虽然是国家工作人员,但没有利用职务上的便利,故应认定为盗窃罪B: 甲虽然没有利用职务上的便利,但也不属于将他人占有的财物转移为自己占有,故应认定为侵占罪C: 甲将自己基于职务保管的财物据为己有,应成立贪污罪D: 甲实际上是通过欺骗手段获得财物的,应认定为诈骗罪正确答案:(单选题) 2: 甲对乙使用暴力,欲将其打残。
乙慌忙掏出手机准备报警,甲一把夺过手机装进裤袋并将乙打成重伤。
甲在离开现场五公里后,把乙价值7000元的手机扔进水沟。
甲的行为构成何罪?()A: 故意伤害罪、盗窃罪B: 故意伤害罪、抢劫罪C: 故意伤害罪、抢夺罪D: 故意伤害罪、故意毁坏财物罪正确答案:(单选题) 3: 甲持西瓜刀冲入某银行储蓄所,将刀架在储蓄所保安乙的脖子上,喝令储蓄所职员丙交出现金1万元。
见丙故意拖延时间,甲便在乙的脖子上划了一刀。
刚取出5万元现金的储户丁看见乙血流不止,于心不忍,就拿出1万元扔给甲,甲得款后迅速逃离。
对甲的犯罪行为,下列哪一选项是正确的?()A: 抢劫罪(未遂)B: 抢劫罪(既遂)C: 绑架罪D: 敲诈勒索罪正确答案:(单选题) 4: 甲某因工头乙某拖欠自己工资,遂于某日下午2时许将乙某之子丙某(5岁)诱骗至一工地内看管,并电话通知乙某当日交款。
当晚20时许,甲某在某车站取款时,被抓获归案。
甲某的行为:()A: 不构成犯罪B: 构成绑架罪C: 构成非法拘禁罪D: 构成拐骗儿童罪正确答案:(单选题) 5: 乙某持甲某的借条要甲某还钱,甲某不仅不还钱,反而指使丙某、丁某将乙某强行扣留在一暗室内,并对其进行殴打,直至乙某交出借条承诺永不索还,才将乙某释放。
------------------------------------------------------------------------------------------------------------------------------ (单选题) 1: 在下列逻辑电路中,不是组合逻辑电路的有()A: 译码器B: 编码器C: 全加器D: 寄存器正确答案:(单选题) 2: 欲使JK触发器按Qn+1=Qn工作,可使JK触发器的输入端()A: J=K=1B: J=Q,K=/QC: J=/Q ,K=QD: J=Q,K=1正确答案:(单选题) 3: 以下表达式中符合逻辑运算法则的是( ).A: C·C=C2B: 1+1=10C: 0<1D: A+1=1正确答案:(单选题) 4: 在一个8位的存储单元中,能够存储的最大无符号整数是( ).A: (256)10B: (127)10C: (FE)16D: (255)10正确答案:(单选题) 5: 以下电路中常用于总线应用的有().A: TSL门B: OC门C: 漏极开路门D: CMOS与非门正确答案:(单选题) 6: 存储8位二进制信息要()个触发器A: 2B: 3C: 4D: 8正确答案:(单选题) 7: 欲使JK触发器按Qn+1=/Qn 工作,可使JK触发器的输入端()A: J=K=0B: J=Q,K=/QC: J=/Q ,K=QD: J=Q,K=0正确答案:(单选题) 8: 一位8421BCD码计数器至少需要()个触发器------------------------------------------------------------------------------------------------------------------------------ A: 3B: 4C: 5D: 10正确答案:(单选题) 9: 对于JK触发器,若J=K,则可完成()触发器的逻辑功能A: RSB: DC: TD: T'正确答案:(单选题) 10: 逻辑表达式Y=AB可以用()实现A: 正或门B: 正非门C: 正与门D: 或非门正确答案:(判断题) 1: 若两个函数具有不同的逻辑函数式,则两个逻辑函数必然不相等。
吉大18春学期《控制工程基础》在线作业一-0003
幅相频率特性曲线与对数频率特性曲线的关系是()。
A:幅相频率特性曲线上的单位圆相当于对数频率特性曲线上的-20分贝线B:幅相频率特性曲线上的单位圆相当于对数频率特性曲线上的+20分贝线C:幅相频率特性曲线上的单位圆相当于对数频率特性曲线上的零分贝线D:幅相频率特性曲线上的单位圆相当于对数频率特性曲线上的+1分贝线答案:C
二阶系统的阻尼比ζ,等于()。
A:系统的粘性阻尼系数
B:临界阻尼系数与系统粘性阻尼系数之比
C:系统粘性阻尼系数与临界阻尼系数之比
D:系统粘性阻尼系数的倒数
答案:C
系统对单位斜坡函数输入R(s)=1/s2的稳态误差为()。
A:位置误差
B:速度误差
C:加速度误差
D:系统误差
答案:B
对于二阶系统的超调量Mp,以下说法正确的是()。
A:只与阻尼比有关
B:只与自然频率有关
C:与阻尼比无关
D:是一个定值
答案:A
二阶系统的传递函数为G(s)=3/(4s<sup>2</sup>+s+100),其无阻尼固有频率ωn是()。
A:10
B:5
C:2.5
D:25
答案:B
若F(s)=10/s(s+2),则t趋向于无穷时,f(t)=()。
A:∞。
------------------------------------------------------------------------------------------------------------------------------ (单选题) 1: 题面见图片
A: A
B: B
C: C
D: D
正确答案:
(单选题) 2: 题面见图片
A: A
B: B
C: C
D: D
正确答案:
(单选题) 3: 题面见图片
A: A
B: B
C: C
D: D
正确答案:
(单选题) 4: 题面见图片
A: A
B: B
C: C
D: D
正确答案:
(单选题) 5: 题面见图片
A: A
B: B
C: C
D: D
正确答案:
(多选题) 1: 对控制系统的基本要求是()。
A: 稳
B: 快
C: 准
D: 慢
正确答案:
(多选题) 2: 控制系统按信号传递的形式分为哪两类()
A: 单变量系统
B: 多变量系统
C: 连续系统
D: 离散系统
正确答案:
(多选题) 3: 在方块图的简化过程中,应该遵循两条准则()。
------------------------------------------------------------------------------------------------------------------------------ A: 前向通道中传递函数的乘积保持不变
B: 前向通道中传递函数的乘积发生改变
C: 回路中传递函数的乘积保持不变
D: 回路中传递函数的乘积发生改变
正确答案:
(多选题) 4: 下列属于典型输入信号的是()
A: 阶跃函数
B: 速度函数
C: 加速度函数
D: 脉冲函数
正确答案:
(多选题) 5: 下列能作为系统暂态响应性能指标的是()。
A: 延迟时间
B: 最大超调量
C: 峰值时间
D: 上升时间
正确答案:
(判断题) 1: 阻尼比等于0时,系统处于临界阻尼情况。
A: 错误
B: 正确
正确答案:
(判断题) 2: 支路是连接两个节点的定向线段,支路的增益为传输。
A: 错误
B: 正确
正确答案:
(判断题) 3: 阻尼自然频率仅与系统自身有关,和外界无关。
A: 错误
B: 正确
正确答案:
(判断题) 4: 支路表示了一个信号对另一个信号的函数关系。
A: 错误
B: 正确
正确答案:
(判断题) 5: 对于给定系统,信号流程图是唯一的。
A: 错误
B: 正确
正确答案:
(判断题) 6: 传递函数是一种以系统参数表示的线性定常系统的输入量与输出量之间的关系式。
A: 错误
B: 正确
正确答案:
(判断题) 7: 一个动态特性好的系统既要过度过程时间短又要超调量小。
------------------------------------------------------------------------------------------------------------------------------ A: 错误
B: 正确
正确答案:
(判断题) 8: 输出量与作用误差信号之比,叫做前向传递函数。
A: 错误
B: 正确
正确答案:
(判断题) 9: 系统脉冲响应的拉氏变换是系统的传递函数。
A: 错误
B: 正确
正确答案:
(判断题) 10: 状态空间分析法是现代控制理论的基础。
A: 错误
B: 正确
正确答案:
(判断题) 11: 系统的稳定性表现为其时域响应的收敛性。
A: 错误
B: 正确
正确答案:
(判断题) 12: 反馈环节的一个重要作用是在输出量与输入量进行比较之前,改变输出量。
A: 错误
B: 正确
正确答案:
(判断题) 13: 稳态误差提供误差随t变化的信息。
A: 错误
B: 正确
正确答案:
(判断题) 14: 对于线性系统,如果在小范围内是稳定的,则它在大范围内不一定稳定。
A: 错误
B: 正确
正确答案:
(判断题) 15: 稳态误差系数和稳态误差只有对稳定系统才有意义。
A: 错误
B: 正确
正确答案:
(单选题) 1: 题面见图片
A: A
B: B
C: C
D: D
正确答案:
(单选题) 2: 题面见图片
A: A
------------------------------------------------------------------------------------------------------------------------------ B: B
C: C
D: D
正确答案:
(单选题) 3: 题面见图片
A: A
B: B
C: C
D: D
正确答案:
(单选题) 4: 题面见图片
A: A
B: B
C: C
D: D
正确答案:
(单选题) 5: 题面见图片
A: A
B: B
C: C
D: D
正确答案:
(多选题) 1: 对控制系统的基本要求是()。
A: 稳
B: 快
C: 准
D: 慢
正确答案:
(多选题) 2: 控制系统按信号传递的形式分为哪两类()
A: 单变量系统
B: 多变量系统
C: 连续系统
D: 离散系统
正确答案:
(多选题) 3: 在方块图的简化过程中,应该遵循两条准则()。
A: 前向通道中传递函数的乘积保持不变
B: 前向通道中传递函数的乘积发生改变
C: 回路中传递函数的乘积保持不变
D: 回路中传递函数的乘积发生改变
正确答案:
(多选题) 4: 下列属于典型输入信号的是()
A: 阶跃函数
B: 速度函数
------------------------------------------------------------------------------------------------------------------------------ C: 加速度函数
D: 脉冲函数
正确答案:
(多选题) 5: 下列能作为系统暂态响应性能指标的是()。
A: 延迟时间
B: 最大超调量
C: 峰值时间
D: 上升时间
正确答案:
(判断题) 1: 阻尼比等于0时,系统处于临界阻尼情况。
A: 错误
B: 正确
正确答案:
(判断题) 2: 支路是连接两个节点的定向线段,支路的增益为传输。
A: 错误
B: 正确
正确答案:
(判断题) 3: 阻尼自然频率仅与系统自身有关,和外界无关。
A: 错误
B: 正确
正确答案:
(判断题) 4: 支路表示了一个信号对另一个信号的函数关系。
A: 错误
B: 正确
正确答案:
(判断题) 5: 对于给定系统,信号流程图是唯一的。
A: 错误
B: 正确
正确答案:
(判断题) 6: 传递函数是一种以系统参数表示的线性定常系统的输入量与输出量之间的关系式。
A: 错误
B: 正确
正确答案:
(判断题) 7: 一个动态特性好的系统既要过度过程时间短又要超调量小。
A: 错误
B: 正确
正确答案:
(判断题) 8: 输出量与作用误差信号之比,叫做前向传递函数。
A: 错误
B: 正确
正确答案:
(判断题) 9: 系统脉冲响应的拉氏变换是系统的传递函数。
------------------------------------------------------------------------------------------------------------------------------ A: 错误
B: 正确
正确答案:
(判断题) 10: 状态空间分析法是现代控制理论的基础。
A: 错误
B: 正确
正确答案:
(判断题) 11: 系统的稳定性表现为其时域响应的收敛性。
A: 错误
B: 正确
正确答案:
(判断题) 12: 反馈环节的一个重要作用是在输出量与输入量进行比较之前,改变输出量。
A: 错误
B: 正确
正确答案:
(判断题) 13: 稳态误差提供误差随t变化的信息。
A: 错误
B: 正确
正确答案:
(判断题) 14: 对于线性系统,如果在小范围内是稳定的,则它在大范围内不一定稳定。
A: 错误
B: 正确
正确答案:
(判断题) 15: 稳态误差系数和稳态误差只有对稳定系统才有意义。
A: 错误
B: 正确
正确答案:。