(完整版)应急预案组织机构图
- 格式:doc
- 大小:16.73 KB
- 文档页数:1
总体应急预案框架图一、引言为了有效应对突发事件,保障公众的生命财产安全和社会的稳定,需要制定一份全面的应急预案。
本预案旨在明确应急管理的组织体系、工作机制、应急资源和响应程序,为应急管理工作提供指导和规范。
二、应急预案框架1、组织体系应急预案的组织体系包括领导机构、协调机构、执行机构和监督机构。
领导机构负责决策和指挥,协调机构负责沟通和协调,执行机构负责具体执行应急响应工作,监督机构负责对整个应急响应过程进行监督。
2、工作机制应急预案的工作机制包括风险评估、预警、应急响应、恢复和重建四个阶段。
风险评估阶段通过对潜在风险源的评估,识别出可能发生的突发事件;预警阶段根据风险评估结果,发布预警信息;应急响应阶段根据预警信息,启动应急响应程序,开展救援和处置工作;恢复和重建阶段对受灾地区进行清理和重建,恢复正常生产生活秩序。
3、应急资源应急预案的应急资源包括人力资源、物资资源、财力资源和技术资源。
人力资源包括专业救援队伍、志愿者队伍等;物资资源包括应急救援装备、救援物资等;财力资源包括政府拨款、社会捐助等;技术资源包括专家队伍、技术支持等。
4、响应程序应急预案的响应程序包括接警、判断响应级别、启动应急响应程序、现场处置和后期处理五个环节。
接警环节负责接收突发事件的信息;判断响应级别环节根据事件严重程度判断需要启动的应急响应级别;启动应急响应程序环节根据响应级别启动相应的应急预案;现场处置环节负责组织救援和处置工作;后期处理环节负责对事件进行调查、总结和反思,为今后的应急管理工作提供经验和教训。
三、结论总体应急预案框架图是指导应急管理工作的关键文件之一,其目的是建立一个完善的应急管理体系,提高应对突发事件的能力和水平。
通过明确组织体系、工作机制、应急资源和响应程序等方面的内容,可以确保在突发事件发生时能够迅速、有效地开展救援和处置工作,最大程度地减少人员伤亡和经济损失,保障公众的生命财产安全和社会的稳定。
9.2 整体应急方案框架图—1—9.3组织指挥系统构造图领导机构区应急指挥中心做事机构区应急管理办公室、应急办理办公室工作机构各应镇区︵急相区街处关专道置委家︶现办组? 场分局指区挥应部急指挥镇抢安宣专街险全传专业道救防报业机?构分灾护道机组组组构区—2—9.4应急指挥信息系统表示图—3—9.5 突发公共事件预警公布流程图信息监测与通告各级监测机构省专项应急指挥机构信息研判省专项应急指挥机构JET (黄色)请示省应急指挥中心III 级预警公布IV 级(蓝色)请示省应急指挥中心IV 级预警公布省专项应急指事件上报挥机构省应急指挥中心等级确认省专项应项指挥机构请示省长II 级预警公布请示国务院省应急指挥中心I 级预警公布国家或省长签发市应急指挥中心市应级指挥中心市应急指挥中心市级或县级应急指挥中心省应级指挥中心总指挥(分管副省长)省应急指挥中心总指挥(分管副省长)请示省长后签发—4—9.6 特别重要突发公共事件应急处理系统框架市应急指挥中心总指挥:市长市应急管理办公室市应急市有处关置专部现家委场组办指局挥部应应应协急急急调专处救保处业置援障置机责专相相构任业关关单部单单位门位位区总应急指指挥挥?区中长心镇区各︵街专区道项︶应专?急家分指组区挥应中急心指挥中心—5—9.7 重要突发公共事件应急处理系统框架市应急指挥中心总指挥:副市长市应急管理办公室市应急市有处关置专部现家委场组办指局挥部应应应协急急急调处救保处置援障置责专相相任业关关单部单单位门位位区总应急指指挥挥?区中长心镇区各街专道项区? 应专分急家区指组应挥急中指心挥中心—6—9.8 较大突发公共事件应急处理系统框架区应急指挥中心总指挥: 分管副区长区应急管理办公室或市各专项镇 应 区街 急各道处 区专 区 ?置 项 相分 关 专 现 应 区 委 家 场 急 应 办 组指 指 急 局挥指 挥 挥部部镇 应 应 应 协急 急 急 调专 街 处 救 保 处 专 业 道 置 援 障 置 业 机 ? 责 专 相 相 机 构分 任 业 关 关 构区单 部 单 单位 门 位 位— 7 —9.9 突发公共事件应急处理流程图(发生地报警类)110等联动部门镇街道、分事发地先期处理镇(街道)、分区应急指挥事件上报市应急指挥中心等级确认Ⅲ级Ⅳ级镇(街道)、分区Ⅰ、Ⅱ级区应急指升级启动市级升级启动、镇(街道)、启动市级建立区级现区应急指挥中心抢险救援组应急处理区专项应急指挥机通讯保障组应急结束灾情评估组区应急指善后重修事发地政府—8—9.10 突发公共事件应急处理流程图(监测机构报警类)市专项应急市应急指挥中心市专项应急市应急指挥中心信息监测接警、报警Ⅲ级事件上报等级确认升级Ⅰ、Ⅱ级启动市级预区应急各级监测机构市专项应急指挥机构Ⅳ级区接警、预警事发地区应急指挥启动启动镇(街升级建立区级区应急指挥中心区专项应急指挥机应急处理抢险救援组应急结束通讯保障组灾情评估组善后重修地方政府—9—。
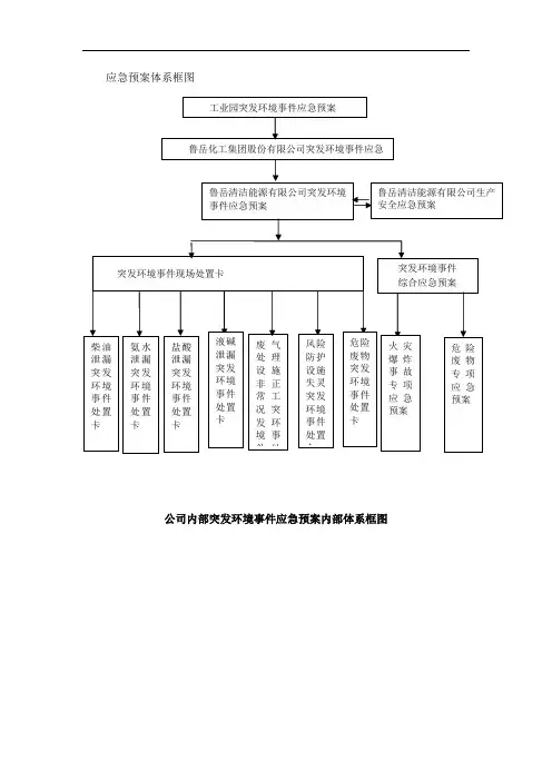
应急预案体系框图
公司内部突发环境事件应急预案内部体系框图
突发环境事件现场处置卡
突发环境事件 综合应急预案
鲁岳清洁能源有限公司突发环境事件应急预案
柴油泄漏突发环境事件处置卡 鲁岳清洁能源有限公司生产安全应急预案
废气处理设施非正常工况突发环境事件 处氨水泄漏突发环境事件 处置卡 火灾爆炸事故专项应急预案
危险废物专项应急预案
风险防护设施失灵突发环境事件处置卡
危险废物突发环境事件 处置卡
盐酸泄漏突发环境事件 处置卡
鲁岳化工集团股份有限公司突发环境事件应急
工业园突发环境事件应急预案
液碱泄漏突发环境事件 处置卡。
应急预案体系图应急预案的构成应急预案是指针对可能发生的突发事件,为迅速、有效、有序地开展应急行动而预先制定的行动方案。
一个完整的应急预案通常由以下几部分构成:1.总则总则部分对应急预案的基本原则、编制目的、适用范围、组织架构等进行明确规定。
2.组织架构组织架构部分包括应急领导机构、应急协调机构、应急指挥中心和应急队伍等。
3.风险分析风险分析部分包括对可能发生的突发事件类型、风险等级、影响范围等进行全面分析。
4.资源储备资源储备部分包括应急物资、应急装备、应急食品、医疗资源等方面的储备计划。
5.应急行动方案应急行动方案部分针对不同类型的突发事件制定相应的应急行动方案,包括预警机制、应急响应程序、处置措施等。
6.后期处理后期处理部分包括灾后重建、善后处理、总结评估等方面的内容。
应急预案体系的建设建设应急预案体系是保障公共安全的重要措施之一,具有以下重要意义:1.提高应对突发事件的能力应急预案体系明确了应对各类突发事件的组织机构、程序和资源储备等方面的要求,能够有效地提高应对突发事件的能力。
2.减少灾害损失和影响通过制定应急预案,可以提前预测和评估可能发生的灾害及其影响,并采取相应的措施进行防范和应对,从而减少灾害损失和影响。
3.维护社会稳定和公共安全应急预案体系能够有效地协调各方面资源,迅速组织应急队伍进行救援和处理,对于维护社会稳定和公共安全具有重要作用。
4.提高国际竞争力制定完善的应急预案体系是国际社会普遍重视的问题之一,也是国际竞争力的重要体现。
完善的应急预案体系能够提高国家在国际事务中的形象和地位,增强国际竞争力。
建设应急预案体系的措施为了建设完善的应急预案体系,需要采取以下措施:1.加强组织领导和管理体制建设加强对应急预案体系建设的组织领导和管理体制建设,明确各级政府和部门的职责和任务,建立高效的协调机制和决策机制。
2.加强风险评估和监测预警机制建设加强对应急预案体系的风险评估和监测预警机制建设,对可能发生的突发事件进行全面分析和评估,及时掌握风险信息并采取相应的防范措施。
应急组织机构图及安全组织架构图
1 / 21
精品文档
湖南瀚洋环保科技应急组织机构图
应急总指挥:总经理
应急副总指挥:厂长
信息
后勤 技术 抢险 善后 联络 保障 支持 救援 处置 组: 组:
组:
组:
组: 平安
环保 行政 技术 燃烧 人事 主管
总监 主管 主管
经理
.
应急组织机构图及安全组织架构图
2 / 22
精品文档
湖南瀚洋环保科技平安组织机构图
总经理
副总
行政总监 财务总监
开展 经理
行政 物流
主管 主管
安 安 安 全 全 全 员 员 员
厂长
运营 技术 人事 基建 采购 经理
经理
经理
经理
经理
燃烧
污水 固化 维修
工艺 实验
物化 填埋
室主 主管
主管 主管
主管
主管
管
安 安 安 安 安 全 全 全 全 全 员
员 员 员 员
平安环保 负责人
EHS 主管
.。
火灾应急方案组织架构图
1.广播安抚组由监控中心负责,通过广播通报火灾情况,安抚客户不用惊慌,指引客户如何逃生自救。
2.通讯联络组负责报警配合并迎接消防队到着火地点扑灭火灾。
3.灭火行动组负责开启灭火、排烟系统,扑灭初期火灾,直到消防队到来并配合消防队扑灭火灾。
4.疏散引导组负责疏散所有人员撤离火灾现场,撤离易燃易爆物品。
5.安全救护组负责救援被困受伤人员和抢救公司财物。
6.现场警戒组负责警戒好火灾区域内,保护好火灾现场,不要让不法分子趁乱盗取公司财物。
阻止已逃生出的人员再进入火场。
7.工程抢修组负责设置设备的维护抢修工作。
应急组织机构及职责1.1 应急组织机构为了应对公司可能发生的各类安全生产事故,最大程度的减少人员伤亡、财产损失、环境污染,快速、有效处置救援,豫港焦化公司成立有应急指挥部,受理各部门突发事故灾害的报告,指挥应急工作,并及时向有关领导和部门通报。
当发生事故灾害时,应急指挥系统立即运转,各应急小组得知事故灾害发生后,立即到公司应急指挥部报到,并履行各自职责。
下设办公室在安全环保处,负责日常工作,主要是对应急器材的查点,确保齐全有效,对应急队员应急处理技能的培训和安全防护知识器材使用进行培训,组织应急队员应急演练等工作。
应急组织机构见图1.1。
图1.1 应急组织机构框图1.2 应急组织机构职责1.2.1 应急领导小组的组成总指挥:全面负责指挥协调工厂的事故应急救援工作,启动工厂应急程序时任总指挥;副总指挥:协助总指挥领导协调公司的事故应急救援,负责分管范围内的事故应急救援的协调和指挥,启动公司应急程序时任副总指应急领导小组应急指挥部 医疗救护组 抢险救援组 环境监测组 安全警戒组 后勤保障组 洗 消 组 疏 散 组挥,总指挥不在时代替总指挥行使职权;指挥部成员:负责与部门工作职责有关的事故应急救援任务的协调,为总指挥和副总指挥提供建议和信息。
1.2.2 应急领导小组的职责1、是工厂应急管理的最高指挥机构,负责工厂事故应急指挥工作;2、严格执行国家事故应急救援工作的相关法律法规和集团公司相关规定,负责组建系统应急救援队伍并组织实际训练工作,筹措并管理应急救援工作所需的装备和物资,审批应急救援费用;3、负责工厂应急救援预案的修订和审批;4、接受事故报告,根据事故情况,确定实施事故应急救援方案,发出应急救援行动指令,决定扩大应急程序,协调政府和社会救助力量;5、负责向上级主管部门汇报应急情况;6、领导和指挥各救援专业组的救援行动,适时调整各专业组的人员组成,保证事故救援各项工作的正常进行;7、下达应急预案启动和终止指令;8、指挥事故善后处理工作,组织、协调并配合事故调查;9、向上级递交事故报告和事故应急救援报告,组织总结事故应急救援的经验和教训,针对问题组织修订完善应急预案。
应急组织机构图和安全组织架构图XXX的应急组织机构图如下:
应急总指挥:总经理
应急副总指挥:厂长
信息联络组包括安全主管、环保主管、后勤保障主管。
行政总监、技术支持主管组成行政总监组。
技术主管、抢险救援主管组成技术支持组。
焚烧主管、善后处置主管组成抢险救援组。
人事经理负责人事组。
XXX的安全组织机构图如下:
总经理、副总、行政总监和财务总监组成管理层。
厂长、发展经理、运营经理、技术经理、人事经理、基建经理和采购经理负责各自领域的管理。
安全环保负责人负责安全环保工作。
行政主管、物流主管、焚烧主管、污水物化主管、固化填埋主管、维修主管、工艺主管和实验室主管负责各自领域的管理。
XXX主管和安全员负责安全工作。
消防应急预案组织结构图
现场总指挥
消防中控组
灭火行动一组
灭
火
行
动
二
组
疏
散
引
导
组
水
电
保
障
组
戒
现
场
救
护
组通讯联络组
警
戒
保
卫
组
1现场总指挥: 接到火警后,到达火灾现场实施灭火.
全面负责现场灭火,人员疏散的统一指挥和协调及5人员疏散组:
灾后的恢复工作. 引导人员从安全就近的路口向安全出口逃生.
2通讯联络组: 6警戒保卫组:
出现火警后,根据火灾情况联络报警工作,并及时有负责各门岗的出入口警戒工作和引导消防车的进
效的负责各部门之间的通讯联络,时刻保持与指挥入,及阻止无关人员的靠近及进入.
部的通讯畅通,听从指挥组织和调度救援行动.(信息7水电保障组:
的上传下达) 确保火灾现场电源,气源切断和正常的应急照明. 3消防中控组:车库火灾时启动大型排烟设备,对现场消防水的
接到火警或通知时,及时通知有关人员赶到现场,负正常供应提供保障,火灾后保障切断电源的设备
责密切关注火势动态,及时、果断启用消防设施设恢复正常.
备. 8现场救护组:
4灭火行动组: 抢救伤员和物资,保障人员和物资的安全。