人力资源试用期转正考核工作流程图
- 格式:xlsx
- 大小:19.50 KB
- 文档页数:1
节选公司《人力资源管理制度》第三章招聘与配置管理第二节聘用管理7.试用7.1试用期规定7.1.1公司对新员工实行试用期和期满考核制度,试用期为一至六个月,在试用期内,将依据员工业绩和各方面的综合表现,由部门/单位负责人决定新员工是否能提前转正、按期转正、延期转正或解除劳动合同(或协议);7.1.2 新入职人员如果试用期内确实感到公司实际状况、发展机会与预期有较大差距,或由于其它原因而决定离开,可提出辞职,并按规定办理离职手续;相应,如新入职人员在试用期间的工作表现无法达到要求,公司可终止对其试用;7.1.3 试用期内,新入职人员因故请假,其试用期相应顺延;若假期累计超过7个工作日,公司将终止试用并与其解除劳动合同(或协议)。
7.2 试用期培训7.2.1集中培训新员工到职后,需接受公司安排的新员工集中培训,内容包括公司简介、企业文化、规章制度培训等。
集中培训由行政人事部组织安排;7.2.2入职引导人在职培训(1)用人部门需向新员工指派入职引导人,入职引导人通常为与该职位工作有紧密关系的资深员工;(2)入职引导人职责介绍公司的有关规则规定、所在部门职能和人员情况;讲解新入职人员本职工作的内容和要求;提供任何与工作有关的具体事务咨询,如确定办公座位、领用办公用品、使用办公设备、用餐等;7.2.3新员工试用期的具体工作安排,则由该新员工的直属上级负责。
8.转正8.1试用合格并完成入职培训的全部内容,由行政人事部提醒新入职员工填报《员工转正评定审批表》和试用期工作总结,并执行转正审批流程。
8.2 若新员工工作勤奋,掌握工作要领及时、适当、工作表现杰出,用人部门负责人有权缩短你的试用期,但试用期最短不应少于一个月。
8.3经批准转正的,由行政人事部发出《员工转正通知书》至用人部门。
用人部门负责人与新员工进行转正谈话,提出转正后的工作安排及要求。
8.3 由行政人事部办理员工职位及薪资变更相关手续,并将试用考核相关资料归入个人资料卷宗。
新员工入职到转正流程图详解新员工入职到转正流程流程图:步骤说明:1.发聘用通知书1.1 邮件发送《聘用通知书》人力资源部上午9:00以邮件的形式向新员工发《聘用通知书》(详见附表1 聘用通知书)。
1.2 电话确认人力资源部下午13:00以电话形式联系新员工,电话确认其是否收到《聘用通知书》。
若收到《聘用通知书》,确认其是否来公司入职;若没收到,分析原因进行解决。
例如:未收到邮件,人力资源部再次发送;未查收邮件,请他尽快查收,查收后回复。
电话确认后,将能来公司入职的新员工情况汇总,上报给总经理。
2.制定培训计划人力资源部根据新员工的职位、人数情况制定岗前培训计划。
岗前培训计划需经总经理审核,审核通过后执行,未通过进行修改再审核。
2.1 培训目的通过岗前培训,使新员工了解企业情况,端正工作态度,明确各自岗位职责,增强遵守各项规章制度的自觉性和工作责任心,从而使新员工能够较快的融入公司的工作环境及进入工作状态。
2.2 培训对象新入职员工2.3 培训内容首先,向新员工介绍公司的情况,包括公司简介、企业文化、企业形象、企业宗旨等;之后,进入培训主要内容。
如下:2.3.1 行为规范培训由人力资源部负责,培训主要内容是公司行为规范的相关事宜。
2.3.2 公司制度培训由人力资源部负责,培训主要内容是公司的主要规章制度,包括日常考勤制度、出差补助制度、请休假办理制度、加班审批制度等。
2.3.3 专业技术培训由相应职位的部门经理负责,培训主要内容是职位的主要职责和工作所需的专业技术知识。
2.4 培训时间人力资源部与职位相关部门经理进行协商,确定时间,上报给总经理审核。
原则上星期一上午9:00开始,9:00-11:00行为规范和公司制度培训,专业技术培训2-3天,具体时间长短依据新员工对岗位工作内容和专业技术的接受能力和应用能力而定。
2.5 培训地点会议室2.6培训方式讲授2.7培训讲师行为规范培训和公司制度培训由人力资源助理担任讲师,专业技术培训由相应职位的部门经理担任讲师。
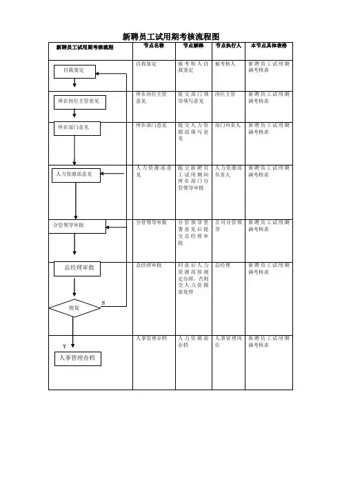
员工试用期满转正流程
【转正流程说明】:
1、试用期员工转正前详细填写《转正申请表》、《个人转正总结》后交上级主管逐层审批;
2、用人部门对申请人进行转正考核评估,并详细填写《员工入职试用表》中试用过程及结论,将可以转正员工的转正资料提前一周递交总部(延迟递交将影响转正时间),对不合格的告知其延长试用期或予以辞退;
3、总部人事对员工转正材料详细审核,转正资料填写不合格者,电话通知各分公司/办事处行政助理,并提出详细操作意见。
对于合格者,由人事组将资料提交综合管理办公室经理签署意见后上交分管副总、总经理批示;
4、转正审批流程结束后,给待转正员工发出《新员工试用结果通知单》,正式录用合格者并给予交纳五险,辞退不合格者;
5、所有流程文件归为个人档案。
附件:《转正申请表》、《个人转正总结》、《员工入职试用表》、《新员工试用结果通知单》
转正申请表填表日期:年月日
1.试用期员工在转正前1周,填写并提交该表格到综合管理办公室,同时提交正式工作总结;
2.本表逐级签字,最后由综合管理办公室保存。
个人转正总结
以下由申请人填写
【工作职责】:
【工作具体内容】:
【工作心得体会】:
【改正意见】:
总结人:
时间:年月日【直接上级主管评定】:
签字:
时间:年月日【分公司(办事处)负责人评定)】:
签字:
时间:年月日
员工入职试用表
新员工试用结果通知单。
员工转正申请流程图员工转正申请流程图员工转正申请是指员工在试用期结束后,希望正式成为公司的正式员工,并享受相应的福利和待遇。
以下是员工转正申请的流程图:1. 员工入职:- 完成面试和录用程序- 签订劳动合同- 进入试用期2. 试用期:- 员工按照公司规定的试用期时长工作- 与直接上级进行定期沟通和评估- 完成试用期内的培训和考核3. 试用期结束:- 员工与直接上级进行综合评估- 直接上级提交转正申请给人力资源部门4. 人力资源部门审核:- 人力资源部门收到转正申请后,核对员工的试用期表现和考核结果- 与直接上级进行沟通,了解员工的综合表现和发展潜力- 根据公司政策和标准,决定是否同意员工转正5. 转正决策通知:- 人力资源部门将转正决策通知直接上级和员工本人- 如果同意员工转正,通知员工签署正式劳动合同- 如果不同意员工转正,与员工进行解释和沟通,提供改进建议6. 签署正式劳动合同:- 如果员工转正,与员工签署正式劳动合同- 确定员工的薪资、福利和职位等信息- 正式将员工纳入公司的员工档案和人事管理系统7. 转正后的培训和发展:- 为转正员工提供必要的培训和发展机会- 制定个人发展计划,帮助员工提升能力和职业素养- 定期评估员工的工作表现和发展情况8. 员工福利和待遇:- 转正员工享受公司提供的各项福利和待遇- 包括薪资调整、加班补贴、带薪年假等以上是员工转正申请的流程图,通过这个流程,公司可以对员工的试用期表现进行评估,确定是否将其转正成为正式员工。
同时,员工也可以通过这个流程了解到自己的工作表现和发展情况,并享受到相应的福利和待遇。
员工试用期满转正流程
【转正流程说明】:
1、试用期员工转正前详细填写《转正申请表》、《个人转正总结》后交上级主管逐层审批;
2、用人部门对申请人进行转正考核评估,并详细填写《员工入职试用表》中试用过程及结论,将可以转正员工的转正资料提前一周递交总部(延迟递交将影响转正时间),对不合格的告知其延长试用期或予以辞退;
3、总部人事对员工转正材料详细审核,转正资料填写不合格者,电话通知各分公司/办事处行政助理,并提出详细操作意见。
对于合格者,由人事组将资料提交综合管理办公室经理签署意见后上交分管副总、总经理批示;
4、转正审批流程结束后,给待转正员工发出《新员工试用结果通知单》,正式录用合格者并给予交纳五险,辞退不合格者;
5、所有流程文件归为个人档案。
附件:《转正申请表》、《个人转正总结》、《员工入职试用表》、《新员工试用结果通知单》
转正申请表
填表日期:年月日
1.试用期员工在转正前1周,填写并提交该表格到综合管理办公室,同时提交正式工作总结;
2.本表逐级签字,最后由综合管理办公室保存。
个人转正总结
以下由申请人填写
【工作职责】:
【工作具体内容】:
【工作心得体会】:
【改正意见】:
总结人:
时间:年月日【直接上级主管评定】:
签字:
时间:年月日【分公司(办事处)负责人评定)】:
签字:
时间:年月日
员工入职试用表
新员工试用结果通知单。
深圳前沿装备工业集团有限公司新员工转正评估流程图
新员工转正流程说明
1、新员工在试用(期间)期满后填写《转正申请表》, 对自己在试用期的
工作做出书面总结,并向主管领导提出转正申请;
2、主管领导应与该员工面谈,双方对转正事宜达成一致意见,并在《转正申
请表》填写评价考核意见,评价内容应包括该员工在试用期内的工作态度、技能、配合性、可塑性等方面,并将考核结果填写清楚;
总结得出是否转正、延长转正、转岗试用、再试用及辞退等初步意见,主管部门领导签署意见并签字;
3、将《转正申请表》提交公司总裁办审核;
4、公司总裁办对该表审核,并填写意见;
5、然后交公司副总裁审批;
6、最后由集团公司董事长审批;
7、集团公司董事长批准后,该表由集团总裁办(人资)根据董事长的批准
意见,办理相关转正手续并进行存档保存备案。
下载更多管理工具,尽在******
员工转正考核工作流程
目标:
1.转正是对员工的一次工作评估的机会,也是公司优化人员的一个重要组成部分。
2.转正对员工来说是一种肯定与认可,转正考核流程的良好实施,可以为员工提供一次重新认识自己及工作的机会,帮助员工自我提高。
3.一般员工的转正由用人部门和各级人力资源部门进行审批并办理有关手续。
流程图:
20日前,人力资源部根据部门总监
及公司领导意见,给被考核人出具
《转正通知单》,重要的职位变化同
时在全公司范围内通告
每月1日,人力资源部提供转正名单
给相关人员及其经理
2日前,被考核人根据《员工转正考
核表》自评,并写评语
4日前,被考核人将《员工转正考核
表》交直接经理,由直接经理考核并
写评语。
直接经理在考评时要与该员
工进行面谈,其考核意见应得到员工
的认可,未经认可的意见由部门总监
协调
7日前,部门总监根据员工及其直接
经理的意见,确定考核结果,填写《人
事变动表》,并报人力资源部批准考核不合格,延长试用期或终止试用下载更多管理工具,尽在******。