人力资源管理全套流程图(管理制度+工作标准+作业流程)
- 格式:doc
- 大小:1.01 MB
- 文档页数:59
人力资源部管理体系及工作流程图1人力资源部工作流程图人力资源部工作流程图(总图)员工进入——退出公司轨迹招聘入职试用转正考勤考核评估薪酬福利奖惩入职培训接受岗位调整辞职正常工作劳动合同晋升降职转岗待岗培训请假调薪解除劳动合同执行公司制度享受公司支持……辞退终止劳动合同非正常退出公司发展战略组织结构设置工作分析职位说明书定岗定编组织结构图机构职责绩效管理薪酬福利培训发展员工关系……招聘入职试用转正考核评估薪酬职业生涯人才储备奖惩考勤休假员工活动离职劳动合同福利培训年度编制计划档案岗位调整人力资源部各部门间工作交接流程图各部门行政助理感谢你的观看人事专员人事主管培训企划主管薪酬福利主管人力资源经理培训审核部门考勤汇总每月初5日前汇总上报审批每月人员汇总每月初5日前上报审核备案备案人员需求申请每月15日前上报审核审批Y确定招聘途径实施人员招聘到位确定薪酬招聘用人部门人力资源部人力资源部经理公司总经理关联流程人员空缺有无编制NY职位说明书确定招聘方式增补申请审批审批Y取消或延期NY确定招聘渠道招聘会媒体校园其他发布招聘信息收集筛选简历初试复试复试经理级以上复试通过通过通过简历存档未通过未通过确定录用人选录用通知录用待遇谈判接受不接受外部内部发布招聘信息推荐自荐信工作分析薪酬入职资格验证通过档案绩效管理——考核被考核人考核人人力资源部公司总经理关联流程当月考核评审结束考核记录发布/归档员工考核项目自评公司考核项目评分表考核评审确认考核表考核考勤表考核启动公司考核项目申请审批公司考核项目申请表员工考核项目指定员工考核项目自定员工考核项目确定考勤薪酬考核表反馈绩效评价公司考核项目申请结束当月考核评审启动。
人力资源管理流程图-SOP·岗位设置管理流程流程名称岗位设置管理流程编码受控状态执行核心部门人力资源部控制部门人力资源总监行为实施环节各职能部门人力资源部人力资源总监总经理管理行为相关说明编制人员审核人员批准人员编制日期审核日期批准日期·人员编制管理流程流程名称人员编制管理流程编码受控状态执行核心部门人力资源部控制部门人力资源总监行为实施环节各用人部门人力资源部总经理办公会议总经理否是否否是否根据公司发展战略进行职能分解和机构设置根据人力资源规划确定编制工作分析审核职责划分与岗位设置意见制作职务说明书意见薪酬设计薪酬预算审核审批实施是是是否管理行为相关说明编制人员审核人员批准人员编制日期审核日期批准日期·增加编制申请流程流程名称增加编制申请流程编码受控状态执行核心部门各用人部门控制部门人力资源总监行为实施环节各用人部门人力资源部总经理办公会议总经理是否进行各部门工作量分析提出编制草案对本部门编制提出意见审议制定具体的人员编制,并编制职位说明审核否是签批否是执行编制管理行为相关说明编制人员审核人员批准人员编制日期审核日期批准日期·用人申请流程流程名称用人申请编码受控状态执行核心部门用人部门控制部门分管总监行为实施环节用人部门部门负责人分管总监人力资源部否否提出增加编制的申请审核审议审批提出增编岗位人员素质要求决策内聘外聘内部招聘流程外部招聘流程是是是否管理行为相关说明编制人员审核人员批准人员编制日期审核日期批准日期·公司内部招聘流程流程名称公司内部招聘编码受控状态执行核心部门人力资源部控制部门人力资源总监行为实施环节用人部门人力资源部公司员工员工原就任部门是因调动、流失等原因出现职位空缺报告部门负责人判断不影响工作维持现状影响工作填写用人申请表审核核实是否否实施招聘流程行为相关说明编制人员审核人员批准人员编制日期审核日期批准日期·公司外部招聘流程流程名称公司外部招聘流程编码受控状态执行核心部门人力资源部控制部门人力资源总监行为实施环节用人部门人力资源部应聘人员分管总监人力资源总监关键人员不能调离决定内聘决定外聘用工申请流程判断对内发布招聘启事报名,填写应聘登记表用人部门面试,人力资源部提供相关支持面试人员筛选判定与员工沟通,必要时请人力资源部协调通知职员,并办理调动手续非关键人员公司外部招聘程序管理行为相关说明编制人员审核人员批准人员编制日期审核日期批准日期·新员工入职流程流程名称新员工入职流程编码受控状态执行核心部门人力资源部控制部门人力资源总监行为实施环节人力资源部用人部门决定外聘决定内聘用工申请流程判断对外发布招聘启事报名,填写应聘登记表用人部门面试,人力资源部提供相关支持面试人员筛选通知报到报到公司内部招聘程序审核否是入职流程管理行为相关说明编制人员审核人员批准人员编制日期审核日期批准日期·劳动合同管理流程流程名称劳动合同管理流程编码受控状态执行核心部门人力资源部控制部门人力资源总监行为实施环节相关员工部门负责人分管领导人力资源部新员工建档工作证办理制度培训发放员工手册工作关系介绍人力资源部和用人部门配合进行岗前培训工作交接试用存档试用员工转正流程签订试用合同配合行政部办理后勤工作管理行为相关说明编制人员审核人员批准人员编制日期审核日期批准日期·新员工试用期满转正流程流程名称新员工试用期满转正流程编码受控状态执行核心部门人力资源部控制部门人力资源总监行为实施环节用人部门试用期满新员工人力资源部分管总监人力资源总监不合格新员工报到入职签订试用合同试用期满考核签订正式合同辞退流程合格劳动仲裁机构签字备案合同期满是否续签合同存档办理离职手续否是管理行为相关说明编制人员审核人员批准人员编制日期审核日期批准日期·岗位轮换流程流程名称岗位轮换流程编码受控状态执行核心部门人力资源部控制部门人力资源总监行为实施环节员工原工作部门负责人公司员工人力资源部接收部门负责人转正考核评估是否合格填写转正申请是否留用审核审批延长试用期员工辞退流程签订正式合同劳动仲裁机构签字备案存档是否是否是否否是管理行为相关说明编制人员审核人员批准人员编制日期审核日期批准日期·员工工作调动流程流程名称员工工作调动流程编码受控状态执行核心部门人力资资部控制部门人力资源总监行为实施环节被调动员工调出部门调入部门人力资源部总经理否根据员工职业生涯规划,编制轮换计划对轮换提出意见是否同意征求员工意见是否同意填写轮换表办理手续向原部门、接收部门下达工作安排和交接报到流程对轮换提出意见是否同意做好工作安排,准备接收接收是档案记录是是否否管理行为相关说明编制人员审核人员批准人员编制日期审核日期批准日期·职务任命流程流程名称职务任命流程编码受控状态执行核心部门人力资源部控制部门人力资源总监行为实施环节各职能部门人力资源部总经理办公会议总经理董事会超越权限否否否否是是调动申请审批审批审批审批下发调动通知工作交接员工关系移交员工接收工作安排档案记录工资关系调整是是管理行为相关说明任命权限根据《公司法》而定。
人力资源部工作流程图人力资源部工作流程图(总图)员工进入——退出公司轨迹招聘 入职试用转正薪酬 福利 奖惩入职培训辞职 劳动合同 培训 解除劳动合同享受公司支持辞退终止劳动合同非正常退出公司发展战组织结构设置 工作分析 职位说明定岗定编组织结构图 机构职绩效管薪酬福培训发员工关……招聘 入职试用转考核 评估薪酬 职业生涯人才储备奖惩 考勤 休假 员工活离职 劳动合福利培训 年度编制计档案 岗位 调整人力资源部各部门间工作交接流程图各部门行政助理人事专员人事主管培训企划主管薪酬福利主管人力资源经理考勤考核评估接受岗位调整退休正常工作晋升降职转岗待岗请假调薪执行公司制度……招聘用人部门人力资源部人力资源部经理公司总经理关联流程培训审核部门考勤每月初5日前汇总上报审批每月人员每月初5日前上报审核备备案人员需求每月15日前上审核审批Y确定招实施人员招聘到确定薪酬绩效管理——考核 被考核人考核人人力资源部公司总经理关联流程 人员空缺 有无编NY职位说明确定招增补申请 审批审批 Y取消NY确定招聘招聘媒体 校园 其他 发布招聘信收集筛选简初试 复试复试经理级以上复试 通过 通过通过简历存档 未通过未通确定录用录用录用 待遇谈判接受不接外部 内部发布招聘信推荐自荐工作分析 薪酬入职资格验通过档案绩效管理——评估 被评估人评估人(部门)人力资源部总经理关联规程当月考核评审结束 考核记录 发布/归档 员工考公司考核项目评分表考核评考核表考核考勤考公司考核项目申审公司考核项目申请表员工考核项目指员工考员工考核项目确定考勤 薪酬考核表反馈绩效评价公司考核项当月考核薪酬 外部信息员工人力资源部总经理关联流程辞退 处罚 培训 待岗Y N 晋升 培养奖励绩效考核 绩效是否符合岗位要求 个人报告书评价 工作表现 自评 评价 沟通评价结论 备案确认 一次申诉同意不同意受理调查 维持原结论YN人才储备 岗位调整 奖惩 离职奖惩 岗位调整 培训 绩效评估表改进计划 保持劳动合同 不续签 劳动合同 档案福利——社保 参保人员人力资源部人力资源部经理公司总经理 关联规程审批 N 行业统计数据 岗位评价薪酬调查岗位级别表 月薪金月工资明薪酬水平福利及其它补贴 工作分析职位 说明书 绩效评估绩效评估表制定年度薪金调整方案薪金调整方案实施年度薪金调整方案Y制作通知 发布文件 薪酬、福利调整通知 人事通知单签字确认考勤考核表考核 考勤 审批 NY计算薪金财务部接收国家法律法规福利 奖惩 其它浮动工资调整方案 福利调整方案奖惩 员工部门经理人力资源部 人力资源经理总经理关联流程个人资料提供审批办理社保增员签署意见 社保缴纳月社保个人扣缴/报销明细表档案薪酬福利国家政策制订年度社保基数调整方案审批审批年度社保基数调整方案执行和备案缴纳标准备财务部 转账岗位调整员工部门人力资源部总经理关联流程发布文件 取消或改变原决维持原决书面形式奖惩决定 行为表部门经理或相关部门调查取证并作书面结论人事部门调查取证并作书面结论 总经理指派专案小组调查取证并作书面结论 绩效评估 相关部门 行为表行为表审批 YN 终止一次申诉 理由是否 成立 YN 终止 文件存档离职 档案薪酬实奖励 处罚 通报表专项奖优秀员通报批罚款开除 起诉法律程序薪酬 ……人才储备 员工/主管部门经理 人力资源部 人力资源经理总经理关联流程固定时间部门经理会讨论,综合评价员评价结果人事通知单告知相关人存档非固定时根据公司发展或规划需要,提出岗位调整议案 经理例会讨论审批Y根据业务规划和工作计划,或员工不胜任岗位工作,提出岗位调整的书面因个人爱好特长等提出岗位调整的书面申请取消岗位调N档案考核 评估获知调薪 晋升 降职 转岗 待岗汇总并形成处理意见书面意见执行批示薪酬 劳动合同 劳动合同 劳动合同 劳动合同获知获知培训 员工部门人力资源部总经理关联流程考察报绩效评估 提名 提名表现表现编入人才发展名单 工作内容拓展计划 素质测评 考察 审批N终止Y培训计划 编制培养计划 确认 确认考察考察计划实施培训工作表现工作表现考察报N Y储备人才人才储备报反馈给岗位调整审批劳动合同员工人力资源部法务部备注人才储备 绩效评估培训需求培训需求工作分析职位说明满足必备 知识技能满足发展知识技能入职培训 在职培训 制定培训计划审批 YN实施培训计划 选择培训方式 选择培训课程 制定培训场地 确定预算参加总结 批转培训效果 评估培训评估记录 培训档案档案培训测试参加近期远期绩效评估入职新员工用人部门人力资源部相关职能部门关联流程确定签署合同类别确定合同编号制作劳动合同劳务协议合同制退休人临时人其他人其他协议盖章个人留存存挡劳动合同变更劳动合同续订劳动合同解除/终止制作变更协劳动合同续订书人事通知档案入职亲笔签名一式两份岗位调整绩效评估离职签名确认岗位调整试用转正 试用员工用人部门人力资源部总经理关联流程招聘档案 劳动合同聘用员身份证 学历证 学位证 职称证 ……照片一寸两存档新员工入职公司劳资保险转入 办理工资卡部门工作介绍新员工须知 阅读并入职培训/考员工手册 进入 试用期培训 试用收取签订劳动合同报到 提前一个工作入职准备工作行政部设施提供 工程部开通网络、电话 熟悉工作环考勤录入考勤员工直接领导部门行政专员人力资源部总经理 关联流程转正申请书提交直接领确认试用考核单直接领导对试用员工工人事部签署审进入试用期人事通知单合格员工留存档不合终止合离职入职档案绩效评估考核及反馈工作表现绩效考核转正薪酬试用期结束休假员工直接领导人力资源部总经理关联流程员工上下考勤记录说明签署意见考勤统计休假考核考勤考勤确认有无异YN事实调查并 提出处理意见Y执行批示薪酬薪酬 离职刷卡签署意见刷卡N档案员工人力资源部总经理存档机构 关联流程请假请假申请单签署意见审审存档考勤统考勤员工休假表反馈给员请假性质确Y延迟或N请假7天(含)以YN离职员工部门人力资源部人力资源经理总经理关联流程 建立公司内部 员工档案 身份证明 学历学位证明 各类证书 招聘资料 试用转正文件 奖惩文件 绩效评估报告 劳动合同及附件 离职文件离职绩效评估 奖惩 试用转正 劳动合同 招聘 入职 各类人事通知单 个人认为有必要放入档案的资料公司内部员工档案整理保存长期保存商调函档案自公司指定人才机构存档定期核算存档费审批 人事档案Y档案转入关于调入/调试用转正入职档案转递 商调函转个人认为有必要放入档案的资料N保存回费用结算财务部奖惩 绩效评估 薪酬 薪酬辞退 员工书面 员工离职期 预告表患病或非工伤医疗期满后,不能胜任工作的因公司机构调整无合适工作安排的 经培训或岗位调整后仍不能适应工作要求的 试用期间不符合录用条件的 严重违反公司规章制度的 被依法追究刑事责任的员工离职 申请表 发布离职预告指定工作接收人 预估最后 工作日审批 Y N取消申获知若有协办事宜书面工作交接交接顺利可办会签签署意见审批 Y N人事调员工离职通社保停档案调离职面结算薪社保停扣发薪记入档社保 档案社保薪酬处理意见 经理会讨审批 YN 发布开除文员工离职通社保停扣发薪记入档社保 档案终止并通知部门 其他交接不部门经理批准。
人力资源部管理体系及工作流程图人力资源部工作流程图人力资源部工作流程图1人力资源部工作流程图人力资源部工作流程图(总图) 公司发展战略组织机构职责结构图组织结构设置工作分析职位说明书定岗定编年度编制计划招聘绩效管理薪酬福利培训发展员工关系……岗位劳动合同考核薪酬调整入职评估福利人才储备试用转正培训考勤职业休假生涯档案奖惩离职员工活动员工进入——退出公司轨迹招聘劳动合同入职入职培训试用非正常退出享受公司支持终解转正辞薪福奖辞培止除职退酬利惩训劳劳正常工作动动执行公司制度合合考考评请…同同接受岗位调整勤核估假… 待晋降转调岗升职岗薪2人力资源部工作流程图退休人力资源部各部门间工作交接流程图各部门人事专员人事主管培训企划主管薪酬福利主管人力资源经理行政助理每月初5日前汇总上报部门考审批审核勤汇总每月初5日前上报每月人备案审核备案员汇总人员需每月15日前上报审核审批求申请Y 实施确定招聘途径确定薪酬培训人员招聘到位3人力资源部工作流程图招聘用人部门人力资源部人力资源部经理公司总经理关联流程4人力资源部工作流程图人员空缺工作分析职位说明书Y 有无编制确定招聘方式 N内部外部Y 发布招聘信息Y 审批审批增补申请推荐自荐信 N取消或延期招聘会媒体聘渠道确定招聘渠校园道其他发布招聘信息收集筛选简历初试简历通过未通过资格验证存档未通过复试通过复试经理级以上通过复试通过确定录用人录用选通知书待遇谈判薪酬不接受接受入职录用档案绩效管理——考核被考核人考核人人力资源部公司总经理关联流程5人力资源部工作流程图考核启动公司考核项目申请表审批公司考核项目申请公司考核项目员工考核员工考核项目指定申请结束项目自定当月考员工考核项目核评审确定启动员工考核考核评审考核表项目自评确认公司考核项目评分表考核表反馈当月考核评绩效评价审结束考核记录考勤发布/归档考核考勤表薪酬绩效管理——评估6人力资源部工作流程图被评估人评估人(部门) 人力资源部总经理关联规程工作表现自评个人报告书评价绩效考核绩效是否符合岗位要求N 保持 Y 劳动合同培养人才储备晋升岗位调整奖励奖惩培训培训处罚奖惩待岗岗位调整不续签劳动合同辞退离职沟通评价结论确认评价改进计划同意不绩效评档案同备案估表意一次申诉受理调查N Y 维持原结论薪酬7人力资源部工作流程图外部信息员工人力资源部总经理关联流程工作分析职位说明书岗位级别岗位评价表薪酬水平薪酬调查行业统计数据福利及其它补贴国家法律法规绩效评绩效评估估表N 薪金调整方案制定年度薪审批金调整方案浮动工资调整方案Y 福利调整方案实施年度薪金调整方案薪酬、福利制作通知调整通知发布文件人事通知签字确认单考核考勤考核考勤表福利奖惩其它 N计算薪金审批月薪金表Y财务部接收月工资明细福利——社保8人力资源部工作流程图参保人员人力资源部人力资源部经理公司总经理关联规程福利制订年度社保基数调整方案国家政策审批审批年度社保基数调整方案执行和备案个人资料审批提供签署意见缴纳标准备案办理社保增员/减档案员/汇缴手续社保缴纳月报表财务部转账社保个人扣缴/报销明细表薪酬奖惩9人力资源部工作流程图员工部门经理人力资源部人力资源经理总经理关联流程绩效评估相关部门规程人事部门调查取证并作书面总经理指派专行为表现行为表现结论案小组调查取及结果及结果证并作书面结论行为表现部门经理或相及结果关部门调查取证并作书面结论审批奖惩决定 N Y 终止一次申诉机会书面形式理由是否提交成立 Y N 维持原决定取消或改变原决定终止发布文件通报表扬奖励薪酬专项奖励优秀员工…… 实施通报批评薪酬处罚罚款离职开除起诉法律程序文件存档档案岗位调整10人力资源部工作流程图员工部门人力资源部总经理关联流程考核固定时间的部门经理会讨论,综合评价员工岗位调整评估评价结果告知相关人员人事通知单签字确认 (评价结果)档案存档非固定时间的岗位调整根据业务规划和工根据公司发展或规划需作计划,或员工不胜因个人爱好特长要,提出岗位调整议案任岗位工作,提出岗等提出岗位调整位调整的书面报告的书面申请汇总并形成处理意见书面意见审批经理例会讨论决定 YN取消岗位调整获知获知获知执行批示调薪薪酬晋升劳动合同降职劳动合同转岗劳动合同待岗劳动合同人才储备11人力资源部工作流程图员工/主管部门经理人力资源部人力资源经理总经理关联流程绩效评估表现提名提名表现编入人才发展名单审批N 终止Y素质测评考察培训计划工作内容拓展计划编制培养确认确认计划计划实施培训工作表现工作表现考察考察N 考察报告考察报告审批Y储备人才库岗位调整人才储备报告书反馈给各提名者12人力资源部工作流程图培训员工部门人力资源部总经理关联流程人才储备培训需求绩效评估工作分析培训需求职位说明书目的分析满足必备入职培训知识技能在职培训满足发展知识技能选择培训方式选择培训课程制定培训场地确定预算N制定培训计划审批Y 参加实施培训计划培训培训测试参加考试培训效果总结批转绩效评估评估远期近期培训评估表记录档案培训档案劳动合同13人力资源部工作流程图员工人力资源部法务部备注入职合同制确定退休人员签署合同类别临时人员其他人员确定合同编号劳动合同书制作劳务协议合亲笔签名同其他协议盖章一式两份存挡个人留存档案岗位调整劳动合同变更制作变更协议绩效评估劳动合同续订劳动合同续订书离职劳动合同岗位调整解除/终止人事通知单签名确认入职14人力资源部工作流程图新员工用人部门人力资源部相关职能部门关联流程招聘行政部设施提前一个工作日提供聘用员工工程部开通发布入职通知网络、电话入职准备工作确认照片一寸两张收身份证报到取学历证资学位证料职称证……存档档案签订劳动合同劳动合同熟悉工作环境考勤录入公司劳资保部门工作介新员工入职通知险转入绍办理工资卡新员工须知阅读并遵照执行员工手册入职培训/考核培训进入试用期试用试用转正15人力资源部工作流程图试用员工用人部门人力资源部总经理关联流程入职进入试用期绩效考核工作表现考核及反馈转正申请书提交直接领导确认直接领导对试试用考核单用员工工作评绩效评估价,签署意见人事部签署意见审批不合格终止合同离职人事通知单合格员工留存 (转正)试用期结束转为正式员工档案存档转正薪酬考勤16人力资源部工作流程图员工直接领导部门行政专员人力资源部总经理关联流程上下员工刷卡记考勤记班刷录核对录说明卡签署意见刷卡记休假考勤统计录抽查有无异常N 薪酬考核考勤表考勤确认审核Y签署意见事实调查并提出处理意见N Y薪酬执行批示离职休假17人力资源部工作流程图员工直接领导人力资源部总经理关联流程请假申请单审请假批申请请假性质确认Y N延迟或取签署意见消请假请假7天(含)以上审批Y N存档员工休假表反馈给员工个人考勤统计考勤18人力资源部工作流程图档案员工人力资源部总经理存档机构关联流程人事档案试用转正档案转入/转关于调入/调出职商调函出申请工档案的申请商调函转递档案自带档案转递公司指定人才机构存档个人认为有必要放入档案的保存回执资料N定期核算存档费用审批Y费用结算财务部建立公司内部入职员工档案身份证明学历学位证明入职各类证书招聘资料招聘劳动合同及附件劳动合同试用转正文件试用转正各类人事通知单奖惩文件奖惩绩效评估报告绩效评估离职文件离职个人认为有必公司内部员工档案要放入档案的整理保存资料长期保存19人力资源部工作流程图离职员工部门人力资源部人力资源经理总经理关联流程患病或非工伤医疗期满后,不能胜任辞退工作的奖惩因公司机构调整无员工绩效评估合适工作安排的经培训或岗位调整后仍不能适应工作终止并通要求的知部门试用期间不符合录N 用条件的书面严重违反公司规章审批处理意见经理会讨论意见制度的被依法追究刑事责Y 任的发布开除文件社保停缴社保并送达员工扣发薪金薪酬员工员工离职辞职申请表记入档案档案员工离职通知审批取消申请N Y指定工作接收人预估最后工作日员工离职期发布离职预告获知预告表若有协办事宜书面通知工作交接交接顺利可办理审批离职审批手续会签Y N社保停缴人事调出档案调出交接不离职面谈社保足30日结算薪金薪酬其他签署意见批准部门经理书离职审批手续面意见社保停缴社保扣发薪金薪酬档案记入档案员工离职通知20人力资源部工作流程图21。
人力资源管理制度一、人员申请流程1、各部门、分校区因新设立岗位、人员更迭、员工离职等原因造成岗位空缺,部门主管须到行政部领取《招聘计划申请表》。
填写完成,请分管领导签字后,报行政部。
如超出分校或部门编制的须经校长以上签字批准后方可进人。
2、行政部每周汇总各部门招聘计划申请,通过各种渠道发布招聘信息。
二、入职流程所有应聘人员必须参加行政部组织的面试。
1、应聘人员填写《应聘人员登记审批表》。
进行初试(由行政部组织)、复试(由用人部门主管或分管领导实施)。
2、通过复试的人员签订劳动合同。
经培训合格后派往用人部门试用。
其人事档案盖章后由行政部存档后,财务方可计发工资。
3、试用期为1-3个月,试用合格后,转正为正式员工。
三、在职人事流程1、 1-3个月试用期内,工资为试用工资(详见薪酬制度)。
试用期间,由试用员工提出书面申请,部门主管到行政部领取《员工转正考核表》,填写并签署意见,经行政部和该员工部门主管共同分析考核结果后,决定是否正式录用。
如通过试用,填写《薪资变更表》,按照岗位职位定薪酬。
2、如员工需调换岗位,经部门主管同意后,到行政部领取《工作岗位变更申请表》或由行政部下发《岗位调动通知单》,由行政部和上级领导对当事人进行考核测评,同时对所申请岗位进行调查,并对目前所在岗位情况进行分析。
以利于工作为原则,尽心合理调配。
考核合格,经主管领导批准后,与原部门办理工作交接手续,其相关手续需交行政部存档。
通知财务部发薪单位调整后,进入新岗位。
3、合同期满,愿意继续续签的员工,必须续签合同。
四、离职流程1、如正常离职,须在合同期满前1个月通知上级主管和行政部,认真填写《离职申请表》,并将离职报告交予行政部审核。
在最后一个月内将工作、办公用品交接归还,欠款清帐,由相关部门主管签字,行政部通知其离职。
2、若员工因各种原因中途离职时,须详细说明原因,提前1个月汇报部门主管并到行政部详细填写《离职申请表》。
经主管与人力资源部审核后,按照《离职申请表》内各项,认真做好工作交接,办公物品交接归还,借款清帐等离职手续。
-岗位设置管理流程部控制部门行为实施各职能部门人力资源部人力资源总监总经 理环节根据公司发 展战略进行 职能分解和 机构设置管理 行为编制人员 工作分析否是否是根据人力资源规划确定编制制作职务 说明书职责划分 与岗位设 置薪酬设计薪酬预算 否-人员编制管理流程 流程 名称人员编制管理 流程审核人员行为实施行为实施环节各用人部门人力资源部总经理办公会议总经理管理行为提出增加编制的申请提出增编岗位人员素质要求否审核否审议否审批内部招聘流程决策外部招聘流程相关说明-用人申请流程编制人员 编制日期审核人员 审核日期批准人员 批准日期管理 行为因调动、流 失等原因出 现职位空缺报告部门 负责人不 影响 工 作判断填写用人申请 表审核相关说明[编制人员审核人员批准人员编制日期审核日期一批准日期一维持现状影否核实是实施 招聘流程是相关说明编制人员口审核人员批准人管理行为用工申请流程报名,填写应聘登记表用人部门面试,人力资源部提供相关支持面试人员筛选与员工沟通,必要时请人力资源部协调判定关键人员不能调离非关键人员程序决定外聘决疋内聘对内发布招聘启事厂公司外部招通知职员,并办理调动手续用人部门面试,人 力资源部提供相关 *支持面试行为实施—环节用人部门人力资源部应聘人员管理 行为用工申请 - 流程决定外 聘对外发布招聘 启事报名,填写应 聘登记表分管总监 人力资源总监决定 内聘相关说明编制人员审核人员批准人员编制日期审核日期批准日期•新员工入职流益程流程 新员工入职编 码 受控状名称流程 执行核心部门人力资源 部人力资源总监人员筛选报到是通知报到行为实施人力资源部用人部门环节新员工建档工作证办理—发放员工手册配合行政部办理后勤工作管理行为相关说明编制人员编制日期•劳动合同管理流程制度培训J资源部和用人部门配合进行岗前培工作关系介绍签订试用,人力训*存档工作交接试用员工转正流试用流程劳动合同管理名称流程审核人员审核日期«----- 批准人员批准日期编码执行核心部门人力资源部受控状态控制部门人力资源总监名称岗位轮换流程编码执行核心部门人力资源部受控状态控制部门人力资源总监编制人员审核人员批准人员编制日期审核日期批准日期-员工工作调动流程流程员工工作调动名称流程编码执行核心部门人力资资部受控状态控制部门人力资源总监编制日期•职务任命流程流程受控状态人力资源部控制部门人力资源总监各职能行为实施部门环节总经理办人力资源部总经理公会议董事会制定晋升制度及各级人员任否否是是审议审批否是签发管理行为提出任命名单(部门负责人以下职位)职资格提请任命总监、财务负责人任命公司经理下发任命通知否审议发任否是存档-考勤管理流程流程名称考勤管理编码流程执行核心部门人力资源部受控状态控制部门人力资源总监根据考勤及 其他依据编 制工资行为实施环节各部门人力资源部(考勤主管)人力资源部 (工资主管)人力资源部经理管理行为制定考勤制度,配备 考勤刷卡设备月末汇总编 各部门员 工刷卡接 受考勤特殊情况不 能刷卡者由 部门负责人核实确认制考勤表否审否工资发放流程行为实施加班员工部门负责人人力资源部财务部环节因工作需要加班填写加班申/审\请表7,执行加班管理行为填写加班记录加班工厂核算否否是审纳入综合考评相关说明流程名称员工请假管理流程受控状态控制部门人力资源总监编码执行核心部门各用人部门-员工出差管理流程流程名称员工出差管理流程受控状态•员工绩效考核流程•薪酬方案审批流程审核日期批准日期流程i~薪酬方案审批[名称:流程编码I 受控状态行为实施相关部门人力资源部财务部总经理环节根据预算编制薪酬草案测信息支持-----—►,修正方案丄-管理行为是否审是执行方案存档相关说明编制人员-工资发放流程流程名称工资发放流程流程审核人员批准人员行为实施环节用人部门人力资源部人力资源总监总经理财务部管理行为部门月份考评否是审核编制工资表是审是审复核工资表发放工工资核相关说明 编制人员编制日期•员审核人员 批准人员。
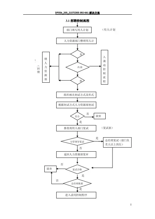
3.1招聘控制流程
(回馈
3.2录用控制流程
担保
4.1辞职控制流程
(
辞
职
审
批
表
)
4.2自动离职控制流程
4.3劝退、开除控制流程
4.4终止聘用控制流程
4.5离职控制流程
5.3考勤管理控制流程(公司总部)
是
否 (接下(接上
X ≥5
X <8
X ≥8
5.3.5迟到、早退控制流程
是
X <5
X>10
否
否
5.3.6请假、补休控制流程
(请假
申请单)
是
否
否
是
是
7.1培训及职业发展控制流程
岗外及管理培训
上岗培训
通过 通过 通过
(考核表)
是
否 否
通过
7.7培训过程管理、考核控制流程
8.1调动控制流程
否
(调动申请表)
是 是
2)
是 (调动审批表)
8.2晋升控制流程
8.3降级停职控制流程
全套人力资源管理流程图
21 / 21。
人力资源部工作流程图人力资源部工作流程图(总图)员工进入——退出公司轨迹人力资源部各部门间工作交接流程图招聘 入职试用转正 考勤 考核 评估 薪酬 福利 奖惩 入职培训接受岗位调整 退休辞职 正常工作 劳动合同 晋升 降职 转岗 待岗 培训 请假 调薪解除劳动合同 执行公司制度 享受公司支持……辞退终止劳动合同 非正常退出 公司发展战略 组织结构设置 工作分析 职位说明书定岗定编组织结构图 机构职责 绩效管理薪酬福利培训发展员工关系……招聘入职 试用转正 考核 评估薪酬 职业生涯人才储备 奖惩 考勤 休假 员工活动离职 劳动合同 福利培训 年度编制计划档案 岗位 调整各部门行政助理人事专员人事主管培训企划主管薪酬福利主管人力资源经理招聘培训审核部门考勤汇总每月初5日前汇总上报审批每月人员汇总每月初5日前上报审核备案备案人员需求申请每月15日前上报审核审批Y确定招聘途径实施人员招聘到位确定薪酬用人部门 人力资源部人力资源部经理公司总经理关联流程绩效管理——考核被考核人考核人人力资源部公司总经理关联流程人员空缺有无编制NY职位说明书 确定招聘方式增补申请审批审批 Y取消或延期NY确定招聘渠道招聘会媒体 校园 其他发布招聘信息 收集筛选简历 初试 复试复试经理级以上复试 通过通过通过简历存档 未通过未通过确定录用人选录用通知录用待遇谈判接受 不接受外部 内部 发布招聘信息 推荐自荐信工作分析薪酬入职 资格验证通过档案绩效管理——评估被评估人评估人(部门)人力资源部总经理关联规程当月考核评审结束考核记录 发布/归档 员工考核项目自评公司考核项目评分表考核评审确认考核表考核考勤表考核启动公司考核项目申请审批公司考核项目申请表员工考核项目指定员工考核项目自定员工考核项目确定考勤薪酬考核表反馈绩效评价公司考核项目申请结束 当月考核评审启动薪酬 外部信息员工人力资源部总经理关联流程辞退处罚 培训 待岗 Y N 晋升 培养 奖励绩效考核 绩效是否符合岗位要求 个人报告书评价 工作表现 自评 评价沟通评价结论 备案确认 一次申诉同意不同意受理调查维持原结论YN人才储备 岗位调整 奖惩 离职奖惩 岗位调整 培训 绩效评估表 改进计划保持劳动合同 不续签 劳动合同 档案福利——社保参保人员人力资源部人力资源部经理公司总经理关联规程审批 N 行业统计数据 岗位评价 薪酬调查岗位级别表 月薪金表月工资明细薪酬水平福利及其它补贴工作分析 职位 说明书 绩效评估绩效评估表制定年度薪金调整方案薪金调整方案 实施年度薪金调整方案Y制作通知发布文件 薪酬、福利调整通知人事通知单签字确认考勤考核表考核 考勤 审批 NY计算薪金财务部接收国家法律法规福利 奖惩 其它浮动工资调整方案 福利调整方案奖惩员工部门经理人力资源部人力资源经理总经理关联流程个人资料提供审批办理社保增员/减员/汇缴手续签署意见 社保缴纳月报表社保个人扣缴/报销明细表档案薪酬福利 国家政策制订年度社保基数调整方案审批审批年度社保基数调整方案执行和备案缴纳标准备案财务部 转账岗位调整员工部门人力资源部总经理关联流程发布文件取消或改变原决定 维持原决定书面形式提交 奖惩决定行为表现及结果 部门经理或相关部门调查取证并作书面结论 人事部门调查取证并作书面结论 总经理指派专案小组调查取证并作书面结论绩效评估 相关部门 规程 行为表现及结果 行为表现及结果审批 Y N 终止一次申诉机会 理由是否 成立 YN终止 文件存档离职 档案薪酬实施 奖励 处罚通报表扬专项奖励 优秀员工 通报批评 罚款 开除 起诉法律程序 薪酬 ……人才储备 员工/主管部门经理人力资源部人力资源经理总经理关联流程固定时间的岗位调整部门经理会讨论,综合评价员工评价结果人事通知单 (评价结果)告知相关人员 签字确认 存档非固定时间的岗位调整 根据公司发展或规划需要,提出岗位调整议案经理例会讨论决定审批Y根据业务规划和工作计划,或员工不胜任岗位工作,提出岗位调整的书面报告因个人爱好特长等提出岗位调整的书面申请 取消岗位调整 N档案考核评估获知 调薪 晋升 降职 转岗 待岗汇总并形成处理意见书面意见执行批示薪酬 劳动合同 劳动合同 劳动合同 劳动合同获知获知培训 员工部门人力资源部总经理关联流程考察报告 绩效评估 提名提名表现表现编入人才发展名单工作内容拓展计划素质测评 考察 审批N终止Y培训计划 编制培养计划 确认确认考察考察计划实施培训工作表现工作表现考察报告NY储备人才库 人才储备报告书反馈给各提名者岗位调整审批劳动合同员工人力资源部法务部备注人才储备 绩效评估 培训需求培训需求 目的分析 工作分析 职位说明书 满足必备 知识技能满足发展 知识技能入职培训 在职培训 制定培训计划 审批 YN 实施培训计划 选择培训方式 选择培训课程 制定培训场地 确定预算 参加培训总结 批转培训效果 评估培训评估表 记录 培训档案 档案 培训测试 参加考试近期 远期 绩效评估确定签署合同类别确定合同编号制作合同劳动合同书劳务协议合同制退休人员临时人员其他人员其他协议盖章个人留存存挡劳动合同变更劳动合同续订劳动合同解除/终止制作变更协议劳动合同续订书人事通知单档案入职亲笔签名一式两份岗位调整绩效评估离职签名确认岗位调整入职新员工 用人部门 人力资源部相关职能部门 关联流程试用转正试用员工用人部门 人力资源部 总经理 关联流程招聘 档案 劳动合同 聘用员工 身份证 学历证 学位证 职称证 ……照片一寸两张 存档新员工入职通知公司劳资保险转入 办理工资卡 部门工作介绍 新员工须知阅读并遵照执行 入职培训/考核员工手册进入 试用期 培训 试用收取资料签订劳动合同报到 提前一个工作日 发布入职通知入职准备工作确认行政部设施提供工程部开通网络、电话 熟悉工作环境考勤录入考勤员工直接领导部门行政专员人力资源部总经理关联流程转正申请书提交直接领导 确认试用考核单直接领导对试用员工工作评价,签署意见人事部签署 意见审批进入试用期人事通知单 (转正)合格员工留存存档不合格终止合同离职入职档案绩效评估考核及反馈工作表现绩效考核转正薪酬试用期结束 转为正式员工休假员工直接领导人力资源部总经理关联流程员工上下班刷卡考勤记录说明签署意见考勤统计休假考核考勤表审核考勤确认有无异常YN事实调查并 提出处理意见Y执行批示薪酬薪酬 离职刷卡记录核对签署意见刷卡记录抽查N档案员工人力资源部总经理存档机构关联流程请假申请请假申请单签署意见审批审批存档考勤统计考勤员工休假表反馈给员工个人请假性质确认Y延迟或取消请假N请假7天(含)以上YN离职员工部门人力资源部人力资源经理总经理关联流程建立公司内部 员工档案 身份证明 学历学位证明 各类证书 招聘资料 试用转正文件 奖惩文件 绩效评估报告 劳动合同及附件 离职文件离职绩效评估 奖惩 试用转正 劳动合同 招聘 入职 各类人事通知单 个人认为有必要放入档案的资料公司内部员工档案整理保存长期保存商调函档案自带公司指定人才机构存档定期核算存档费用审批 人事档案Y档案转入/转出申请 关于调入/调出职工档案的申请试用转正入职档案转递商调函转递 个人认为有必要放入档案的资料N保存回执费用结算财务部奖惩 绩效评估 薪酬 薪酬辞退 员工员工 辞职书面 意见员工离职期 预告表 患病或非工伤医疗期满后,不能胜任工作的 因公司机构调整无合适工作安排的 经培训或岗位调整后仍不能适应工作要求的试用期间不符合录用条件的严重违反公司规章制度的被依法追究刑事责任的员工离职 申请表发布离职预告指定工作接收人 预估最后 工作日审批 Y N取消申请获知若有协办事宜书面通知工作交接交接顺利可办理 离职审批手续 会签签署意见 离职审批手续审批YN人事调出员工离职通知社保停缴档案调出 离职面谈 结算薪金 社保停缴 扣发薪金 记入档案社保 档案社保 薪酬处理意见 经理会讨论审批YN发布开除文件并送达员工员工离职通知社保停缴 扣发薪金记入档案 社保 档案终止并通知部门其他交接不足30日部门经理书面意见批准。
人力资源管理全套流程图及工作标准1.招募形式招募有内部与外部两种方式。
对已确认需求的招聘,行政人事部可在公司范围内优先考虑内部余缺调剂和进行内部招募,用人部门应予以支持。
对有特殊要求的增补岗位,经公司内部平衡调剂或内部招募不能解决的,再面向社会公开招募。
2.招募途径2.1参加人才招聘洽谈会;2.2专业人才网站招聘(免费、付费);2.3报纸广告招聘;2.4猎头公司合作;2.5公司内部推荐;2.6与学校及相关专业机构合作;2.7行政人事部自己挖掘。
3.招募程序3.1 用人部门填报《职位空缺申请表》,行政人事部与用人部门共同确定招聘方案。
3.2 行政人事部负责收集人员增补申请表,即行拟订招募计划,内容包括下列项目:3.2.1招聘岗位及人数;3.2.2希望到职时间;3.2.3工作职责;3.2.4任职资格。
3.3 发布招募信息。
3.4 应聘信息处理。
3.4.1需求信息发出后对收到的求职资料,行政人事部将根据岗位要求与应聘者的情况对应聘人员进行初步筛选,并将比较合适的应聘资料推荐给用人需求部门;3.4.2用人需求部门应在接到应聘材料两天内将需要面试的应聘材料交由行政人事部安排,经审核后,行政人事部对合格应征者发出“初试通知”,通知应聘者前来本公司接受甄选。
(1)对于不合格应聘资料,归档一个月后销毁;(2)因违纪等原因,被公司开除的员工不具备再录用资格。
4.甄选4.1 由用人部门、行政人事部组成招聘小组;并明确各方职责:4.1.1用人部门(1) 负责提供专业技术测试题;(2) 负责招聘人员专业胜任素质项的考察、评价;(3) 协助参与涉及本业务职位人员专业胜任素质项的考察、评价。
4.1.2行政人事部(1)负责整个招聘过程组织、安排;(2)负责招聘人员基本胜任素质项的考察、评价及涉及公司薪酬、福利、培训发展等事项面谈;(3) 负责出具应聘人员综合评价意见。
4.2 招聘小组各方根据笔试、面试情况出具填写《面试评估表》,行政人事部根据各方评价出具综合评价意见,且确定拟录用人员。
5.录用5.1录用准则5.1.1应聘者的学历、工作经验及行政、管理能力是否符合空缺职位的要求;5.1.2 应聘者所要求的工资是否符合公司制定的薪酬架构;是否符合其有关工作经验;5.1.3 应聘者能否通过面试及笔试;5.1.4 应聘者为人处事态度是否正面;5.1.5 应聘者提交上任雇主的推荐信内容是否符合公司对应征者的要求;5.1.6 应聘者年龄、住址、过往行为等是否符合职位的要求;5.1.7 应聘者是否已经与原单位解除劳动合同;5.1.8 应聘者的个人性格能否融入公司的企业文化;5.1.9 应聘者的健康状况是否能达到工作要求;5.1.10 应聘者对所应聘职位是否有较高的渴望态度;5.1.11同等条件下,应尽量考虑优先录用本地户口者;以上准则并非以先后次序或重要与否排列,它们的比重应由进行面试的部门/单位自行决定。
在评价过程中决策者应本着平等对待的政策。
5.2 背景调查经甄选合格后,初步拟定的人选,行政人事部将视情况对其进行有效的背景调查(例如履历资料是否正确等)。
5.3 行政人事部填写《录用人员呈批表》,报总经理批准后方可录用。
5.3.1 部门经理助理以上级别员工需由公司总经理复试并决定是否录用;5.3.2 部门经理助理以下人员符合公司素质模型、薪酬政策的,经总经理批准后方可录用。
5.4 经批准录用人员,由行政人事部通知其到公司指定医院体检,体检不符合相关要求的,不予录用。
5.5只有面试与体检.....均通过的人员才可在公司开始试用.体检是否合格以公司指定医院的体检结果为准。
5.6 体检合格者,由行政人事部发出《入职通知书》。
5.7接到录用通知后,新进人员须按指定日期到行政人事部报到,如因故不能按期报到的,应与行政人事部取得联系,另行确定报到日期。
5.8提供个人资料5.8.1 提供有关证明材料---包括身份证及学历证明(毕业证书、学位证书等);婚姻状况证明(结婚证);计划生育证明(独生子女证或流动人口计划生育证明)原件;提供公司指定机构出具的近期体检报告;免冠彩色近照1寸4张;与原单位解除劳动关系的证明文件;就业证;同时将个人社会保险缴纳情况告知行政人事部;5.8.2 出纳等岗位必须提交《聘用员工担保书》,并由直系亲属或朋友(具备本市户口)提供担保,担保人必须提供身份证、户口薄、房产证(或单位工作征明)等相关材料。
如果被担保人违反公司制度,担保人承担被担保人的连带责任。
5.9 办理入职手续5.9.1 至行政人事部报到,提交个人资料,填写《新员工到职单》、《员工登记表》;5.9.2 行政人事部或用人部门指引介绍公司同事、办公环境;5.9.3 领取考勤卡、工作牌、办公用品及办理其他入职必备手续;5.9.4 用人部门负责指定“入职引导人”,填写《新员工入职引导书》,并由用人部门安排试用期间的工作。
5.10 签订劳动合同行政人事部在新员工报到一周内与其签订《劳动合同》。
5.11 行政人事部在收齐报到应缴资料连同甄选名单,为新员工建立个人档案,编号列管。
5.12员工个人信息有更改或补充时,须于一个月内向行政人事部申报变更或声明,以确保与个人有关的各项权益。
5.13公司保留审查员工所提供的个人资料的权利,若有虚假,一经发现,公司将立即与其解除劳动合同(或协议),不给予任何经济补偿。
7.试用7.1试用期规定7.1.1公司对新员工实行试用期和期满考核制度,试用期为一至六个月,在试用期内,将依据员工业绩和各方面的综合表现,由部门/单位负责人决定新员工是否能提前转正、按期转正、延期转正或解除劳动合同(或协议);7.1.2 新入职人员如果试用期内确实感到公司实际状况、发展机会与预期有较大差距,或由于其它原因而决定离开,可提出辞职,并按规定办理离职手续;相应,如新入职人员在试用期间的工作表现无法达到要求,公司可终止对其试用;7.1.3 试用期内,新入职人员因故请假,其试用期相应顺延;若假期累计超过7个工作日,公司将终止试用并与其解除劳动合同(或协议)。
7.2 试用期培训7.2.1集中培训新员工到职后,需接受公司安排的新员工集中培训,内容包括公司简介、企业文化、规章制度培训等。
集中培训由行政人事部组织安排;7.2.2入职引导人在职培训(1)用人部门需向新员工指派入职引导人,入职引导人通常为与该职位工作有紧密关系的资深员工;(2)入职引导人职责介绍公司的有关规则规定、所在部门职能和人员情况;讲解新入职人员本职工作的内容和要求;提供任何与工作有关的具体事务咨询,如确定办公座位、领用办公用品、使用办公设备、用餐等;7.2.3新员工试用期的具体工作安排,则由该新员工的直属上级负责。
8.转正8.1试用合格并完成入职培训的全部内容,由行政人事部提醒新入职员工填报《员工转正评定审批表》和试用期工作总结,并执行转正审批流程。
8.2 若新员工工作勤奋,掌握工作要领及时、适当、工作表现杰出,用人部门负责人有权缩短你的试用期,但试用期最短不应少于一个月。
8.3经批准转正的,由行政人事部发出《员工转正通知书》至用人部门。
用人部门负责人与新员工进行转正谈话,提出转正后的工作安排及要求。
8.3 由行政人事部办理员工职位及薪资变更相关手续,并将试用考核相关资料归入个人资料卷宗。
9.员工从公司离职后,重新进入公司原则上无试用期,但其在本公司的工龄从最近一次进入公司起计。
1.日常员工异动调动、待岗、辞职、违纪解除等情形。
出现员工异动,原工作部门应监督其及时办理异动手续,若因部门管理不善,离职人员带走公司财物和技术秘密,一概由原工作部门负责人承担责任。
2.员工异动的主管部门是行政人事部,其他部门无权对员工异动作出批准决定。
凡未经行政人事部认可的私自异动均为无效异动,当事人将受到相应处罚。
3.因工作需要,公司有权对员工进行合理的工作调整,各部门/单位及员工应无条件服从。
4.内部调动4.1 跨部门岗位调整4.1.1新工作部门因工作需要,经与拟调动员工原部门领导协商同意的员工调动;4.1.2 员工认为现工作岗位不适合,经与新工作部门联系,并得到原工作部门同意的员工调动;4.1.3跨部门岗位调整须经原工作部门领导及上一级领导和新工作部门领导及上一级领导签字同意,公司行政人事部批准,在办理完异动交接手续后方可到新工作部门上岗。
4.2 部门/单位内岗位调整因工作需要或本人申请,进行的部门/单位内岗位调整。
部门/单位内岗位调整,须经部门/单位负责人同意,并至行政人事部备案。
4.3内部调动程序4.3.1 员工调出、调入部门协商调动事宜;4.3.2 调动员工到行政人事部领取《员工岗位变动审批表》和《员工工作交接单》;4.3.3 调动员工原工作部门领导和上一级领导同意;4.3.4 办理员工异动交接手续;4.3.5 报行政人事部批准或备案(部门内岗位调动);4.3.6 至调动员工《员工岗位变动通知书》;4.3.7 调动员工到新工作部门、岗位工作。
4.4 员工接到岗位调动通知后,应于规定的日期内依据离职程序办妥移交手续,前往新岗报到,逾期未到岗报到也未请假者,按旷工处理。
4.5 调离员工在接任者未到职(岗)前,其所任职务(岗位)由原部门/单位负责人指派适合人选暂行代理。
5.员工外调交流5.1是指因工作需要,本公司员工被公司安排到其他公司协助工作,公司保留其员工资格,但由新公司发放其薪资并解决福利。
5.2员工的外调由公司安排,员工无权主动提出外调。
5.3员工外调须经原工作部门领导和上一级领导同意,经总经理批准,并办理异动交接手续。
5.4员工外调,公司将与员工新公司签订《员工租借协议》。
5.5外调员工外调期满回公司,应由外调单位出具外调期间工作评价,作为员工考评档案存档。
5.6外调员工必须严格保守公司秘密,不得损害公司形象及利益。
6.员工待岗6.1员工不适合现任工作岗位(须附相关考核及内部岗位调整资料),被用人部门退回行政人事部,行政人事部尚不能另行安排适合工作者;6.2部门人员精简,被用人部门退回行政人事部,行政人事部尚不能另行安排适合工作者;6.3待岗6.3.1 待岗期间只发放最低生活费且不享受公司相关福利;6.3.2 待岗者如果在待岗期间另谋职业,须先按辞职程序办理离职手续,否则视为违反双方签订的《劳动合同》;6.3.3 待岗期限为3 个月,若待岗期满未能联系到接收单位,公司将予以解除劳动合同,但当法律规定可解除劳动合同的条件具备时,应当立即解除劳动合同。
指公司与员工解除或终止劳动关系。
包括:辞职、辞退、解除劳动合同(非违纪)、合同终止、退休。
1.1辞职员工申请辞职,需提前三十天以书面形式报告公司,经批准,员工方可按照公司规定办理有关离职手续。
1.2辞退员工有下列情形之一者,由用人部门填报《员工离职审批表》,予以辞退并解除劳动合同。