假肢和矫形器(辅助器具)生产装配企业资格认定流程图
- 格式:doc
- 大小:13.50 KB
- 文档页数:1
关于取消任务的函件
案例一:
自治区机构编制委员会办公室:
根据《国务院关于取消和下放一批行政许可事项的决定》(国发〔xxx〕xx号)要求,现就取消民政系统行政职权事项报告如下:
一、取消事项:“假肢和矫形器(辅助器具)生产装配企业资格认定”。
二、取消理由:国务院关于取消和下放一批行政许可事项的决定(国发〔xxx〕x号)。
特此致函。
xxxx区民政厅
xxx年x月x日
案例二:
xxx有限公司
您好!
由于市场变动,我司向贵司所订1/2档同步器QR512-1701495 3/4档同步器QR512-17012504月19实际订单各900件任务取消。
特发此函。
xxxx
xxx年xx月xx日案例三:
关于取消任务的函
xxx有限公司
自我司与贵司建立合作关系以来,因种种客观原因,至今未能实现贵我双方所制定的合作目标。
期间,我司主动与贵司进行了多次沟通,目前均未能解决相关实际问题。
经我司慎重考虑,决定取消任务。
特此函告!
顺祝xx!
xxx有限公司
xxx年x月x日。
深圳残疾人辅助器具服务流程一、服务对象深圳残疾人辅助器具服务面向所有在深圳居住的残疾人,特别是那些因身体残疾导致行动不便或日常生活困难的人群。
二、服务目标此服务的目标是提供必要的辅助器具,以增强残疾人的生活自理能力,提高其生活质量,并帮助他们更好地融入社会。
三、服务内容1、评估需求:由专业的医疗人员对残疾人的需求进行评估,确定需要哪种辅助器具。
2、提供器具:根据评估结果,为残疾人提供适合的辅助器具。
3、安装和调试:确保辅助器具的安装和使用符合残疾人的生活习惯和需求。
4、培训和教育:为残疾人及其照顾者提供使用和维护辅助器具的培训,确保他们能够充分利用辅助器具。
5、跟踪服务:定期跟踪服务对象的使用情况,对辅助器具进行必要的调整和更新。
四、服务流程1、申请:残疾人或其家属向当地残联或医院提出辅助器具申请。
2、评估:专业医疗人员进行需求评估,确定是否符合辅助器具的发放标准。
3、审核:审核通过后,将为其选择合适的辅助器具。
4、交付:辅助器具制造完成后,将由专业人员送至残疾人手中。
5、培训:为残疾人及其照顾者提供使用和维护的培训。
6、跟踪:定期跟踪服务对象的使用情况,确保辅助器具能够发挥最大效用。
五、申请材料残疾人或其家属在申请辅助器具时,需要提供以下材料:1、残疾证明原件及复印件。
2、或户口本原件及复印件。
3、医疗证明(如有)。
4、服务申请表(可在残联或医院领取)。
六、服务时间与地点服务时间:周一至周五,上午9:00-12:00,下午14:00-17:00。
服务地点:各区残联及定点医疗机构。
七、方式与投诉渠道如对服务有任何疑问或需要投诉,可拨打深圳市残联:或登陆深圳市残联官网进行在线咨询与投诉。
八、费用问题所有符合条件的残疾人都可以享受此项服务,无需支付任何费用。
但对于一些特殊的高级辅助器具或定制器具,可能会有一定的材料费或安装费,具体费用将根据实际情况确定。
九、申请与审核流程图(略)摘要残疾人辅助性就业作为一种特殊的社会保障措施,旨在帮助残疾人更好地融入社会和实现自我价值。
假肢和矫形器(康复辅助器具)生产装配企业资格认定办法(征求意见稿)第一条【制定依据】为了规范假肢和矫形器(康复辅助器具)生产装配企业的资格认定工作,根据《中华人民共和国行政许可法》、《国务院对确需保留的行政审批项目设定行政许可的决定》(国务院令第412号)等规定,制定本办法。
第二条【定义】本办法所称假肢和矫形器(康复辅助器具)生产装配企业(以下简称假肢和矫形器生产装配企业),是指对肢体功能障碍者进行评估,为其设计、制作、适配假肢和矫形器等康复辅助器具的企业。
第三条【假肢和矫形器种类】本办法所称假肢和矫形器的种类由民政部发布的《中国康复辅助器具目录》规定,不包括矫形鞋和其他假体。
第四条【资格认定】从事假肢和矫形器生产装配活动的企业,应当经过相应的资格认定。
第五条【资格认定机关】国务院民政部门指导全国假肢和矫形器生产装配企业的资格认定工作。
省级人民政府民政部门负责本行政区域内假肢和矫形器生产装配企业的资格认定工作。
第六条【认定条件】假肢和矫形器生产装配企业应当依法成立,并具备下列条件:(一)具有与业务相适应的取得职业资格证书的假肢师、矫形器师;(二)具有与业务相适应的测量取型、模型加工、接受腔成型、打磨、对线组装、功能训练等生产装配专用设备和工具;(三)具有与业务相适应的接待室、制作室和功能训练室等工作场所;(四)法律、法规规定的其他条件。
第七条【提交材料】申请人应当向资格认定机关提交下列材料:(一)资格认定申请书,申请书应当说明生产装配业务范围;(二)企业营业执照及其法定代表人(负责人)身份证件复印件;(三)聘用假肢师和矫形器师的职业资格证书、身份证件以及劳动合同复印件;(四)专用设备和工具清单;(五)工作场所的使用功能说明和房屋产权证明或者场所租赁合同等权属证明材料复印件;(六)法律、法规规定应当提交的其他材料。
申请人在递交上述复印件时,应当同时提交相应的原件,资格认定机关核对无误后予以退回。
第八条【真实性要求】申请人应当如实填写申请材料和反映真实情况,并对其申请材料实质内容的真实性负责。
《河南省工伤职工辅助器具配置管理暂行办法》关于印发《河南省工伤职工辅助器具配置管理暂行办法》的通知各省辖市劳动和社会保障局,省直工伤保险统筹各单位:为规范工伤职工辅助器具配置管理,根据《工伤保险条例》(国务院令第375号)和《河南省实施〈工伤保险条例〉暂行办法》(豫政〔xx〕54号),我厅制定了《河南省工伤职工辅助器具配置管理暂行办法》,现印发给你们,请认真贯彻执行。
二○○五年七月十三日第一条为规范工伤职工辅助器具配置管理,根据《工伤保险条例》(国务院令第375号)和《河南省实施〈工伤保险条例〉暂行办法》(豫政〔xx〕54号),制定本暂行办法。
第二条本省行政区域内工伤职工因工伤残需要配置辅助器具的,按本暂行办法执行。
第三条省劳动保障行政部门会同有关部门根据本省行政区域内工伤事故和职业病救治特点,统筹规划和选择辅助器具配置机构。
统筹地区工伤保险经办机构(以下简称经办机构)根据当地工伤保险工作的实际,在上述辅助器具配置机构中确定协议机构。
第四条工伤职工需要配置辅助器具的,应由其就诊的工伤保险医疗机构根据工伤职工伤残及职业病状况提出配置建议,出具医疗诊断证明书。
用人单位、工伤职工或者其直系亲属(以下简称申请人)持医疗诊断证明书和有关病历资料,向统筹地区劳动能力鉴定委员会提出配置辅助器具的书面申请。
第五条统筹地区劳动能力鉴定委员会应当自受理确认申请之日起60日内作出配置辅助器具的确认结论,并及时送达用人单位、工伤职工及经办机构。
申请人对市级劳动能力鉴定委员会作出的确认结论不服的,可以自接到确认结论之日起15日内向省劳动能力鉴定委员会申请再次确认。
再次确认结论为最终结论。
第六条申请人应于收到确认结论后15日内到经办机构办理有关手续,持经办机构出具的相关证明到与经办机构签订服务协议的辅助器具配置机构配置辅助器具。
因配置、维修、更换辅助器具发生的交通及食宿费用由用人单位按本单位职工因公出差标准报销。
第七条辅助器具配置机构应当根据劳动能力鉴定委员会确认的项目,为工伤职工配置符合国家标准、质量合格的辅助器具。
广东省民政厅关于取消和调整实施一批省级权责清单
事项的公告
文章属性
•【制定机关】广东省民政厅
•【公布日期】2020.05.22
•【字号】
•【施行日期】2020.05.22
•【效力等级】地方规范性文件
•【时效性】现行有效
•【主题分类】机关工作
正文
广东省民政厅关于取消和调整实施一批省级权责清单事项的
公告
为贯彻落实深化“放管服”改革,进一步转变政府职能,优化营商环境、激发市场活力,根据《广东省人民政府关于取消和调整实施一批省级权责清单事项的决定》(粤府〔2020〕1号)的规定,现将广东省民政厅取消和调整实施一批省级权责清单事项事宜公告如下:
一、取消“假肢和矫形器(辅助器具)生产装配企业资格认定”等4项权责清单事项(附件1);
二、原由我厅实施的6项权责清单事项(附件2)实行重心下移,由市县就近实施。
特此公告。
广东省民政厅
2020年5月22日附件1
取消事项清单
附件2
重心下移事项清单。
内蒙古自治区民政厅关于进一步加强假肢和矫形器(辅助器具)生产装配企业事中事后监管的通知文章属性•【制定机关】内蒙古自治区民政厅•【公布日期】2021.09.13•【字号】内民政发〔2021〕105号•【施行日期】2021.09.13•【效力等级】地方规范性文件•【时效性】现行有效•【主题分类】民政其他规定正文内蒙古自治区民政厅关于进一步加强假肢和矫形器(辅助器具)生产装配企业事中事后监管的通知各盟市民政局,满洲里市、二连浩特市民政局:根据《国务院关于取消和下放一批行政许可事项的决定》(国发〔2019〕6号)(以下简称《决定》)、《民政部关于加强假肢和矫形器(辅助器具)生产装配企业事中事后监管的通知》(民发〔2019〕93号)要求,自2019年11月起各地民政部门不再受理假肢和矫形器(辅助器具)生产装配企业(以下简称“企业”)资格认定申请,也不得转交下属事业单位、行业协会继续审批或以备案等名义进行变相审批。
为确保全区假肢和矫形器(辅助器具)生产装配行业持续健康规范发展,现就有关事项通知如下:一、进一步明确监督管理职责企业事中事后监管工作由其登记的市场监督管理部门的同级民政部门会同有关部门在职责范围内依法予以实施。
各地民政部门要会同有关部门,结合本地实际不断完善事中事后监管措施,推动建立健全标准体系,加强对企业设施条件、人员配备、服务质量等方面的监督管理。
自治区民政厅要会同有关部门加强统筹指导和跟踪评估,确保《决定》精神落到实处。
二、不断完善信息共享机制负责监管的民政部门要持续加强与市场监管等部门沟通协调,不断完善企业信息共用共享机制。
市场监管部门将相关企业登记注册信息共享至省级共享平台后,民政部门应及时获取相关信息;发现企业存在违法违规行为的,民政部门要及时将相关信息依据职责分工通报给市场监管等部门。
三、巩固建立年度报告制度企业于每年3月31日前,如实向所在地民政部门提交年度工作报告,内容包括但不限于下列内容:(一)遵守行业相关法律、法规、政策等情况:(二)从业人员数量和结构等情况;(三)专用设备、工具以及工作场所等情况;(四)生产装配产品种类和数量等情况;(五)产品和服务执行产品质量相关法律法规及国家和行业相关标准等情况;(六)民政部门要求报送的其他材料。
关于规范“假肢和矫形器”事中事后监管工作方案一、完善市场准入(一)进一步调整行政审批目标任务:推动珠海市范围内“假肢和矫形器”证照分离改革措施,实施告知承诺制,完善事中事后监管工作方案。
工作措施:一是实行“假肢和矫形器”行政审批告知承诺制度,制作《假肢和矫形器告知承诺书》,公开准入标准和必要条件,把好市场准入关。
申请人经自我评估达到规定标准、符合相应条件的,依法到行政机关受理窗口,对行政许可机关作出有效承诺,纳入个人征信系统,即予以行政许可,核发《假肢和矫形器生产和装配许可证》。
二是在规定期限内,主管行政机关开展实地治安检查,逐项核实申请人承诺内容,发现实际情况与承诺内容不符的,责令限期整改,整改后仍不符合条件的,撤销行政审批决定。
三是申请人不愿意作出承诺的,按照法律法规和规章的有关规定,实施行政审批。
四是在浦东新区范围内进一步提高透明度,做好申请条件、申办材料的公开透明,增强预期性,并在审批期限、审批流程、信息公开等环节建立一系列便捷性措施,有效提升行政审批的效率。
时间节点:根据本市具体工作部署推进(二)促进市场公平竞争目标任务:支持本市各类企业、个人或组织公平享有从事生产销售“假肢和矫形器”的准入条件。
工作措施:将准予从事“假肢和矫形器”单位经营的许可条件在门户网站公布,要求在法律法规规章及市局有关文件规定的范围内按照行政许可内容从事经营活动,不得擅自经营。
时间节点:已实现,并继续推进(三)惩处违法犯罪行为目标任务:规范“假肢和矫形器”生产与装配秩序,工作措施:民政部门依法对“假肢和矫形器”生产与销售企业依法开展监督检查,发现“假肢与矫形器”生产销售企业存在违反《假肢和矫形器(辅助器具)生产和装配企业资格认定办法》和相关法律、法规、规章有关规定的违法行为,依法予以行政处罚。
任何组织或者个人未经许可,擅自从事“假肢和矫形器”生产和装配的企业,依法给予相应的治安管理行政处罚。
时间节点:已实现,并继续推进二、推进社会共治(四)强化经营者主体责任目标任务:“假肢和矫形器”生产和装配的企业是责任主体,对未履行相关主体责任导致的后果承当相应的负责。
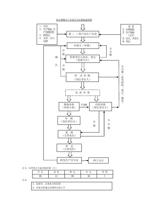
医疗器械生产企业许可证报批流程图
注1:自受理之日起审批时限(日)
注2:
2、《医疗器械生产企业许可证》现场审查记录
变更换证
被审查企业:
生产产品:
产品规格型号:
被审查场地:
按通则评分,每项扣分扣完为止。
3、医疗器械生产企业许可证申请表(开办)(换证)(变更)(补证)
医疗器械生产企业许可证(开办)申请表
注:本表一式三份,书写工整
医疗器械生产企业许可证(换发)申请表
医疗器械生产企业许可证(变更)申请表
注:本表一式三份,书写工整
《医疗器械生产企业许可证》(补证)申请表
注:补发的《医疗器械生产企业许可证》应重新编号,并在编号后加“补”字。
假肢和矫形器(辅助器具)生产装配企业资格认定申请书企业名称:(盖章)联系人:联系电话:法定代表人:联系电话:填报日期:二○ 年月日重庆市民政局制填表说明一、申请企业必须按照要求填表,并对所填内容的真实性负责。
二、企业在报送申请书时,将有关证明材料一并附上。
三、“企业性质”指:a. 内资独资企业(国有企业、集体企业、XX公司);b. 股份联营企业(股份合作企业、联营企业、国有联营企业、集体联营企业、国有与集体联营企业、其他联营企业、有限责任公司、其他有限责任公司、XX公司);c. 私营企业(私营企业、私营独资企业、私营合伙企业、私营有限责任公司、私营XX公司);d. 港澳台商投资企业(港澳台商投资企业、合资经营企业(港或澳、台资)、合作经营企业(港或澳、台资)、港澳台商独资经营企业、港澳台商投资XX公司);e. 外商投资企业(外商投资企业、中外合资经营企业、中外合作经营企业、外资企业、外商投资XX公司);f. 其他企业。
四、拟建企业法定代表人应亲笔签名。
五、表中所有面积均为使用面积,单位为平方米。
六、表中所有金额,单位为万元。
七、本表一式二份。
假肢和矫形器(辅助器具)生产装配企业资格认定申请审批表填报单位(盖章):填表日期: 年月日企业基本情况企业申明委托书重庆市民政局:本单位申请配置机构资格认定,服务范围为。
各项申请材料真实有效。
如有不符,愿意承担法律责任。
本单位委托(身份证号:)办理申请资格认定事宜。
申请单位法定代表人签字:委托办理人签字:申请单位盖章年月日法定代表人登记表填报单位(盖章):填表日期: 年月日企业专用设备和工具清单填报单位(盖章):填表日期: 年月日。
河北省民政厅关于对假肢矫形器(辅助器具)生产装配企业进行2008年度检查的通知文章属性•【制定机关】河北省民政厅•【公布日期】2009.03.13•【字号】冀民函[2009]34号•【施行日期】2009.03.13•【效力等级】地方规范性文件•【时效性】现行有效•【主题分类】卫生医药、计划生育综合规定正文河北省民政厅关于对假肢矫形器(辅助器具)生产装配企业进行2008年度检查的通知(冀民函[2009]34号)各有关设区市民政局、各假肢矫形器(辅助器具)生产装配企业:为加强康复器具行业管理,规范假肢矫形器生产装配企业的生产、装配和经营,贯彻落实民政部《假肢矫形器(辅助器具)生产装配企业资格认定办法》,省厅决定对全省假肢矫形器(辅助器具)生产装配企业进行2008年度检查。
现将有关事宜通知如下:一、时间安排从2008年3月中旬开始,至4月30日基本结束。
二、年检形式由省市两级民政部门组成检查工作小组,对全省假肢矫形器(辅助器具)生产装配企业进行现场检查。
三、年检内容专业人员配备、基本设备工具、场地、经营等情况四、需提交的材料1、假肢矫形器(辅助器具)生产装配企业资格证书复印件;2、《2008年度假肢矫形器(辅助器具)生产装配企业年检表》;3、专业人员资格证书复印件;4、2008年度财务会计报表;5、2008年工作总结与2009年工作计划。
以上材料一式三份,年检结束后生产装配企业、设区市民政局、省民政厅各留一份。
五、年检结果处理1、年检合格的,加盖年检合格章,准予继续经营;2、年检不合格的,限期整改。
复查合格的,加盖年检合格章,准予继续经营;复查不合格的,吊销生产装配资格证书。
3、对年检结果社会公告。
各市民政局收此通知后,请将通知精神传达至所辖区各假肢矫形器(辅助器具)生产装配企业,做好年检前的各项准备工作。
附件:1、河北省假肢矫形器(辅助器具)生产装配企业基本情况表2、河北省假肢矫形器(辅助器具)生产装配企业年检表二〇〇九年三月十三日附件1:附件2:河北省假肢矫形器(辅助器具)生产装配企业年度检查表(2008年度)单位名称(盖章)资格证号填报时间年___月___日河北省民政厅制。
假肢与矫形器制作师执业资格注册办法(doc 5页)假肢与矫形器(辅助器具)制作师执业资格注册办法颁布单位:民政部民政部第33号令:《假肢与矫形器(辅助器具)制作师执业资格注册办法》公布施行中华人民共和国民政部令第33号《假肢与矫形器(辅助器具)制作师执业资格注册办法》已经2005年12月27日第六次部务会议通过,现予公布,自公布之日起施行。
部长:李学举二〇〇六年二月九日(二)取得制作师执业资格证书;(三)经所在执业单位审核同意;(四)身体健康,能够在假肢和矫形器生产装配企业关键技术岗位工作。
第六条申请制作师初始注册登记的,应当向注册登记机构提交下列材料:(一)制作师注册登记申请书;(二)与原件核对无误的制作师执业资格证书复印件;(三)与原件核对无误的申请人身份证复印件;(四)申请人所在执业单位考核合格证明;(五)申请人与所在执业单位签订的聘用合同。
超过规定期限申请制作师初始注册登记的,除提交上述材料外,还应当提交注册登记机构认可的制作师通过刊授、自修、参加培训、业务研讨、学术交流等方式取得的继续教育、业务培训证明。
超过规定期限1年以上申请制作师初始注册登记的,还应当提交实际操作考核合格的证明。
注册登记机构应当自收到申请材料后20个工作日内,作出准予注册登记或者不予注册登记的决定。
准予注册登记的,核发注册证;不予注册登记的,应当书面说明理由。
第七条有下列情形之一的,不予注册登记:(一)属于无民事行为能力人或者限制民事行为能力人的;(二)在业务中有重大过失,过失之日至申请注册登记之日不满两年的;(三)因年龄超过70周岁或者健康等原因不宜从事制作师业务的。
第八条制作师初始注册登记后,应当于每年3月31日前向注册登记机构申请验证。
申请验证可以通过信函、电报、电传、传真、电子数据交换和电子邮件等方式提出。
申请验证的,应当提交注册登记机构认可的制作师每年通过刊授、自修、参加培训、业务研讨、学术交流等方式取得的不少于30 学时的继续教育、业务培训证明;经所在单位考核合格的证明。
表1 假肢矫形器装配服务工作统一用表申请审批表填表说明:1、残联审批意见按照各省规定执行;2、此表由终审部门留存。
用√在□或○符合项中标出。
表2假肢矫形器装配服务工作统一用表评估适配表填表单位(公章):填表人:审核人:填表日期:填表说明:1.此表由服务机构填写,一式二份,一份县(区)残联存档,一份装配站留存,放入假肢装配受助人个人档案。
2.填表时用√在□或○符合项中标出。
表3假肢矫形器装配服务工作统一用表假肢装配补贴登记表填表说明:1.本表由残联填写,一式二份,一份残联存档,一份装配站留存,放入假肢装配受助人个人档案。
2.填表时,选项内容在符号“□”上打钩;其他内容如实填写。
3.补贴情况由申请人确认并签字。
假肢矫形器装配服务工作统一用表上肢假肢装配信息筛查表筛查日期填表说明:1.本表由假肢技师(或掌握筛查要求的基层残联人员)填写,装配站存档。
2.填表时,选项内容请在符号“□”上打钩;其他内容如实填写。
3.临床症状选项内容请在图形相应位置打钩;其他内容如实记录。
假肢矫形器装配服务工作统一用表下肢假肢装配信息筛查表筛查日期填表说明:1.本表由假肢技师(或掌握筛查要求的基层残联人员)填写,装配站存档。
2.填表时,选项内容请在符号“□”上打钩;其他内容如实填写。
3.临床症状选项内容请在图形相应位置打钩;其他内容如实记录。
假肢矫形器装配服务工作统一用表小腿假肢装配信息记录表受助人签字装配日期填表说明:1.本表由假肢装配技师填写,放入假肢装配个人档案中,装配站留存。
2.选项内容请在符号“□”上打钩;其他内容如实记录。
假肢矫形器装配服务工作统一用表大腿假肢装配信息记录表受助人签字装配日期填表说明:1.本表由假肢装配技师填写,放入假肢装配个人档案中,装配站留存。
2.选项内容请在符号“□”上打钩;其他内容如实记录。
假肢矫形器装配服务工作统一用表髋离断假肢装配信息记录表受助人签字装配日期填表说明:1.本表由假肢装配技师填写,放入假肢装配个人档案中,装配站留存。
残疾人辅助器具的适配评估服务流程在国外,辅助器具适配评估技术是与物理疗法、作业疗法和言语疗法并列的康复医学治疗技术,即康复辅助技术(assitive technology,AT)⑴。
辅助器具适配评估中心通常设立在康复医疗机构内部,该机构不仅向患者提供康复治疗(物理治疗、作业治疗、语言治疗等),还可提供关于辅助器具的适配评估服务,并根据患者的需求开具辅助器具处方,帮助患者重新融入家庭和社会。
在辅助器具适配评估中心中,有关于个人移动和日常生活活动能力的辅助技术,也有关于沟通和信息的辅助技术,这些服务既可列入国家卫生保障服务系统,也可采取收费的方式实施。
提供辅助器具适配评估服务的从业人员均经过相应的职业培训,可根据用户的需求提供多学科的团队服务。
辅助器具适配评估服务团队通常包括康复医生、神经科医生、物理治疗师、作业治疗师、语言治疗师、心理治疗师、假肢矫形器师、机械工程师、特殊教育者和社会工作者等。
本文旨在介绍辅助器具适配评估服务的组成以及服务运营模式,以期为我国辅助器具适配评估服务的开展提供经验。
辅助器具适配评估的模式一、辅助器具适配评估的业务活动辅助器具适配评估服务模式是一整套完整的实现生活自理的服务流程,涉及辅助器具评估、作业治疗和个人生活自理培训等项目,与住院治疗、门诊和社区卫生服务中心服务相结合。
该服务面向各个年龄段患者,适用于不同程度和表现的运动和认知方面的疾病,如神经肌肉疾病、进行性神经系统疾病、骨科疾病、风湿性疾病、老年疾病、儿童发育性疾病等。
整个康复治疗过程都由康复主治医师记录于康复病历中。
辅助器具适配评估服务作为康复治疗方案和计划的组成部分,由专业的物理治疗师和/或作业治疗师完成,并参考辅助器具中心工程师和其他专业人士提供的相关专业意见,当没有合适的辅助器具时则由工程技术人员进行改制或重新设计(定制),以完成个性化的辅助器具适配评估服务。
二、辅助器具适配评估模式的结构和职责1. 团队结构:辅助器具适配评估一般由康复医师,物理治疗师,作业治疗师组成,必要时,应有辅助器具中心的其他专业人员的参与,如心理治疗师、机械工程师和假肢矫形器师等。