动火作业流程图
- 格式:pdf
- 大小:43.94 KB
- 文档页数:1
动火作业详细流程培训课件什么是动火作业?动火作业是指对火源源头进行控制和管理,使其达到安全可控的目的,同时保证施工顺利完成。
动火作业是一个危险、复杂的工作环节,必须经过专业的培训和资质认证方可进行。
动火作业包括以下内容:1.火源的点火、调整和控制;2.火焰的吸引和排放;3.热力设备的安装和拆卸;4.燃气、燃油管道的连接和切断;5.高空作业中的火工品的使用;6.高温、高压容器、管道的维修和保养。
动火作业的类型动火作业通常可以分为以下四类:1.一般动火作业一般动火作业是指在没有可燃物(如油漆、清漆、浆糊等)和易燃物(如油、气体等)的情况下进行的动火作业。
2.特殊动火作业特殊动火作业是指在有可燃物和易燃物的情况下进行的动火作业。
这种类型的作业存在较大的危险性,必须经过严格的管理和控制。
3.热切割作业热切割作业是指使用气割、电割等设备进行的对金属类材料进行的切割工作,作业用火必须严格控制。
4.电焊作业电焊作业是指使用电焊设备进行的焊接工作,由于使用电气能源,也需要进行严格的安全控制。
动火作业的风险动火作业存在以下三类主要风险:1.人身伤害动火作业往往需要在高温、高压、高空、狭小、难以进出的环境中进行,加之火势难以完全控制,因此常常会导致人身伤害。
2.安全状况恶化动火作业如果不受控制,火势将逐渐蔓延和扩大,导致事故的发生;如果灭火方法不正确,甚至可能因为泼洒水剂反而使火势扩大,缩短应急处理的时间。
3.环境污染动火作业可能会产生大量的烟雾和有害气体,对空气质量产生不良影响,甚至可能引起爆炸、火灾等严重后果。
动火作业的安全措施为了确保动火作业的安全顺利进行,必须采取以下安全措施:1.施工前的准备工作根据动火作业的类型和方法,确定施工人员和设备的要求,并进行必要的资质认证和培训;对施工现场进行全面的检查和评估,确定适当的防护措施和救援方案。
2.施工中的安全防护对施工现场进行必要的管控和限制,确定施工区域界限,并为施工人员提供必要的安全装备、呼吸器等防护用品;对设备和场地进行维护和保养,并对危险环境进行标识和警告。
动火作业流程图
-标准化文件发布号:(9456-EUATWK-MWUB-WUNN-INNUL-DDQTY-KII
动火作业流程图
1、一级动火。
动火单位提出申请,由单位安保科负责人审核、经单位物业部负责人审核后最终报总经理审批并签发《动火作业许可证》,物业部门派专人进行动火作业现场的安全管理。
2、二级动火。
动火单位提出申请,由单位安保科负责人审核、经单位物业部负责人审核后最终报分管安全负责人审批并签发《动火作业许可证》,物业部门审批动火申请,并派专人定期检查现场安全,安保科派专人进行现场管理;(注:如单
位无分管安全负责人,则由单位主要负责人审批签发《动火作业许可证》)
3、三级动火。
动火单位提出申请,由单位安保科负责人审核,物业部负责人审批并签发《动火作业许可证》,并派专人定期检查现场安全,安保科派专人进行现场管理;
4、施工项目的动火申请,由项目经理审批,物业部门办理动火作业手续,并依据动火管理规定做好安全措施,派专人进行现场管理。
注:《动火作业许可证》的批准人委托授权人批准动火作业后仍承担动火安全的最终责任。
动火作业流程
1、车间对需要动火的项目提前做好处理措施。
(该置换的置换,该清洗的清洗。
该打盲板的打盲板,该隔离的隔离)。
2、车间通过作业联络单与机修车间进行作业联络.
3、需要动火的车间向综合部申请动火证。
4、综合部人员到现场办证,根据现场具体情况和车间班长共同确定动火安全措施。
5、有车间安排监火人并逐项落实动火措施.
6、各项措施确定落实后,各责任人签字,综合部监管人员检查各项措施合格后签字。
7、维修人员见证后开始动火。
8、作业结束维修负责清理现场,检查余火。
动火作业流程简图
车间确定需动火项目车间采取处理措施车间联络维修作业车间申请办理动火证车间当班班长和综合监管人员共同确定安全措施车间逐项落实安全措施综合部检查落实情况合格后签字维修见证开始作业
作业结束维修负责清理现场。
动火作业流程图
1、一级动火。
动火单位提出申请,由单位安保科负责人审核、经单位物业部负责人审核后最终报总经理审批并签发《动火作业许可证》,物业部门派专人进行动火作业现场的安全管理。
2、二级动火。
动火单位提出申请,由单位安保科负责人审核、经单位物业部负责人审核后最终报分管安全负责人审批并签发《动火作业许可证》,物业部门审批动火申请,并派专人定期检查现场安全,安保科派专人进行现场管理;(注:如单位无分管安全负责人,则由单位主要负责人审批签发《动火作业许可证》)
3、三级动火。
动火单位提出申请,由单位安保科负责人审核,物业部负责人审批并签发《动火作业许可证》,并派专人定期检查现场安全,安保科派专人进行现场管理;
4、施工项目的动火申请,由项目经理审批,物业部门办理动火作业手续,并依据动火管理规定做好安全措施,派专人进行现场管理。
注:《动火作业许可证》的批准人委托授权人批准动火作业后仍承担动火安全的最终责任。
?。
兴乐电缆有限公司
动火作业审批流程
一、一级动用明火作业审批流程图:
范围:变压器室、配电房、发电机房、气瓶房、危化品仓库、实验室、高空、密闭空间、人员密集等极易发生重大事故的区域进行明火作业。
(主要适用于外部人员动用明火作业或危险区域进行明火作业时的审批)
审批流程:动用明火作业的《审批表》由综合部进行现场审查后提交由公司主管进行审批,有效期不超过8 h。
二、二级动用明火作业审批流程图:
范围:二级明火作业为在厂区内除一级防护区域外的区域进行气焊、气割等明火作业(主要用于运维部进行气焊、气割等操作的审批)。
审批流程:动用明火作业的《审批表》由动火部门主管进行审批,有效期不超过12h。
三、三级使用明火作业审批流程图
范围:三级为日常生产需要的在指定区域内进行的明火作业(主要用于储运班烧封头帽、挤塑机台烧过滤板和模具、干法放线处导体焊接等日常生产用火的审批)。
审批流程:动用明火作业的《审批表》由各部门主管、工段长进行审批,有效期不超过12h。
附件
动用明火审批表
XL-JL-068-2004
使用单位使用
日期
使用
地点
作
业
内
容
防
范
措
施
申请部门意见:审核部门意见:
核准:审核:申请人:。
图话安全(068):动火作业“十步骤”!通过不断央视报道,今年以来共发生因焊接作业导致的火灾事故5800多起,平均每天19起,焊接作业存在的火灾事故隐患不可小视。
我们建筑施工工地每天都进行大量的焊接作业,还包括大量的气割、切割、打磨等动火作业,所以,更应当从这事故通报中吸取教训,加强动火作业过程的风险管控。
11月9日是消防日,119就是“要要救”的谐音。
但是,如果我们将国家设立消防日理解为救火抢险就错了!11月进入冬季,冬季天干物燥,与春季一样是是火灾多发季节,所以,国家将11月初的11月9日定为消防日活动,就是为了提醒大家,特别是我们建筑工地要注意防火了,需要我们严格落实防火措施,严格按照操作规程、操作工序和步骤做事,才能做到防火于未燃,而不是为了救火。
火灾一旦发生就意味着人员伤亡和财产损失,所以,做到防火于未燃的措施才是关键!怎么样才能防火于未燃呢?办法、措施有很多,我认为这动火作业“十个步骤”很重要,也很关键,需要我们所有负责人、管理者去培训、去管控、去监督;通过对动火作业人员进行动火作业全过程作业步骤进行实操培训,并严格在实际作业中执行,才能真正做到“防火于未燃”。
我们常讲“以人为本”,这是对的,但是具体到每一个人的安全责任,那应该是“以我为本”。
只要我们每个人将安全确立为是自己的事,事关自己健康安全的事,那么,我们就能够做到从一开始就安全!防火于未燃,就从动火作业的基本步骤开始,也就是动火作业“十步骤”开始!动火作业“十个步骤”做到位,哪里还有火灾事故呢?!动火作业“十步骤”包括哪些步骤?下面就是:一证二实操三交底四隔离五清六防七监火八再清九撤除十复盘★动火作业“十步骤”图文详解:一证——动火作业许可证。
任何动火作业必须办理动火作业许可证,只有将动火作业进行有效的管控,才是可能管控动火作业风险的基础和前提!所以,办理动火作业许可证必须的,也是第一步!二、实操——所有参与动火作业的人员及保管使用可能发生火灾造成严重损失的人员,均需参加消防器材实操培训,实操考核合格授权上岗,被授权人员方可进行动火作业。
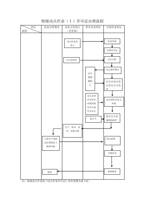
动火作业的流程图及流程(总1页)
--本页仅作为文档封面,使用时请直接删除即可--
--内页可以根据需求调整合适字体及大小--
流程名称
动火审批流程流程编号
责任部门事业部版本号
涉及部门相关各部门受控
(2)流程说明
节点负责部门/岗位工作要点(时间、质量、成本)
A2、B2:
填写动火证申请表公司各部门
管理部
各部门、车间根据需要向企业发展部提起动火申请,并
填写动火申请表。
明确动火人员、监护人员、动火防护
装置等项目,经相关部门领导签字后报企业发展部。
B3对动火现场进行检查管理部由企业发展部对各部门提交的动火申请表进行现场检查。
B4、C4:上报动火证、审批管理部
企业发展部经现场检查无问题后上报安全生产领导小组
审批。
A5、A6、B5:下发动火证及存档管理部公司各部门
企业发展部将动作证进行备案后下发给各部门。
各部门
凭借动火证在厂区内动火
输入动火申请表
输出动火证
涉及制度《动火审批制度》
2。