如何建立个人的交易系统模板共40页
- 格式:ppt
- 大小:3.75 MB
- 文档页数:40
完整的投资系统模式建立适合自己的交易系统(一)从目前机构投资者流行的交易系统来看,主要有两种模式:一是以传统的技术分析方法为主的资金管理与仓位控制模式。
该方法主要通过不同的技术指标变化来指导交易者进行实施仓位调整,但缺点是技术指标之间经常相互矛盾,从而影响交易者做出正确的选择。
第二类交易系统则是建立在现代金融风险分析理论的基础之上,采用的是完全数量化和程序化的仓位控制体系。
由于完全杜绝了个人的情绪化干扰,该交易系统能够很好的规避风险。
但也正是因为如此,这种完全机械化的交易模式缺乏足够的交易弹性,在市场出现极端情况时,很容易造成比较大的损失。
而笔者主要立足于中小投资者的角度来谈谈交易系统的有关问题。
为何要建立自己的交易系统市场中经常会出现这些现象:许多交易者在一波行情来临时不敢入场,而行情快结束时又追高,等行情结束后又不肯离场,结果导致被套;受情绪波动、消息误导的影响而常常导致失误;有诸多技术分析的高手能够经常性预测到价格波动高低点,并且因此而获利,但总体的交易成绩并不是非常理想。
其实,这些投资者在投资中都有一些共性,即投资者不知道当他的预测出现错误的时候,应该如何处理?当得到一个买进信号的时候应该使用多少资金?什么时间应该加仓或者什么时间应该获利了结?还有,他所用的交易方法是否适合自己?他是否有能力把握自己的交易方法?等等。
这些问题可以用客观完整的交易系统来解决。
为何要建立自己的交易系统呢?原因主要有两点:1、自我的控制。
自我的控制分为两个方面:其一是对人性的控制。
当你一次交易获利达20%时,你是否会期待更大的获利空间;当你做多而市场一片看空时,是否会影响你的后期交易。
其二是对风险的控制。
在任何一次交易中都可能出现亏损,所以在任何一次都不能承担过多的亏损。
而事实上,大多数亏损的交易者刚好相反,或者说没有充分的重视风险控制。
2、市场的特性。
市场的不可预测性决定了没有任何人能够在一个相对长的时期,准确的判断每一次市场波动。
建立交易系统建立交易系统前你必须明白的:系统是什么?在股票市场中交易过两、三年的人,几乎都有一套自己的交易方法。
走势只有两种:上涨和下跌,这就决定任何交易者只有获利和亏损两种,追求长期稳定的获利,才是投机者的最终目的。
如果你想长期稳定的获利,那么整体的交易应该是一个过程,而绝不是简简单单的一次预测或者一次全仓买入。
大多数交易者心中都有一个强烈的愿望,就是希望他们的每一次交易都是正确的,但是理智的思考一下,华尔街的顶尖交易员在十年中的平均正确率仅仅是35%左右,你能做到多少?你是否现在就比他们优秀?每一次交易,我们不可能找到精确的位置,而是允许有一定的误差,这主要是因为价格本身的运动趋势是以区域的方式体现的。
比如当我们判断某股票在9.10—9.30之间有比较高的交易价值,那么可能在这个区域开始逐步介入,或者你从9.30逐步买进,一直到9.10;或者你从9.10逐步买进,直到9.30,但是不管怎样,你介入的区域就是9.10---9.30。
又假设你的止损设定在8.90,同时如果这支股票最终下跌,并跌破你的止损,这中间的0.2—0.4元,就是你的正常的交易亏损。
这种亏损没有任何办法回避,也无须回避。
大多数投机者相信有一个通向市场的魔术:一个指标,一个形态,或者一个机械的交易系统,他们还肯定一小部分人正在使用着-------我在网上见过售价24万元的一个公式,据说可以百战百胜--------他们努力的想揭开这个魔术的秘密,从此而获利。
简直是笑话。
市场真的有能够长期稳定的获利的方法吗?正确答案是有,而且答案就在你自己身上。
我可以明确的告诉你:成功交易的一个秘密就是找到一套适合你的交易系统。
这个交易系统是非机械的,适合你自己个性的,有完善的交易思想、细致的市场分析和整体操作方案的。
交易系统,或者说系统的交易方法,才是你长期稳定获利的正确方法。
二、建立自己交易系统模型1、设置自己长期稳定的获利的目标每周最少10%2、设置自己的操盘纪律:纪律:买入原则买,卖点卖每次操作最多3个票不要参与上市公司有问题的股票,尽量不要参与ST类股票;当意外情况发生的时候,坚决出场回避,不冒不必要的风险;大趋势不利的情况下空仓。
手把手教你,如何设计自己的交易系统一套正收益的交易系统是稳定盈利的「技术」基础,注意技术俩字。
投机市场中,有很大一部分同学是被「技术」这俩字给坑死的。
一套正收益的交易系统,加上良好的执行能力,才是稳定盈利的基础。
盈利的关键是「交易系统」和「执行能力」,两者缺一不可,很多同学死在以为良好的技术(交易系统)是全部。
金融投机市场中,至少有80%的投机客(很多人说自己是投资客)是没有自己的交易系统的。
甚至有一部分同学连交易系统是什么都不知道,更夸张的甚至没听说过交易系统!对于这部分80%的同学,我只想说,早点爆仓回家卖红薯,别浪费自己的生命。
或者,认认真真看完此文,学习设计自己的交易系统。
交易系统应该包含些什么鬼?一套好的交易系统至少包含两个方面,「开平仓规则」和「加减仓规则」,其中开平仓规则属于技术范畴,加减仓规则属于资金管理范畴。
下面,哥就以移动平均线为技术基础,和大家一起探讨,如何设计一套可执行的交易系统。
「01」设计交易系统第一步,我们先设定我们需要的技术指标,在这个系统设计中,我需要三条均线,分别是5日10日20日均线。
打开你的博易或者文华行情软件,然后打开公式管理器,添加如下自定义公式。
这条公式是有什么用呢?其实鸟用没有,只是方便有洁癖的我们干净地看盘。
当然,偶尔还可以在人前装装B,哎呀,我会写指标!如果你能在指标上加点标识,这个B装起来更炫酷了。
有了指标,我们开始设计开平仓规则。
五日线从下往上穿越十日线形成金叉开多。
开多少仓位合适呢?能问这个问题的同学,开始有仓位管理的意识了。
到底开多少合适?我们把总资金分成五份,五日十日金叉开一份,也就是20%的仓位。
如果我们只是开20%的仓位,当然轻了,大行情赚不到什么钱的,所以,我们必须设计加仓原则。
五日线从下往上穿越二十日线形成金叉加二份仓。
也就是说,当五日线穿二十日线时,我们此时共应该持仓60%。
为什么要分开开仓呢?原因是,第一份资金我们把它设为试仓,类似于打仗时的先头部队,如果遇到振荡行情,只会损失小止损,如果遇到大行情,重仓抓大波。
简单交易糸统的建立方法(转载)重要的事说三遍:转载的!转载的!转载的!不管我们依靠什么赚钱,是短是长是投机还是投资等等,总之我们默认人人手持武器了。
那么手持武器就可以进入战场猎杀金钱了吗?还远远不够。
一个合格的战士还需要什么?长期的坚持训练、实战总结和严格的纪律。
当我们把盈利核心、长期坚持、实战记录总结以及纪律放在一起,就是一个最基础的金融市场交易系统,通用于金融市场。
一.先易后难、先通后固的交易结构这里要讲解的内容并不属于图表技术内容,但我认为,他是金融投机中最重要的内容,是决定成败的内容,有效的结构配合简单的技术可以积累非凡的财富,精巧的技术没有结构很难取得成功。
构建结构的原则是先易后难、先通后固,先使用简单的技术、生活、纪律等规则构件出一个简略而完整的循环结构,而后通过结构本身的循环,不断完善进步。
1.结构与纪律在建立结构前,有必要讲解什么是结构,这个成功交易的根基。
概括的讲结构是做一件事情的步骤规范,因为投机本身涉及到人的参与的原因,所以这个投机规范就显得更加庞大复杂一些,涉及到人本身的世界观、生活规律、精神状态等。
投机结构也可以称之为交易系统,这个交易系统包括:生活作息、资金管理策略、投机策略分析制定、策略执行、执行记录和反馈、自我超越。
做事情没有步骤是效率低下而难以长久的,进行投机交易没有结构或者说没有交易系统也是万万不可的,而贯穿始终的是坚持严格的几十年如一日的遵守系统纪律认真循环超越自我。
在结构面前,任何投机技术方面的内容都显得微不足道,就好像在战争中,任何士兵本身的杀人技巧都不重要,重要的是战争机器的严密结构和准确执行。
为什么说服从纪律是军人的天职,这是为了保证战争机器这个结构或者说系统准确的执行并循环,取得战争胜利。
为了保证投机事业的进行,需要完整的结构和贯彻投机生涯的坚定的纪律。
2.从简单开始坚持下去建立交易结构亦或说交易系统要从简单开始,并且以年为单位的坚持下去。
在交易初期,可以以生活作息、身体锻炼计划、资金管理策略、月分析策略、周交易策略、周交易计划、周交易记录、周交易反馈作为交易系统循环进行下去,可以使用简单的支撑阻力与形态突破作为技术手段。
浅谈建立自己的交易系统与盈利模式作为在股票市场中交易过一、两年的人,几乎都有一套自己的交易方法。
但是,在交易过程中最难的不是有多好的交易系统,而是有一个严格遵守自己交易系统的纪律。
我发现凡是出现亏损都是在一次又一次的不按纪律做事引起的。
所以今天把交易系统与盈利模式建立完善,也希望自己坚守。
一、关于买入的方法股票投资以“低价买进,高价卖出”为原则,经常会因股价低时还想更低,股价高时又怕太高,而错过买入机会。
投资者应制定适合个人资金实力、风险承受能力、股价走势以及投资周期等综合因素的目标买价。
有了目标价,才会避免投资的冲动性和盲目性,不论做短线还是长期,操作起来都会增加方向感。
对于普通投资者来说,1、制定“目标买价”;第一步,预测公司的未来1~3年的每股收益。
第二步,选择一种或多种适合你自己投资风格的估值方法,如常见的市盈率、市净率等。
这些估值方法被称为相对估值方法,通过比较得出合理的估值水平。
以市盈率为例,可通过该股票历史市盈率区间,结合盈利预期来判断未来1~3年的市盈率应该是多少倍。
如预期未来12个月里公司将进入盈利周期上升阶段,就可选用历史上相同盈利周期时的市盈率倍数作为预测值;如果盈利前景不佳,就可采用历史上同样业绩不佳时的市盈率倍数。
动态的市盈率预测也可采用行业平均水平或同类可比公司的市盈率。
有了未来的预测盈利,又有了合理的预期市盈率,把两个数乘起来就得到目标价了。
2、分批买入;在没有较大把握或资金不够充裕的情况下购买股票时最好不要一次买进,而是分两三次买进。
可以分散风险,获得相应的投资报酬。
3、注重价格与成交量;相对低的价位是买入股票的基础,而成交量是真实反映股票供求关系的关键因素。
如果股价在相对低位止跌企稳,成交量温和放大时,后市向好的可能性较大。
作为一名涉“市”不深的股民如果能利用成交量的变化并结合股价的波动发现购买时机,会使操作更有胜算。
4、遵循供求规律;股市上的需求力量会引导股价。
浅谈建立自己的交易系统与盈利模式作为在股票市场中交易过一、两年的人;几乎都有一套自己的交易方法..但是;在交易过程中最难的不是有多好的交易系统;而是有一个严格遵守自己交易系统的纪律..我发现凡是出现亏损都是在一次又一次的不按纪律做事引起的..所以今天把交易系统与盈利模式建立完善;也希望自己坚守..一、关于买入的方法股票投资以“低价买进;高价卖出”为原则;经常会因股价低时还想更低;股价高时又怕太高;而错过买入机会..投资者应制定适合个人资金实力、风险承受能力、股价走势以及投资周期等综合因素的目标买价..有了目标价;才会避免投资的冲动性和盲目性;不论做短线还是长期;操作起来都会增加方向感..对于普通投资者来说;1、制定“目标买价”;第一步;预测公司的未来1~3年的每股收益..第二步;选择一种或多种适合你自己投资风格的估值方法;如常见的市盈率、市净率等..这些估值方法被称为相对估值方法;通过比较得出合理的估值水平..以市盈率为例;可通过该股票历史市盈率区间;结合盈利预期来判断未来1~3年的市盈率应该是多少倍..如预期未来12个月里公司将进入盈利周期上升阶段;就可选用历史上相同盈利周期时的市盈率倍数作为预测值;如果盈利前景不佳;就可采用历史上同样业绩不佳时的市盈率倍数..动态的市盈率预测也可采用行业平均水平或同类可比公司的市盈率..有了未来的预测盈利;又有了合理的预期市盈率;把两个数乘起来就得到目标价了..2、分批买入;在没有较大把握或资金不够充裕的情况下购买股票时最好不要一次买进;而是分两三次买进..可以分散风险;获得相应的投资报酬..3、注重价格与成交量;相对低的价位是买入股票的基础;而成交量是真实反映股票供求关系的关键因素..如果股价在相对低位止跌企稳;成交量温和放大时;后市向好的可能性较大..作为一名涉“市”不深的股民如果能利用成交量的变化并结合股价的波动发现购买时机;会使操作更有胜算..4、遵循供求规律;股市上的需求力量会引导股价..一般股价依从“需求先行;供给跟进”的原则上下波动..需求增加时;供给会随之增加;但是供给增加的幅度缓慢于需求增加的幅度..例如;某只股票看来会持续上涨;股民纷纷买进;此时供给还没有跟上;导致供不应求;股价上涨..之后由于股价涨到一定程度;一些股民认为可以高价卖出;于是纷纷抛出;导致供给过大;股价锐降..5、“天灾”时买入所谓“天灾”;是指上市公司遇到台风、地震、水灾、火灾等自然灾害;导致公司的生产经营受到严重破坏;造成一定的经济损失;使该公司股价急剧下降;甚至出现股价暴跌.. 在一般人心目中;往往把天灾造成的损失无限扩大..其实损失往往并不像人们想象的那么严重;况且一般的公司均可获得保险公司的合理赔偿;因此;损失也就有所减小..但是大多数人的恐慌抛售使股价大幅下跌;从而给精明的投资者提供了买入的机会..此时大量买入股票;等到天灾过后;一切恢复正常;股价就会顺理成章地回升;盈利势在必然..因此;当发生“天灾”时;股民应该谨慎观察;认真研究;然后作出是否买入的决定..6、投资性买入投资性买入是指当某只股票具有投资价值后买进该股票..此时并非股价的最低点;也会存在风险;但即使被套牢;坐等分取的股息红利也能和储蓄或其他的债券投资收益相当..另外;投资价值区域内的股票;即使被套;时间一般也不会太长..7、追涨;追涨是一种顺势操作方法;通常是指投资者顺势而为;见涨抢进;以图在更高的价位上卖出获利..这种做法在大势反转向上及多头市场时;大多能轻易获得利润;但在行情末期一旦抢到最高价而不能出手;就会出现亏损累累的局面;因而风险也就较大..二、关于买出的方法1、卖利了结法..所谓“卖利了结”;是指把本金和利润区别对待..具体而言;是把本金部分仍然按此前的操作策略进行投资;不轻易改变其操作模式..利润部分则考虑在市场趋势转坏或获利个股走势发生趋势性转变后迅速卖出了结;第一时间锁定利润..这种做法最大的好处就在于争取更多的主动权..如果卖出后股票出现上涨;本金部分的持仓仍在;可继续获利;而一旦股价转而下跌;本金部分可以迅速平仓..由于先期卖出了利润部分的筹码;提前锁定了收益..2、定点了结法..股市常常出现各种令专家“跌眼镜”的情况;对此;一种使人少伤脑筋的“卖法”就是“定点了结”;即股价升到某一点时便抛出所持股票..当然;这个点不是盲目确定而是根据自己所掌握的情况;进行盈利对比和发展势头等分析工作后确定的..股市中容易使人误入歧途的是“贪念”..原本期望某种股价上升到20元;等股价涨到20元了;又想会不会继续涨至30元呢结果错过时机;股价回跌反被套牢..定点了结法要求必须严格遵守既定的纪律..3、止损了结法..这种操作方法是将所持股票在股价回落到一定点时了结;以停止损失..比如不管股价未来会如何上涨;但只要回跌到此前事先设定的止损区间就即行了结..这种方法对小股民很实用;虽然可能错过了一波大幅上涨的初期阶段;让出了小利;却解决了无法把握股市运行无常带来的潜在巨大损失的可能..4、分批了结法..就是不一次卖光手中股票;分批酌量卖出..这种做法是在自己判断力较弱时;对定点了结法的补充..三、止损方法从大的方面来说;止损有两类方法..第一类是正规止损;就是当买入或持有的理由和条件消失了;这时即使处于亏损状态;也要立即卖出..正规止损方法完全根据当初买入的理由和条件而定;由于每个人每次买入的理由和条件千差万差;因此正规止损方法也不能一概而论..平衡点止损法在后即设立原始止损位;原始止损位可设在距离建仓价格5%-8%的位置..买入后股价上升;便将止损位移至建仓价;这是你的盈亏平衡点位置;即平衡点止损位..依此;投资者可以有效地建立起一个“零风险”的系统;可以在任何时候套现部分盈利或全部盈利..平衡点止损系统建立好以后;下一个目的就是套现平仓..具有很强的技术性;但是不管用什么平仓技术;随着股价上升必须相应地调整止损位置..比如投资者在10元买入;原始止损位设立在9.2元;买入后股价若一路下跌;可在9.2元止损出场;若买入之后股价上扬;平衡点止损在10元附近;股票跌破即可出场;若买入后价位继续上升;可即时调整止损位..如股价上升至12元;可将止损位调整为11元;价格升至13元;止损位也“升”至12元..时间止损法;人们普遍注意空间的止损;而不考虑时间因素..只要价格跌到某个事前设定的价格;就出局;可以通过时间而等待大行情;缺点在于经过了漫长的等待后往往不得已还要止损;既耽误了时间又损失了金钱..为此;需要引入时间止损概念..时间止损是根据交易周期而设计的止损技术;譬如;我们若对某股的交易周期预计为5天;买入后在买价一线徘徊超过5天;那么其后第二天应坚决..从时间止损来看价格或许还没有抵达止损位置;但是持股时间已跨越了时间的界限;为了不扩大时间的损失;此时不妨先出局..技术止损法;在关键的技术位设定止损单;可避免亏损的进一步扩大..技术止损法没有固定的模式..一般而言;运用技术止损法;无非就是以小亏赌大盈..其主要的指标有:1、重要的均线被跌破;2、趋势线的切线被跌破;3、头肩顶、双顶或圆弧顶等头部形态的被跌破;4、上升通道的下轨被跌破;5、缺口的附近被跌破..四、解套方法1、向下差价法;前提:要判断准确后市是向下走势;股票被套后;等反弹到一定的高度;估计见短线高点了;先卖出;待其下跌一段后再买回..通过这样不断地高卖低买来降低股票的成本;最后等总资金补回了亏损;完成解套;并有赢利;再全部卖出..2、向上差价法;前提:要准确判断后市是向上走势;股票被套后;先在低点买入股票;等反弹到一定的高度;估计见短线高点了不一定能够到第一次买入被套的价格;再卖出..通过这样来回操作几次;降低股票的成本;弥补了亏损;完成解套..3、降低均价法;前提:有大量现金并有足够的胆量;股票被套后;每跌一段;就加倍的买入同一只股票;降低平均的价格;这样等股票一个反弹或上涨;就解套出局..这种方法也有人称它为金字塔法..4、单日T+0法;因为股票的价格每天都有波动;那么我们就抓住这些波动来做文章..比如;如果你昨天有100股被套;今天可以先买100股;然后等股价上了;再卖100股;也可以先卖100股;然后等股价下了..再买100股;等今天收盘;你还是100股;但已经买卖过一个或几个来回了..一进一出或几进几出;到收盘数量是和昨天相同的;但是现金增加了;这样就可以降低成本;直到解套..这个方法与向下差价法、向上差价法的区别在于;它是当日就会有向个来回;而向上、向下差价法则不一定是当日操作;可以过几天做一个来回..5、换股法;当你觉得自己的股票实在是没有什么机会了;就选一只与自己的股票价格差不多的;有机会上涨的股票来换;也就是等价或基本等价换入有上涨希望的股票;用后面买入股票的上涨利润来抵消前面买入的股票因下跌而产生的亏损..6、半仓滚动操作法;方法同向下差价法、向上差价法和单日T+0法相同;但不是全仓进出;而是半仓进出..这样做的好处在于可以防止出错;假如你对后市的判断是错误的;还能保证手中有半仓股票半仓现金;处理起来会比较灵活..总而言之;主动解套的方法多种多样;但它的关键或者说中心思路就是要千方百计的降低成本;补回损失;直至赚钱..五、关于自己的资金管理一、简单投入模式:简单投入模式一般来讲是二二配置;就是资金的投入始终是半仓操作;对于任何行情下的投入都保持必要的、最大限度的警惕;始终坚持半仓行为;对于股票市场的风险投资首先要力争做到立于不败之地;始终坚持资金使用的积极主动的权利;在投资一但出现亏损的情况下;如果需要补仓行为;则所保留资金的投资行为也是二二配置;而不是一次性补仓;二二配置是简单投入法的基础模式;简单但具有一定的安全性和可靠性..但二分制的缺点在于投资行为一定程度上缺少积极性..二、合投资模式:复合投资模式的投资方式是比较复杂的;严格讲是有多种层次划分的;但主要有三分制和六分制..1、三分制主要将资金划分为三等份;建仓的行为始终是分三次完成;逐次介入;对于大资金来讲建仓的行为是所判断的某个区域;因此建仓的行为是一个具有一定周期性的行为..三分制的建仓行为一般也保留三分之一的风险资金;相对二分制来讲;三分制的建仓行为更积极一些;在三分制已投入的三分之二的资金建仓完毕并获得一定利润的情况下;所保留的剩余的三分之一的资金可以有比较积极的投资态度..三分制的投资模式并不复杂;比较二分制来说更加科学一些;在投资态度上比二分制更具积极性;但这种积极的建仓行为必须是建立在投资的主体资金获得一定利润的前提下..三分制的缺点在于风险控制相对二分制来讲要低于二分制的风险控制能力..2、六分制是相对结合二分制和三分制的基本特点;积极发挥两种模式的优点而形成的..六分制的建仓行为具体的资金划分如下:六分制将整体投入资金划分为六等份;六等份的资金分三个阶梯..a、第一阶为1单位既占总资金的1/6;b、第二阶梯占2个单位既占总资金的1/3;c、第一阶为3单位既占总资金的1/2..六分制的建仓行为相对比较灵活;是a、b、c三个阶梯的资金的有效组合;可以根据行情的不同按照a、b、ca、c、bb、a、cb、c、ac、a、bc、b、a六种组合使用资金;但在使用过程中不论那一种组合;最后的一组都是风险资金;同时不论在那个阶梯上;资金的介入必须是以每个单位逐次递进..在使用a、b、c三种阶梯的资金的同时也可以在使用b阶的资金用二分制;使用c阶的资金使用三分制;这样就更全面..六分制是一个相对灵活机动、安全可靠的资金投入模式;在投资行为上结合了上面两种方法的优点;但缺点是在使用过程中的程序有些复杂..三、组合资金投资模式;组合资金投资模式与前面所论述的角度不完全一样;严格讲不是以资金量来划分;而是以投资的周期行为来划分资金;主要分为长、中、短周期三种投资模式来决定资金的划分模式..一般现在来讲都是将总体资金划分为4等份;即长、中、短三种资金以及风险控制资金四部分..六、关于风险控制第一、理智操作..在某一只股票获利抛出后或者止损以后;投资者要保持镇定;做适当的等待;不要今天刚一抛出;明天就买入;永远持有股票..这样的操作在市场行情向好时容易获利;但在一旦行情有变化;投资者将面临较大风险..另外;投资者应该在投资操作上;保持独立思考;不要随波逐流;追涨杀跌往往难以获利..第二、准确把握投资机遇;例如;在股票暴跌时;看准潜力股;以低价买进..暴跌往往是由重大利空或者偶然事件造成的;所以投资者在不同的暴跌时期;要采取不同的策略:在大盘相对高点出现的暴跌需要谨慎对待;面对主跌浪或者阴跌很久后出现的暴跌;可以尝试买进;因为很多牛股的机会就是跌出来的..第三、持股种数不宜太多..一般投资者持有的股票品种主要分为两部分:一部分是用于短线操作的激进型投资品种;另一部分是用于中长线投资的稳健型投资品种..如果投资者持有股票种类数过多;在实际操作中容易顾此失彼;特别是在行情突变时;难以及时应变..减少持股的种类数;可以提高快速应变能力;从而抵御风险..第四、灵活控制仓位..在股票投资市场中;仓位越重的投资者;收益可能很大;但承担的风险也越大..当行情出现新变化的时候;大盘有可能选择向下;这个社会重仓投资者有可能面临严重损失..因此;投资者要根据行情的变化决定仓位:在趋势向好时;可以重仓;在行情不稳定时;适当减轻仓位;持有少量的股票进行灵活操作..第五、及时止赢或止损..止赢和止损是控制股票投资风险最有效的两大策略;那么何时要止赢或止损呢一般情况下;当投资者发现股指出现明显破位、技术指标构筑顶部、或者自己的持股利润在大幅减少;甚至已经出现亏损时;就需要采取必要的保护性策略——通过及时止赢来保住赢利成果;通过及时止损来防止损失的进一步扩大..七、投资策略确定投资政策→股票投资分析→确立投资组合→评估业债的过程;股票投资的五大步骤相辅相成;以保证投资者预期目标的实现..股票投资的分析方法主要有如下三种:基本分析法;技术分析法、演化分析法;其中基本分析主要应用于投资标的物的价值判断和选择上;技术分析和演化分析则主要应用于具体投资操作的时间和空间判断上;作为提高证券投资分析有效性和可靠性的重要补充..1基本分析:基本分析法是以传统经济学理论为基础;以企业价值作为主要研究对象;通过对决定企业内在和影响股票价格的宏观经济形势、行业发展前景、企业经营状况等进行详尽分析;以大概测算上市公司的长期投资价值和安全边际;并与当前的股票价格进行比较;形成相应的投资建议..基本分析认为股价波动不可能被准确预测;而只能在有足够安全边际的情况下买入股票并长期持有..主要教材:证券分析等..2技术分析:技术分析法是以传统证券学理论为基础;以股票价格作为主要研究对象;以预测股价波动趋势为主要目的;从股价变化的历史图表入手;对股票市场波动规律进行分析的方法总和..技术分析认为市场行为包容消化一切;股价波动可以定量分析和预测;如道氏理论、波浪理论、江恩理论等..主要教材:证券投资技术分析等..3演化分析:演化分析法是以演化证券学理论为基础;将股市波动的生命运动特性作为主要研究对象;从股市的代谢性、趋利性、适应性、可塑性、应激性、变异性和节律性等方面入手;对市场波动方向与空间进行动态跟踪研究;为股票交易决策提供机会和风险评估的方法总和..演化分析认为股价波动无法准确预测;因此它属于模糊分析范畴;并不试图为股价波动轨迹提供定量描述和预测;而是着重为投资人建立一种科学观察和理解股市波动逻辑的全新的分析框架..主要教材:股市真面目等..股票投资是投资理财的重要手段..股票具有很强的政策性、规范性和技术性;是一项高收益、高风险的投资活动;从投资股票的入门知识开始;用通俗易懂的方式;讲授股票投资最简单、实用的方法;以及如何通过投资股票而赚钱的投资秘诀..只有建立了系统的操盘技术才能在市场里面少吃亏;多赚钱..。
交易系统如何建立建立一个交易系统需要考虑多个方面,包括市场分析、交易策略、风险管理、技术支持等。
下面将详细介绍如何建立一个交易系统。
首先,建立一个交易系统需要进行市场分析。
市场分析是交易系统中最重要的一步,它包括对市场动态、趋势、行情以及市场参与者的分析和研究。
这些信息对于制定交易策略和决策非常重要。
市场分析可以通过技术分析和基本面分析来进行,技术分析主要关注价格走势、形态、指标等技术指标,基本面分析则关注宏观经济数据、公司财报等基本面要素。
其次,建立一个交易系统需要制定交易策略。
交易策略是根据市场分析的结果,制定出的用于买卖交易的规则和方法。
交易策略可以基于技术分析、基本分析或是一种综合的方法。
一个有效的交易策略应该具备市场适应性、稳定性和可执行性。
在制定交易策略时,要考虑交易的目标、时间框架、风险承受能力等因素。
第三,建立一个交易系统需要进行风险管理。
风险管理是交易系统中至关重要的部分,它包括风险评估、风险控制和风险监控。
在交易系统中,风险评估可以通过使用止损和止盈来限制亏损和保护利润。
风险控制是设置风险限额和头寸控制,以确保交易者的资金安全。
风险监控则是对交易策略和头寸的实时监控,及时调整交易决策。
第四,建立一个交易系统需要技术支持。
技术支持是建立一个交易系统不可或缺的部分,它涉及到软件、硬件和网络等方面。
交易软件是进行实时交易和分析的关键工具,交易者需要选择一款稳定、功能强大的交易软件。
硬件方面,交易者要选择一个高性能的电脑和网络,以保证交易的执行速度和稳定性。
最后,建立一个交易系统需要进行回测和优化。
回测是通过历史数据对交易策略进行测试和验证。
交易者可以使用历史数据对交易策略进行模拟交易,并根据模拟交易的结果来评估策略的有效性和盈利能力。
优化是对交易策略进行不断调整和改进,以寻找最佳的交易策略。
交易者可以根据回测结果来调整交易策略的参数、设置和规则。
综上所述,建立一个交易系统需要进行市场分析、制定交易策略、进行风险管理、技术支持和回测优化等多个步骤。
如何建立自己的交易系统之一此帖对有三年以上股龄的人有巨大的帮助系统是什么?在股票市场中交易过两、三年的人,几乎都有一套自己的交易方法。
曾经有一个使用波浪理论的高手和我交流,他说他经常性的能够预测到价格波动的高低点,并且因此而获利。
但是总体上的交易成绩并不是非常理想。
深入交谈以后,我发现他的整体系统存在一些问题。
比如,他不知道当他的预测出现错误的时候,应该如何处理?当得到一个买进信号的时候应该使用多少资金?什么时间应该加仓或者什么时间应该获利了结?在我的大多数学生开始向我学习的时候,几乎都有一些实战经验,事实上,很多人的成绩相当不错。
但是在交易的系统性方面,却有明显的欠缺。
就拿前面的波浪高手来说,他应该认真的问一问自己,如何把所有的事项整理起来?除了市场分析以外,你还缺少什么东西?很显然,是缺少的东西妨碍了你长期稳定的获利。
你的交易方法,是否适合你?它是不是你有能力把握的方法?是否与你的投机目标相吻合?是否与你的个性相吻合?如果你想长期稳定的获利,那么整体的交易应该是一个过程,而绝不是简简单单的一次预测或者一次全仓买入。
其间至少包括:1、如何处理判断失误?1、最大亏损能够被控制在什么范围内?1、什么时间追买?什么时间获利了结?1、市场出现非人力因素,如何处理?1、预期的目标是多少?是否满意?1、当市场价格变化以后,如何修正自己的交易计划?大多数交易者心中都有一个强烈的愿望,就是希望他们的每一次交易都是正确的,但是理智的思考一下,华尔街的顶尖交易员在十年中的平均正确率仅仅是35%左右,你能做到多少?你是否现在就比他们优秀?另一方面,大多数投机者相信有一个通向市场的魔术:一个指标,一个形态,或者一个机械的交易系统,他们还肯定一小部分人正在使用着-------我在网上见过售价24万元的一个公式,据说可以百战百胜--------他们努力的想揭开这个魔术的秘密,从此而获利。
简直是笑话。
市场真的有能够长期稳定的获利的方法吗?正确答案是有,而且答案就在你自己身上。
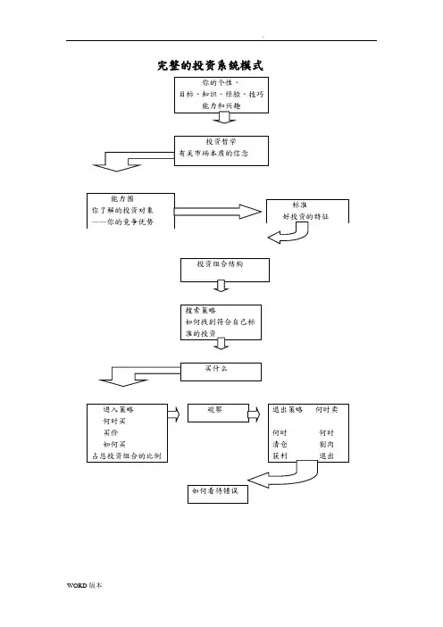
如何建立自己的交易系统与盈利模式?交易系统是符合投资者特点的交易规则体系,应该包括买入法则,卖出法则,止损法则,仓位控制,资金管理和投资策略等。
通过对投资学的学习,首先,我个人应该是更赞同价值投资,因为我没有太多时间看盘,而且交易过的经验证明,中、长线往往比短线收益更大。
根据自己的性格,我作了以下的交易规则:1、以趋势判断,在简单上升趋势中买入。
2、以移动平均线判断,比如,短线交易在5日均线上穿10日和30日均线时买入。
3、以支撑位判断,在前期支撑位附近企稳后可买入。
4、以各种技术指标判断,以KDJ指标为例,当K线向上突破D 线时,即可买进。
这四条原则是买入交易的基本原则,当市场没有出现其中情况之一时,是根本不应考虑买入的。
卖出法则参考买入法则即可。
对于止损,也应有自己的原则。
事实上,谨慎的自救策略的核心在于不让亏损继续扩大。
在任何时候保本都是第一位,赚钱是第二位的,因此止损远比盈利更为重要。
从经验来看,10%定额止损法、趋势止损法、均线止损法、指标止损法等都能较合理地设置止损位,我们可结合自己的操作性格和风格把这几种方法结合起来综合研判,从而确定较为合理的止损位。
另外,“凡事预则立,不预则废”,所有的止损必须在进场之前就进行设定,而且破止损价是我们离场的充分条件。
“留得青山在,不怕没柴烧”,“不怕错,就怕拖”,当价格真实地跌破止损价时,应当按计划实施,无条件离场,而不应当心存侥幸。
关于仓位控制。
总是满仓杀入,又满仓杀出,不能很好的进行调整,失去了很多降低成本的机会,这是不行的,要懂得合理的控制仓位,按自己的交易策略进行买入和卖出。
关于资金管理。
这是交易系统中最基础、最重要的一个环节。
个人以为,真正的投资收益规则是,资金管理影响态度、态度影响分析、分析影响决策、决策影响收益。
学会等待和空仓。
当市场按照交易者的判断发展的时候,就不需要做什么,耐心看着就可以。
所以,必须明白:交易的行为只是一瞬间的事情,一年二百多个交易日,真正交易的时候,可能只有几个小时,其他都是漫长而寂寞的等待。
如何建立自己的交易体系?建立交易体系,本质上只有三个步骤。
但凡把这三个步骤想明白的,交易体系就自然而然地建立好了。
这三个步骤分别是,买什么,怎么买,怎么卖。
股票交易,万变不离其宗,无非就是找一个合适的投资标的,通过买入和卖出,赚取价格差。
那些说买入后长期持有,无非就是把买卖周期拉长,最终的交易逻辑,还是一样的。
当你想明白了这三件事的时候,交易体系自然而然地就建立起来了。
但这三个步骤,肯定没有我们想象中的那么简单,需要通过千锤百炼,不断摸索才行。
很多投资者不断地在这三点上徘徊、犹豫、彷徨,以至于经历了五年,十年,还没有打磨出属于自己的交易系统。
所以,我们必须明确整个交易系统建立的步骤,并且想方设法进行固化,才能慢慢打磨完善。
步骤1、买什么。
所谓的买什么,其实就是选股思路。
两市一共4000多家上市公司,你只需要选出其中的一只优秀的股票,理论上就可以赚到钱了。
而4000多家上市公司,每天至少有几十家涨停,如何把这些个股给找出来,收入囊中。
即便行情很差,每天也都会有几百家上涨,占比其实也不小。
那么,如何找到那部分会上涨,甚至是大涨的股票,就成了问题的关键。
但是,从交易体系的角度来看,选股的思路并不是千篇一律的。
并不是别人选的个股,就一定是符合你交易体系选的个股,一定是不一样的。
别人想做短线,今天买明天就卖,你想做长线,今天买了,过几年才卖。
别人看业绩,是想做长线,你看业绩,却想着做短线。
选股的策略千变万化,每个人的想法都不同,所以肯定没有固定公式。
但从选股策略上来讲,或者说从历史的上涨规律来看,最终都归结到了这一点上,就是资金。
业绩好的股票,出现了长期上涨,是因为业绩优异,吸引了资金买入。
题材好的股票,出现了短线上涨,是因为题材的想象空间大,吸引了资金买入。
一些妖股出现暴涨,是因为股票本身的上涨,带来了赚钱效应,吸引了资金买入。
本质上,所有的上涨都是资金推动的,只不过是资金寻找的理由,各不相同。
你可以选择跟资金一样,去找理由,比如寻找题材,研究业绩。
每一个优秀交易员注定是孤独的。
他的交易系统,是对交易与市场的理解、对自身认识的综合体现,也体现了理念与信仰,还有性格。
这不是其他人能学到和理解得了的。
我试试,能写多少就写多少,助人也自助。
人,是受自己的认知所局限的。
婴儿是从学步开始,然后才会跑。
交易系统的构建,我们就从白纸开始勾画。
普及几个基本常识:1、正规的金融市场:国内,散户能够接触到的,只有上海、深圳两个证券市场,大连、郑州、上海(2个)四个期货市场,以及上海黄金交易所。
其他现货、外汇之类的均属于非合法。
国际,香港HKEX,美国CME,伦敦LME,韩国KSE,新加坡SGX。
如果不是在正规的交易市场上,连本金都无法保证安全,也谈不上什么交易为生了。
2、好的工具带来成功率的提升:期货方面,机构户尽量用wind,万得里面有大量的数据以及各个券商、期货公司的研究报告,对于市场深度分析非常有用,我每天提供给客户的资金流报告就从中提取。
散户,常用的文华,备用的博弈大师。
证券方面,如果带香港的,那么腾讯旗下的富途是不错的选择。
3、信息来源与途径:目前微信反倒成了较好的来源地,公众号关注的有中国粮油、范德依彪、芝商所CMEGroup、期货日报、占豪、扑克投资家、付鹏的财经世界之全球宏观策略对冲、血饮、NEO、米联储、天上不会掉馅饼。
扑克投资家里面有每个品种的详细报告,也可以作为学习对象来认真研究,只是信息的实时性就没有万得那么好。
中国期货业协会、证券业协会本身有培训学苑,虽然沉闷,但是正统,耐得住寂寞与沉闷,能在市场上少交学费就值。
如果考证来检验自己更好。
4、学习的书本:尽量多学习。
金融市场上,学的越广越深,比别人多些优势,直接可以转化为金钱,这也体现了公平。
眼界越开阔,眼光越长远,这个世界的机会越多。
而书本就是我们登高望远的阶梯。
看成功人写的书,那是经验之谈,比如穷查理宝典、十年一梦、投资最重要的事。
以及专业书籍,大部头学的人越少意味着你的竞争对手越少,其中的红利越大。